Q124783B09 - 第108页
挿入ユニット駆動部 INSERTION U NIT DRIVING SECT. 7 F10871-23-000-AF_0 1 M91

PART NAME
REMARKS
Q'TY
6
挿入ユニット部(2)
INSERTION UNIT SECT.(2)
イラスト
No.
REF
No.
PART No.
部 品 品 番 個数 備 考
R
1
R
2
1002 102031200108
CAM(SLIDE) カム(スライド)
1
004 102031203802
GUIDE ガイド
1
005 102031201302
PLATE(GUIDE) プレート(ガイド)
1006 104131000602
PLATE(GUIDE) プレート(ガイド)
1008 1087110008
BASE(GUIDE) ベース(ガイド)
1
009 1020312007
PIN ピン
1
010 1083510009
LEVER レバー
1011 1087110011
SPRING バネ
1012 1020312022
ROLLER ローラ
1
013 1083510012
PIN ピン
1014 1020312024
PIN ピン
1016 108351000501
BLOCK(R) ブロック(R)
1
019 108711001901
PUSHER プッシャ
1
021 1087110021
GUIDE ガイド
1023 104131002302
CUTTER(RIGHT) カッター(RIGHT)
1024 108711002401
CUTTER(FIXED) カッター(コテイ)
1
025 1083510014
PIN ピン
1
026 1083510015
PIN ピン
1028 1041310029
BRACKET ブラケット
1029 1020719803
PIN ピン
1
030 1045418014
SPRING バネ
1
032 1020312049
CAM(SLIDE) カム(スライド)
1034 N210028286AA
BENDING DIE ベンディングダイ
D3
1
N001
N506D3
STEEL BALL コウキュウ
3,STEEL,P.C
9
N002
XUC3FP
RETAINING RING E-TYPE E ガタトメワ
1.5,STEEL,P.C
1
N003
XUC15FP
RETAINING RING E-TYPE E ガタトメワ
M3
2
N004
N986YYYY-186
WASHER ザガネ
2X5,m6A,STEEL
1
N005
XPJ2A5FW
PARALLEL PIN ヘイコウピン
M90
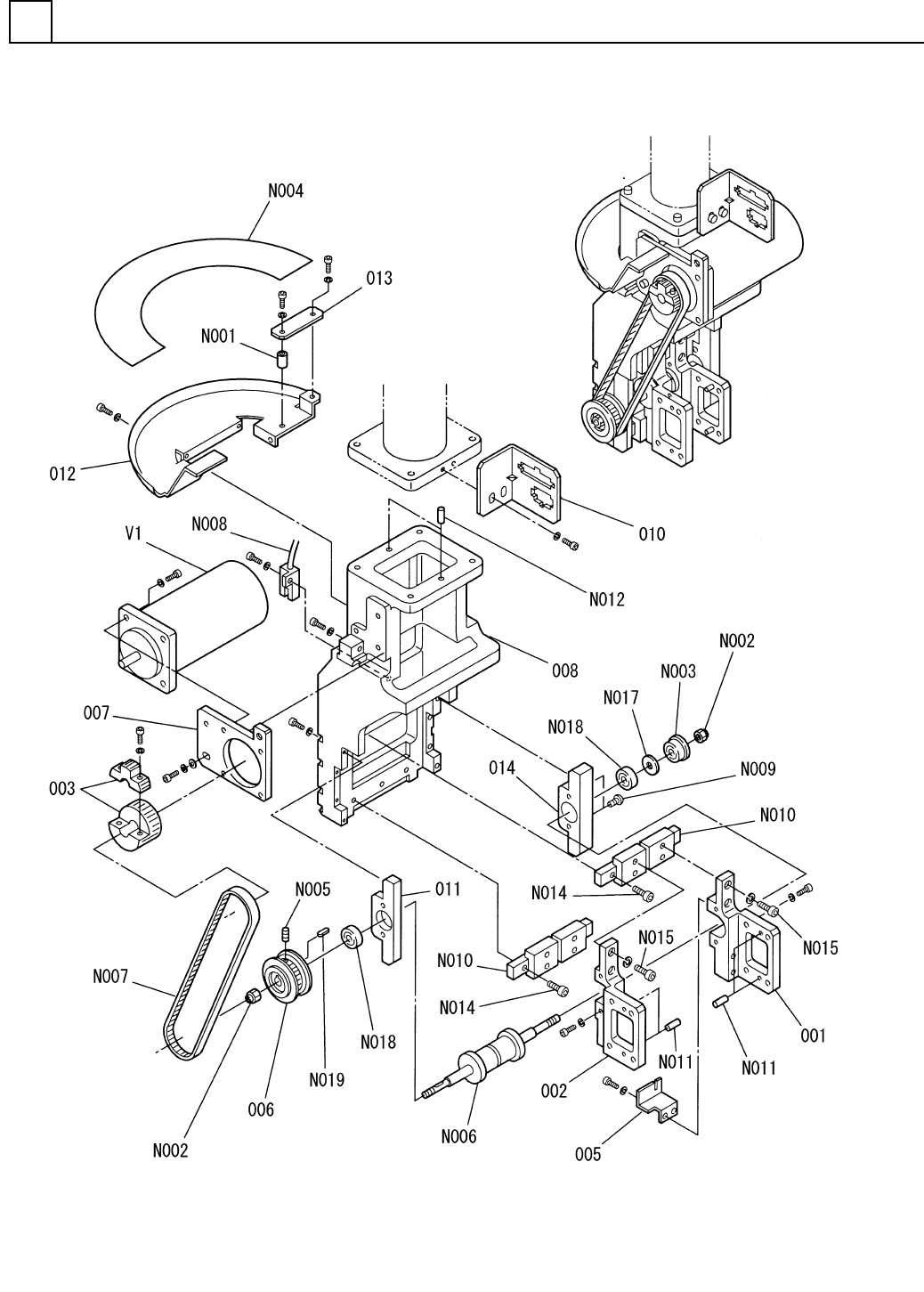
F10871-10-000-AB_01-2

挿入ユニット駆動部
INSERTION UNIT DRIVING SECT.
7
F10871-23-000-AF_01
M91

PART NAME
REMARKS
Q'TY
7
挿入ユニット駆動部
INSERTION UNIT DRIVING SECT.
イラスト
No.
REF
No.
PART No.
部 品 品 番 個数 備 考
R
1
R
2
1 1087123000
INSERTION UNIT DRIVING UNIT ソウニュウユニットクドウ ブ
1
001 108712300101
HOUSING ハウジング
1
002 108712300201
HOUSING ハウジング
1003 108712300302
PULLEY プーリー
1005 1087123005
DOG FOR SENSOR ドグ
1
006 108712300602
PULLEY プーリー
1
007 108712300702
PLATE プレート
1008 108712300804
FRAME フレーム
1010 108712301004
BRACKET(CONNECTOR) ブラケット(コネクタ)
1
011 108712301102
BRACKET ブラケット
1012 108712301202
PLATE プレート
1013 108712301301
BRACKET ブラケット
1
014 108712301401
BRACKET ブラケット
NCLM5-8-10
1
N001
N560NCLM-259
COLLAR カラー
M5,2-TYPE,STAINLESS,ST
2
N002
XNGNU5YFZ
LOCK-NUT ロックナット
F605ZZ
1
N003
XLCNF605ZZ
BALL BEARING ボールベアリング
HMW-TAP-WER NO4
1
N004
N986HMWT-179
ADHESIVE TAPE ネンチャクテープ
M3X6,STEEL,P.C
1
N005
XXE3C6FP
HEX. SOCKET SET SCREW ロッカクアナツキトメネジ
MBF0602RL-2.7RRGT+107L
1
N006
N510009595AA
BALL SCREW ボールネジ
315 3GT-6
1
N007
N6413153GT6
BELT(TIMING) ベルト(タイミング)
P914SA1
1
N008
N310P914SA1
SENSOR センサ
M3X6,+,STEEL,Z.C.T
2
N009
XST3+6FY
TRUSS HEAD SCREW トラスコネジ
2RSR7MUUC1S+65LPMS
2
N010
N5132RSR-A63
LINEAR MOTION UNIT リニアモーションユニット
3X8,A-TYPE
4
N011
N986YYYY-508
PARALLEL PIN ヘイコウピン
4X10,A-TYPE
2
N012
N986YYYY-509
PARALLEL PIN ヘイコウピン
M2X8,STEEL,P.C
6
N014
XVE2B8FP
HEX. SOCKET HEAD CAP BOLT ロッカクアナツキボルト
M2X4,STEEL,P.C
8
N015
XVE2B4FP
HEX. SOCKET HEAD CAP BOLT ロッカクアナツキボルト
CIMRB10-14-0.05
1
N017
N986C1MR-T56
RING リング
605ZZ
2
N018
XLCN605ZZ
BALL BEARING ボールベアリング
2X2X6,PARALLEL,B.S.R
1
N019
XPA2L2F6
SUNK KEY シズミキー
MSM5AZAJA S
1V 1 308712300201
MOTOR モータ
M92
F10871-23-000-AF_01