Q124783B09 - 第123页
PART NAME REMARKS Q'TY 10 下部アンビル部(1) UNDER ANVIL SECT.(1) イラスト No. REF No. PART No. 部 品 品 番 個数 備 考 R 1 R 2 1 1087112000 UNDER ANVIL UNIT カブアンビルユニット 1 001 104131200103 LEVER レバー 1 002 1041312002 PIN ピン 1 003 108…

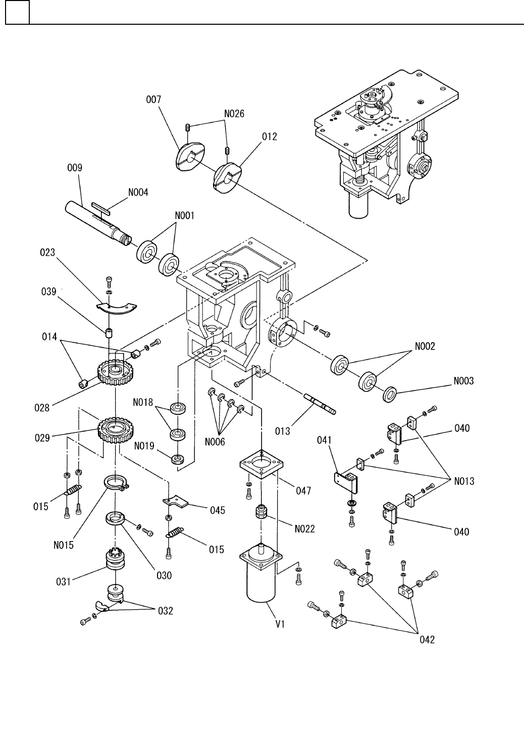
下部アンビル部(1)
UNDER ANVIL SECT.(1)
10
F10871-12-000-AF_02-1
M105

PART NAME
REMARKS
Q'TY
10
下部アンビル部(1)
UNDER ANVIL SECT.(1)
イラスト
No.
REF
No.
PART No.
部 品 品 番 個数 備 考
R
1
R
2
1 1087112000
UNDER ANVIL UNIT カブアンビルユニット
1
001 104131200103
LEVER レバー
1
002 1041312002
PIN ピン
1003 1087109048
COLLAR カラー
1004 102460901701
COLLAR カラー
2
006 102460903701
PIN ピン
1
010 104131201001
SHAFT シャフト
2011 104131201101
COLLAR カラー
1016 1046912016
PIN ピン
1
017 104131201703
LEVER レバー
1018 108711201804
FRAME フレーム
1019 1087112019
PIN ピン
1
020 104131202002
SPRING バネ
1
021 1087112021
PIN ピン
1024 104131202403
SPRING バネ
1026 104131202603
COLLAR カラー
1
027 108711202702
FLANGE(ANVIL) フランジ(アンビル)
2
033 1087112033
BUSHING ブッシュ
1035 1087112035
ROD ロッド
1036 104131203601
SHAFT シャフト
1
037 108711203702
PLATE プレート
1
043 1087112043
PIN ピン
1044 1087112044
PIN ピン
1046 108711204603
UNDER ANVIL アンビル(アンダー)
1
048 1087112048
PLATE プレート
1049 1087112049
BRACKET ブラケット
1050 108711205002
BRACKET ブラケット
1
051 108711205102
COVER カバー
6X12,A-TYPE
2
N008
N986YYYY-510
PARALLEL PIN ヘイコウピン
NART10R-040010
2
N009
N531NART-016
ROLLER FOLLOWER ローラフォロア
10X30,m6A,STEEL
2
N011
XPK10A30FW
PARALLEL PIN ヘイコウピン
NGA-6075S
2
N014
N510022291AA
GREASE NIPPLE グリースニップル
8X7X18,STEEL,PARALLEL,
1
N016
XPA8L7F18
SUNK KEY シズミキー
CF6RA-840178
4
N017
N531CF6R-015
CAM FOLLOWER カムフォロア
6003ZZ
4
N018
XLC6003ZZ
BALL BEARING ボールベアリング
12,STEEL,P.C
1
N020
XUB12FP
RETAINING RING C-TYPE C ガタジクヨウトメワ
6201ZZ
1
N021
XLC6201ZZ
BALL BEARING ボールベアリング
SRW16
1
N024
KXF03KJAA00
WASHER ザガネ
K5B0806
4
N025
N510022568AA
BUSHING ブッシュ
M106
F10871-12-000-AF_02-1

下部アンビル部(2)
UNDER ANVIL SECT.(2)
10
F10871-12-000-AF_02-2
M107