Q124783B09 - 第125页
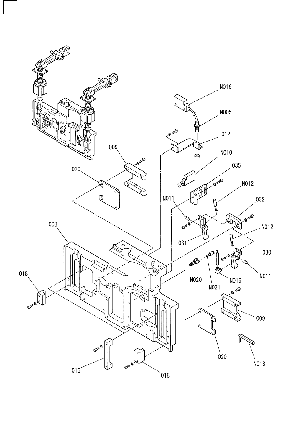
PART NAME REMARKS Q'TY 10 下部アンビル部(2) UNDER ANVIL SECT.(2) イラスト No. REF No. PART No. 部 品 品 番 個数 備 考 R 1 R 2 1 007 108711200704 CAM カム 1 009 108711200902 SHAFT シャフト 1 012 108711201204 CAM カム 1 013 1041312013 SHAFT シャ…

下部アンビル部(2)
UNDER ANVIL SECT.(2)
10
F10871-12-000-AF_02-2
M107

PART NAME
REMARKS
Q'TY
10
下部アンビル部(2)
UNDER ANVIL SECT.(2)
イラスト
No.
REF
No.
PART No.
部 品 品 番 個数 備 考
R
1
R
2
1007 108711200704
CAM カム
1
009 108711200902
SHAFT シャフト
1
012 108711201204
CAM カム
1013 1041312013
SHAFT シャフト
1014 104131201402
COTTER コッタ
2
015 1041312015
SPRING バネ
1
023 1087112023
DOG FOR SENSOR センサドグ
1028 104131202801
GEAR ギヤー
1029 104131202901
GEAR ギヤー
1
030 N210027746AA
RING リング
1031 1087112031
NUT ナット
1032 1083513040
GUIDE ガイド
2
039 1041312039
SPACER スペーサ
2
040 108711204001
BRACKET ブラケット
1041 1087112041
BRACKET ブラケット
3042 1015808003
BLOCK ブロック
1
045 104131204501
PLATE プレート
1
047 1046912047
BRACKET ブラケット
6206ZZ
2
N001
XLC6206ZZ
BALL BEARING ボールベアリング
6205ZZ
2
N002
XLC6205ZZ
BALL BEARING ボールベアリング
FU05SC
1
N003
KXF0239AA00
LOCK-NUT ロックナット
8X7X63,STEEL,PARALLEL,
1
N004
XPA8L7F63
SUNK KEY シズミキー
6,STEEL,P.C
4
N006
XUC6FP
RETAINING RING E-TYPE E ガタトメワ
EE-SPX403+EE-1006
3
N013
N310EESP-051
SENSOR センサ
50,STEEL,P.C
1
N015
XUB50FP
RETAINING RING C-TYPE, SHAF C ガタジクヨウトメワ
6003ZZ
2
N018
XLC6003ZZ
BALL BEARING ボールベアリング
FU03SC
1
N019
N510003047AA
NUT ナット
N-14-19
1
N022
N644N1419
COUPLING カップリング
M8X10-45H A2J (Trivale
2
N026
N510018455AA
SET SCREW ロッカクアナツキトメネジ
MSM082AJA S
1V 1 308712200101
MOTOR モータ
M108
F10871-12-000-AF_02-2

テ-プカッタ部(1)
TAPE CUTTER SECT.(1)
11
F10871-18-000-AJ_01-1
M109