Q124783B09 - 第140页
プリント基板搬送部(2) P.C.B. TRAN SFER SECT.-2 15 F10871-06-000-AB_A -2 M123

PART NAME
REMARKS
Q'TY
15
プリント基板搬送部(1)
P.C.B. TRANSFER SECT.-1
イラスト
No.
REF
No.
PART No.
部 品 品 番 個数 備 考
R
1
R
2
1 1087106000
P.C. BOARD TRANSFER UNIT プリントキバンハンソウユニット
1
1 1022406534
PULLEY(TIMING) プーリー(タイミング)
1
2 104140600201
PIN ピン
13 1041406003
SHAFT シャフト
14 104140600401
COLLAR カラー
1
5 104140602501
PLATE プレート
1
6 1041406006
BELT(TIMING) ベルト(タイミング)
112 1046906012
PLATE プレート
115 104140602006
BRACKET ブラケット
1
18 104690601901
PLATE プレート
CDQ2B20-20DC-A73
1N 1 N401CDQ2-418
CYLINDER シリンダ
FUN-008-SS
1N 2 XNRNFUN008SS
LOCK-NUT ロックナット
698ZZ
2
N 3 XLC698ZZ
BALL BEARING ボールベアリング
RB0806
1
N 4 N437RB0806
SHOCK-ABSORBER ショックアブソーバー
P914S1
3N 6 N310P914S1
SENSOR センサ
6902ZZ
1N10 XLC6902ZZ
BALL BEARING ボールベアリング
CB5-60
1
N11 N986CB560
BOLT ボルト
M5X20,STEEL,P.C
1
N13 XXE5C20FP
HEX. SOCKET SET SCREW ロッカクアナツキトメネジ
M5,1-TYPE,STEEL,Z.C.T
1N14 XNG5AFY
HEXAGON NUT ロッカクナット
KQ2H06-M5
2N15 N431KQ2H06M5
FITTING ツギテ
R4X0.5
2
N16 N473R40.5
ORIFICE RING オリフィスリング
D-A73
2
V 1 N401DA73
SENSOR センサ
M122
F10871-06-000-AB_A-1

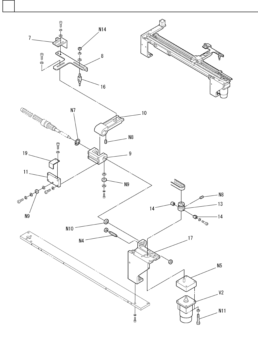
プリント基板搬送部(2)
P.C.B. TRANSFER SECT.-2
15
F10871-06-000-AB_A-2
M123

PART NAME
REMARKS
Q'TY
15
プリント基板搬送部(2)
P.C.B. TRANSFER SECT.-2
イラスト
No.
REF
No.
PART No.
部 品 品 番 個数 備 考
R
1
R
2
17 104690600701
BRACKET ブラケット
1
8 1087106008
BRACKET ブラケット
1
9 104140601002
BLOCK ブロック
110 104140601101
LEVER レバー
111 1046906011
RACK ラック
1
13 1041406014
PULLEY(TIMING) プーリー(タイミング)
1
14 199950300101
COTTER コッタ
D=3.60-D=4.0
116 1010244015
PIN ピン
117 108710601702
BRACKET ブラケット
1
19 1046906020
DOG FOR SENSOR センサドグ
RB0806
1N 4 N437RB0806
SHOCK-ABSORBER ショックアブソーバー
M8GB3B22
1N 5 M8GB3B22
GEAR HEAD ギヤーヘッド
35,STEEL,P.C
1
N 7 XUA35FP
RETAINING RING C-TYPE, CORE C ガタアナヨウトメワ
M4X10,STEEL,P.C
2
N 8 XXE4C10FP
HEX. SOCKET SET SCREW ロッカクアナツキトメネジ
696ZZ
2N 9 XLC696ZZ
BALL BEARING ボールベアリング
6902ZZ
1N10 XLC6902ZZ
BALL BEARING ボールベアリング
CB5-60
4
N11 N986CB560
BOLT ボルト
M5,1-TYPE,STEEL,Z.C.T
1
N14 XNG5AFY
HEXAGON NUT ロッカクナット
M8MA40GB4Y1 S
1V 2 308380600102
MOTOR モータ
M124
F10871-06-000-AB_A-2