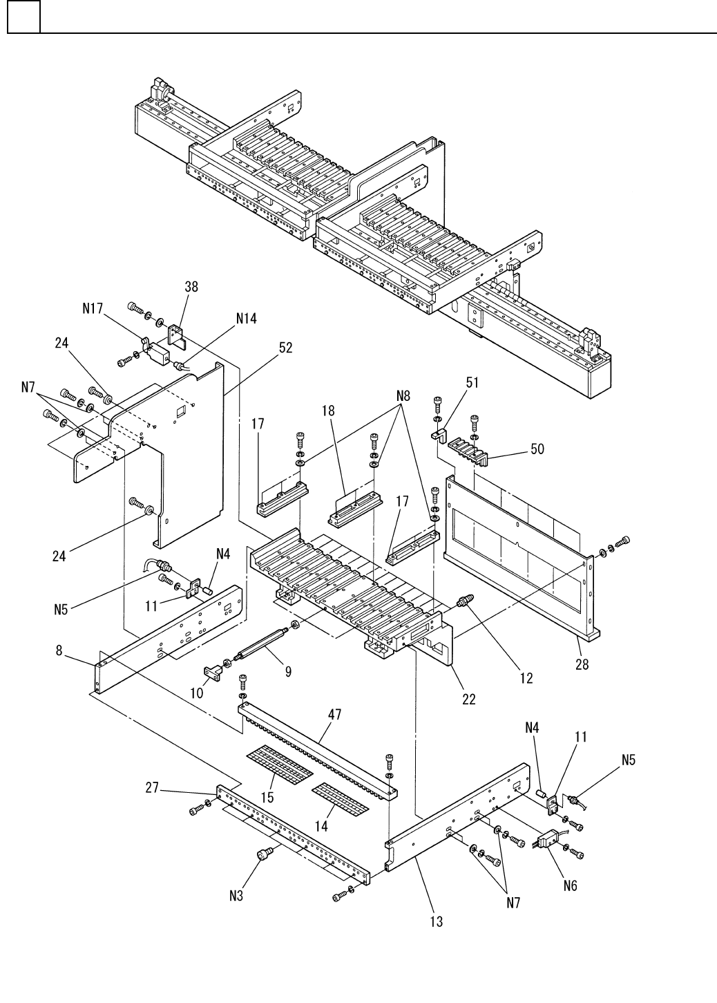
Q124783B09 - 第151页
PART NAME REMARKS Q'TY 18 部品供給部 (3) FEEDER CARR IAGE SECT.(3) イラスト No. REF No. PART No. 部 品 品 番 個数 備 考 R 1 R 2 1 8 104690700803 BRACKET ブラケット 3 9 102070708701 ROD ロッド 3 10 104690701001 BRACKET ブラケット 2 11 10469070…

部品供給部(3)
FEEDER CARRIAGE SECT.(3)
18
F10871-07-000-AH-3
M133

PART NAME
REMARKS
Q'TY
18
部品供給部(3)
FEEDER CARRIAGE SECT.(3)
イラスト
No.
REF
No.
PART No.
部 品 品 番 個数 備 考
R
1
R
2
18 104690700803
BRACKET ブラケット
3
9 102070708701
ROD ロッド
3
10 104690701001
BRACKET ブラケット
211 1046907012
PLATE プレート
1512 1083807012
PIN ピン
1
13 1087107013
BRACKET ブラケット
1
14 1020707082
LABEL ラベル
115 102070708301
LABEL ラベル
217 102070710101
RAIL(GUIDE) レール(ガイド)
14
18 102070710001
RAIL(GUIDE) レール(ガイド)
122 1083807022
FRAME (R) フレーム(R)
524 1023871963
COLLAR カラー
1
27 104690703201
PLATE プレート
1
28 104690703405
BRACKET ブラケット
138 108710703802
DOG FOR SENSOR ドグ
147 1046907055
BLOCK ブロック
5
50 1046907060
GUIDE ガイド
1
51 1046907061
BRACKET ブラケット
152 108710705201
PLATE(L) プレート(L)
CF4-A
6N 3 N531CF4A
CAM FOLLOWER カムフォロア
FP1-A01
1
N 4 N310FP1A01
ATTACHMENT アタッチメント
EP1-321
1
N 5 N310EP1321
OPTICAL FIBER CABLE UNIT ファイバーユニット
PK7-CR-E1
1N 6 N310PK7CRE1
AMPLIFIER FOR SENSOR アンプユニット
8,STEEL,P.C
8N 7 XWE8FP
ROUND PLAIN WASHER コガカマルヒラザガネ
5,STEEL,Z.C.T
48
N 8 XWE5FY
ROUND PLAIN WASHER コガタマルヒラザガネ
V-M20
1N14 N348VM20
CONNECTOR コネクタ
AT0-11-S-I/R S
1N17 N300AT011S1R
SWITCH スイッチ
M134
F10871-07-000-AH-3

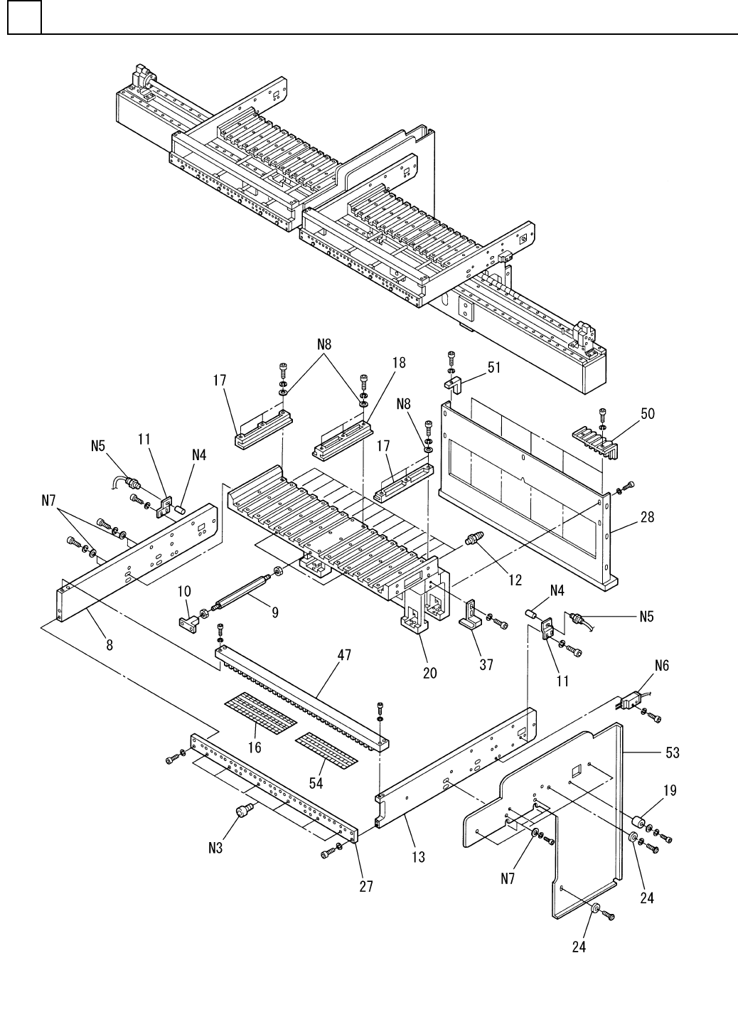
部品供給部(4)
FEEDER CARRIAGE SECT.(4)
18
F10871-07-000-AH-4
M135