Q124783B09 - 第155页
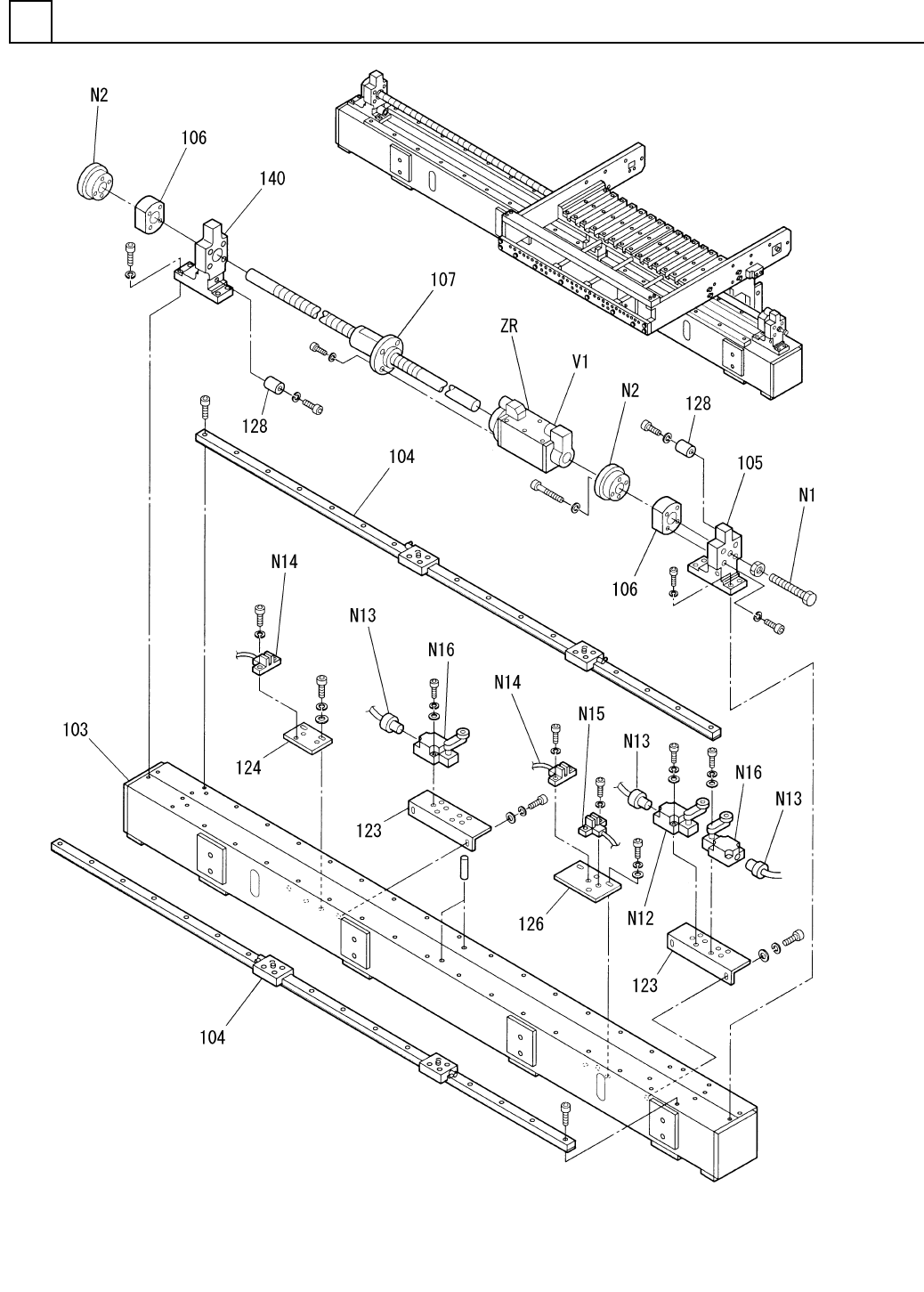
PART NAME REMARKS Q'TY 18 部品供給部 (1) FEEDER CARR IAGE SECT.(1) イラスト No. REF No. PART No. 部 品 品 番 個数 備 考 R 1 R 2 1 1087107100 SUPPLY UNIT キョウキュウユニット 1 103 1087107103 CROSS BEAM クロスビーム 2 104 1087107104 LINEAR MOTIO N …

部品供給部(1)
FEEDER CARRIAGE SECT.(1)
18
F10871-07-100-1
M137

PART NAME
REMARKS
Q'TY
18
部品供給部(1)
FEEDER CARRIAGE SECT.(1)
イラスト
No.
REF
No.
PART No.
部 品 品 番 個数 備 考
R
1
R
2
1 1087107100
SUPPLY UNIT キョウキュウユニット
1
103 1087107103
CROSS BEAM クロスビーム
2
104 1087107104
LINEAR MOTION UNIT リニアモーションユニット
1105 104690700501
BRACKET ブラケット
2106 1046907006
HOLDER ホルダ
1
107 1087107107
BALL SCREW ボールネジ
2
123 108710702901
PLATE プレート
1124 108710703001
PLATE プレート
1126 108710703503
PLATE プレート
2
128 1046907046
STOPPER ストッパー
1140 1087107140
BRACKET ブラケット
M10X90,STEEL,P.C
1
N 1
XVEN10890FPZ
HEX. SOCKET HEAD CAP BOLT ロッカクアナツキボルト
MA-40
2
N 2
N645MA40
COUPLING カップリング
AT0-20-1-I/R S
1
N 12
N300AT02011R
SWITCH スイッチ
V-M20
3
N 13
N348VM20
CONNECTOR コネクタ
P921SA1
2
N 14
N310P921SA1
SENSOR センサ
P921S1
1
N 15
N310P921S1
SENSOR センサ
AT0-11-S-I/R S
2
N 16
N300AT011S1R
SWITCH スイッチ
MFA250LE4NSJ S
1V 1 308380701202
MOTOR モータ
M138
F10871-07-100-1

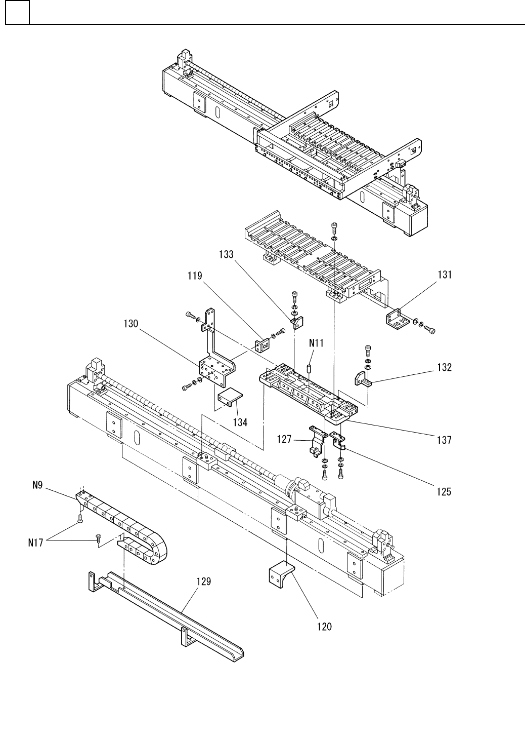
部品供給部(2)
FEEDER CARRIAGE SECT.(2)
18
F10871-07-100-2
M139