Q124783B09 - 第219页
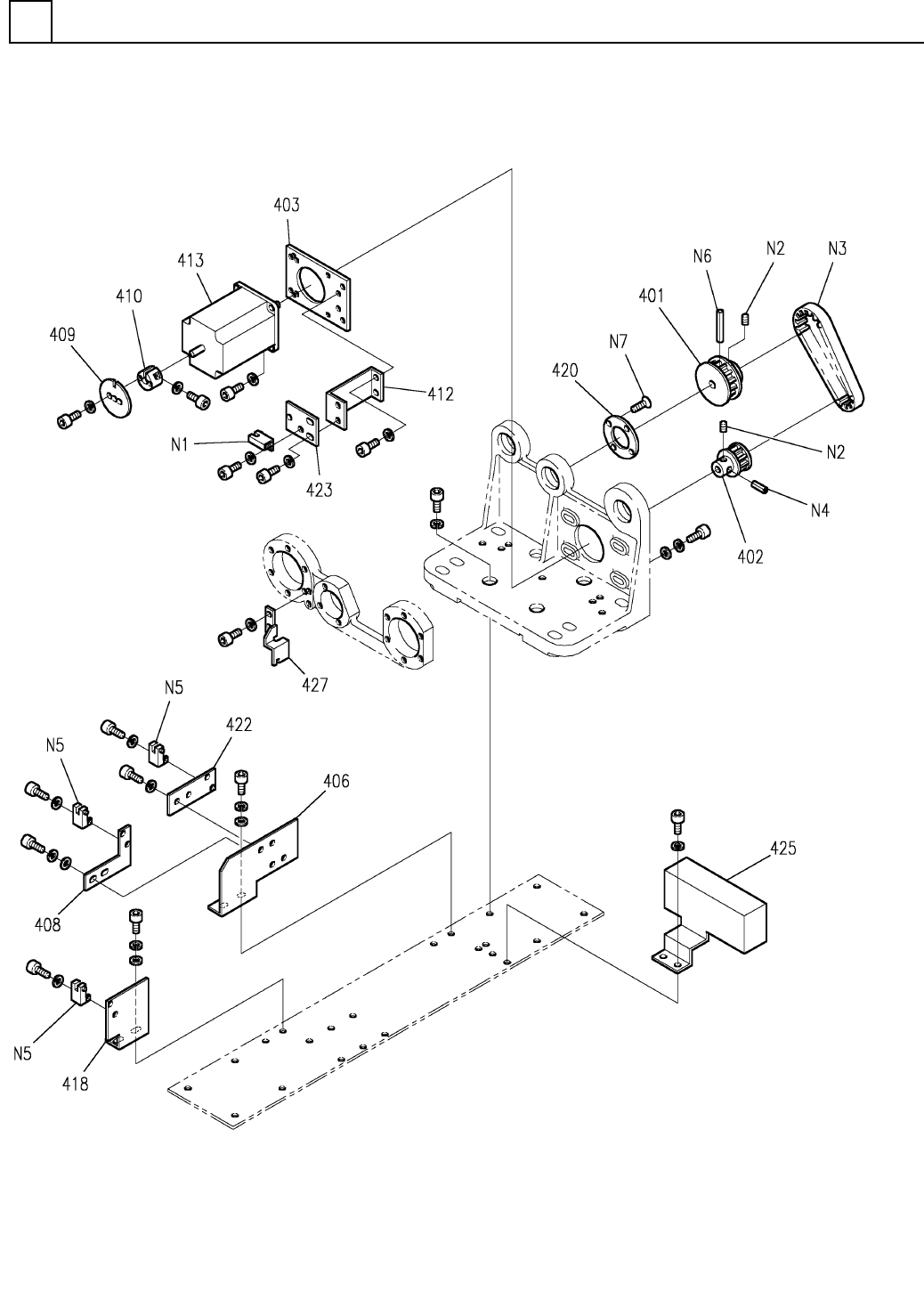
PART NAME REMARKS Q'TY 23 ローダ・アンローダ 部 (自動幅寄せ部 2) LOADER & UN LOADER SECT.(AUTO WIDTH CONTROL SEC T.-2) イラスト No. REF No. PART No. 部 品 品 番 個数 備 考 R 1 R 2 1 401 101135550801 PULLEY(TIMIN G) プーリー(タイミング) 1 402 10…

ローダ・アンローダ部(自動幅寄せ部2)
LOADER & UNLOADER SECT.(AUTO WIDTH CONTROL SECT.-2)
23
F10835-05-400-2
M201

PART NAME
REMARKS
Q'TY
23
ローダ・アンローダ部(自動幅寄せ部2)
LOADER & UNLOADER SECT.(AUTO WIDTH CONTROL SECT.-2)
イラスト
No.
REF
No.
PART No.
部 品 品 番 個数 備 考
R
1
R
2
1401 101135550801
PULLEY(TIMING) プーリー(タイミング)
1
402 1017377102
PULLEY(TIMING) プーリー(タイミング)
1
403 1017377103
PLATE プレート
1406 1099705406
BRACKET ブラケット
FOR UNLOADER
1408 1017377108
BRACKET ブラケット
1
409 101737710902
PLATE プレート
1
410 101737421301
GUIDE ガイド
1412 101737711201
BRACKET ブラケット
1413 1083505413
MOTOR モータ
1
418 1099705418
BRACKET ブラケット
1420 1017377120
PLATE プレート
FOR UNLOADER
1422 1017377122
PLATE プレート
1
423 1017377123
PLATE プレート
1
425 1099705425
COVER カバー
1427 1099705427
PLATE プレート
P914SA1
1N 1 N310P914SA1
SENSOR センサ
M4X5,STEEL,P.C
2
N 2 XXE4C5FP
HEX. SOCKET SET SCREW ロッカクアナツキトメネジ
T5-10-50
1
N 3 N641T51050
BELT(TIMING) ベルト(タイミング)
2X16,STEEL
1N 4 XPL2A16WFW
SPRING PIN スプリングピン
P914S1
3N 5 N310P914S1
SENSOR センサ
2X35,STEEL
1
N 6 XPL2A35WFW
SPRING PIN スプリングピン
M4X8,+,STEEL,Z.C.T
4
N 7 XSS4+8FY
FLUSH HEAD SCREW サラコネジ
M202
F10835-05-400-2

ローダ・アンローダ部(P-PUSH<M,LL>取付部)
LOADER & UNLOADER SECT.(P-PUSH<M,LL> ATTACHMENT SECT.)
23
F10871-05-200_A
M203