Q124783B09 - 第32页
カバ-部(4) COVER SECT. (4) 2 F10871-02-000-AJ_0 1-4 M15

PART NAME
REMARKS
Q'TY
2
カバ-部(3)
COVER SECT.(3)
イラスト
No.
REF
No.
PART No.
部 品 品 番 個数 備 考
R
1
R
2
1005 108710200502
SIDE COVER (L) サイドカバー(L)
1
006 1087102006
TOP COVER トップカバー
1
007 108710200702
SIDE COVER (R) サイドカバー(R)
1039 1087102039
REAR COVER カバー(REAR)
1040 108710204002
REAR COVER カバー(REAR)
1
064 1087102064
BRACKET ブラケット
A-1191-2-B
3
N003
N980A11912B
DRAWER PULL トッテ
C-30-CS-4
2
N004
N980C30CS4
RUBBER ゴム
4715KL-05W-B20-P00
2
N005
N2384715-093
FAN WITH MOTOR ファンモータ
M5X6,+,STEEL,Z.C.T
8
N009
XST5+6FY
TRUSS HEAD SCREW トラスコネジ
5,B-TYPE,STEEL,Z.C.T
38
N010
XWC5BFY
TOOTHED LOCK WASHER ハツキザガネ
4,B-TYPE,STEEL,Z.C.T
28
N011
XWC4BFY
TOOTHED LOCK WASHER ハツキザガネ
M4,1-TYPE,STEEL,Z.C.T
16
N014
XNG4AFY
HEXAGON NUT ロッカクナット
M4X10,+,STEEL,Z.C.T
4
N019
XST4+10FY
TRUSS HEAD SCREW トラスコネジ
M4X6,+,STEEL,Z.C.T
12
N021
XST4+6FY
TRUSS HEAD SCREW トラスコネジ
C-30-CS-5
4
N022
N980C30CS5
RUBBER ゴム
PG-47-02(8130)
4
N027
N238PG47-091
COVER(FAN) カバー(ファン)
M4X12,+,STEEL,Z.C.T
16
N028
XST4+12FY
TRUSS HEAD SCREW トラスコネジ
E02S130035
1
N033
N263E02S-114
GASKET ガスケット
JB-AM5X8
23
N035
N986JBAM58
BOLT ボルト
M5X12
23
N036
N986YYYY-814
CAP キャップ
C-30-BW-25-2,WHITE
1
N042
N980C30B-120
GROMMET グロメット
M14
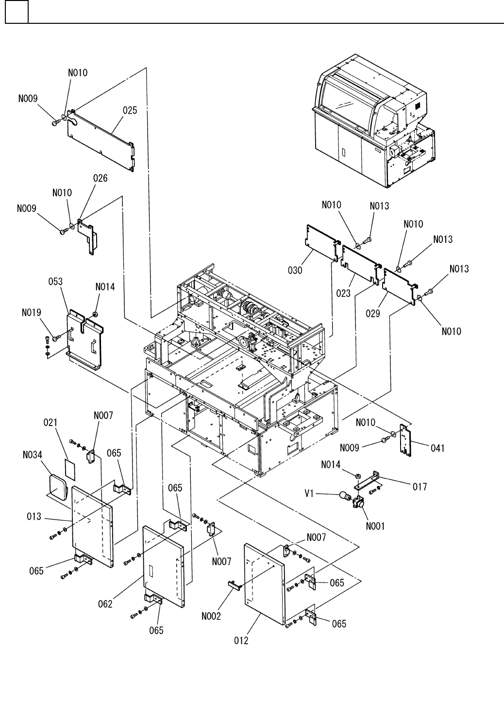
F10871-02-000-AJ_01-3

カバ-部(4)
COVER SECT.(4)
2
F10871-02-000-AJ_01-4
M15

PART NAME
REMARKS
Q'TY
2
カバ-部(4)
COVER SECT.(4)
イラスト
No.
REF
No.
PART No.
部 品 品 番 個数 備 考
R
1
R
2
1012 108710201202
RIGHT DOOR ドア(RIGHT)
1
013 108710201302
LEFT DOOR ドア(LEFT)
1
017 1083802018
BRACKET ブラケット
1021 1087102021
TIMING CHART タイミングチャート
1023 108710202301
REAR COVER カバー(REAR)
1
025 108710202506
COVER カバー
1
026 108710202605
COVER カバー
1029 108710202901
REAR COVER カバー(REAR)
1030 108710203001
REAR COVER カバー(REAR)
1
041 108710204103
COVER カバー
1053 1083802067
COVER カバー
1062 108710206202
DOOR ドア
6
065 X01A78058
HINGE ヒンジ
ML-24
1
N001
N911ML24
LIGHTING UNIT ショウメイユニット
P-18,SCREW-TYPE
1
N002
N986P18Y-023
INDICATING PLATE パナソニックマーク
C-54-1
6
N007
N980C541
MAGNETIC CATCH マグネットキャッチ
M5X6,+,STEEL,Z.C.T
12
N009
XST5+6FY
TRUSS HEAD SCREW トラスコネジ
5,B-TYPE,STEEL,Z.C.T
18
N010
XWC5BFY
TOOTHED LOCK WASHER ハツキザガネ
M5X10,+,STEEL,Z.C.T
12
N013
XST5+10FY
TRUSS HEAD SCREW トラスコネジ
M4,1-TYPE,STEEL,Z.C.T
14
N014
XNG4AFY
HEXAGON NUT ロッカクナット
M4X10,+,STEEL,Z.C.T
9
N019
XST4+10FY
TRUSS HEAD SCREW トラスコネジ
500W
1
N034
N986YYYY-B55
POCKET ポケット
D02402505
1V 1 N224D024-693
LAMP ランプ
M16
F10871-02-000-AJ_01-4