Q124783B09 - 第65页
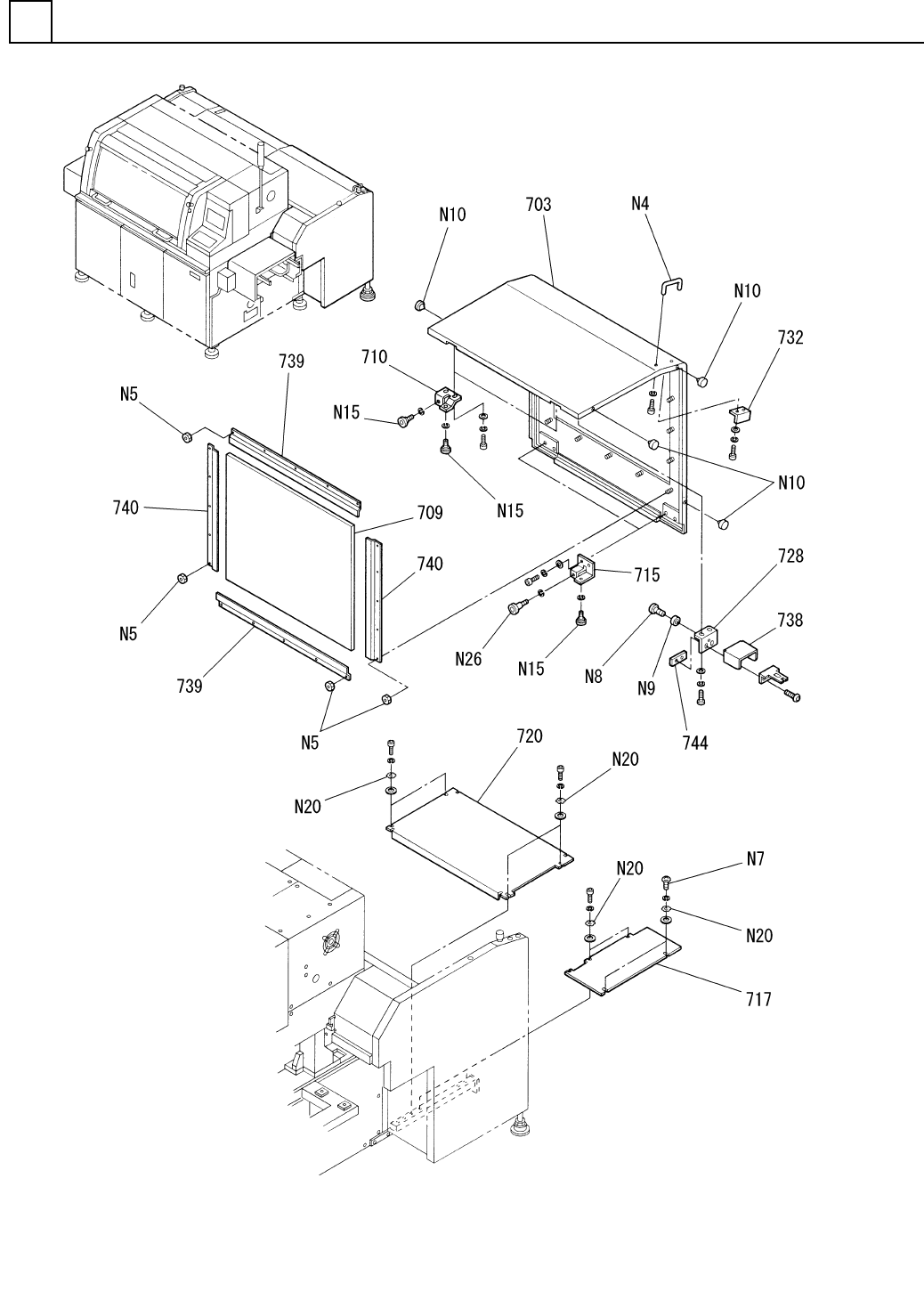
PART NAME REMARKS Q'TY 2 カバー部(Z軸カバー部5) COVER SECT. (Z-AXIS COVER SECT .-5) イラスト No. REF No. PART No. 部 品 品 番 個数 備 考 R 1 R 2 1 703 108710230403 DOOR(R) ドア(R) 1 709 1087102312 COVER(DOOR) カバー(ドア) 2 710 1087102313…

カバー部(Z軸カバー部5)
COVER SECT.(Z-AXIS COVER SECT.-5)
2
F10871-02-700-5
M47

PART NAME
REMARKS
Q'TY
2
カバー部(Z軸カバー部5)
COVER SECT.(Z-AXIS COVER SECT.-5)
イラスト
No.
REF
No.
PART No.
部 品 品 番 個数 備 考
R
1
R
2
1703 108710230403
DOOR(R) ドア(R)
1
709 1087102312
COVER(DOOR) カバー(ドア)
2
710 108710231303
BRACKET ブラケット
2715 108710231802
BRACKET ブラケット
1717 1087102717
COVER(RIGHT) カバー(RIGHT)
1
720 1087102720
COVER(RIGHT) カバー(RIGHT)
1
728 108710233301
BRACKET ブラケット
1732 104693134601
BRACKET ブラケット
1738 1087102064
BRACKET ブラケット
2
739 1087102349
BRACKET ブラケット
2740 1087102350
BRACKET ブラケット
1744 1081102241
NUT PLATE ナットプレート
A-1042-C-15
1
N 4
N980A1042C15
DRAWER PULL トッテ
M5,1-TYPE,STEEL,Z.C.T
20
N 5
XNG5AFY
HEXAGON NUT ロッカクナット
M5X12,+,STEEL,Z.C.T
2
N 7
XST5+12FY
TRUSS HEAD SCREW トラスコネジ
M2X6,STEEL,Z.C.T
1
N 8
XVE2B6FY
HEX. SOCKET HEAD CAP BOLT ロッカクアナツキボルト
C-30-RK-15-UL
1
N 9
N510010453AA
RUBBER LEG ゴムアシ
TM-96-2(7222)
4
N 10
N982TM7222
RUBBER CUSHION ゴムクッション
22RF602C-1
6
N 15
N50022RF-016
BEARING ベアリング
5,B-TYPE,STEEL,Z.C.T
9
N 20
XWC5BFY
TOOTHED LOCK WASHER ハツキザガネ
22RF603C-1
2
N 26
N50022RF-017
BEARING ベアリング
M48
F10871-02-700-5

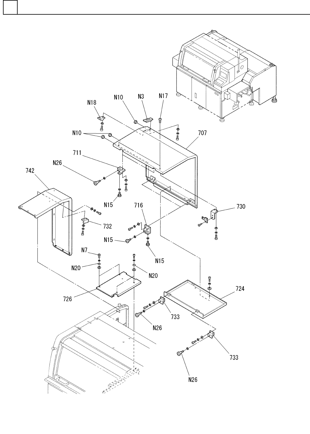
カバー部(Z軸カバー部6)
COVER SECT.(Z-AXIS COVER SECT.-6)
2
F10871-02-700-6
M49