Q124783B09 - 第71页
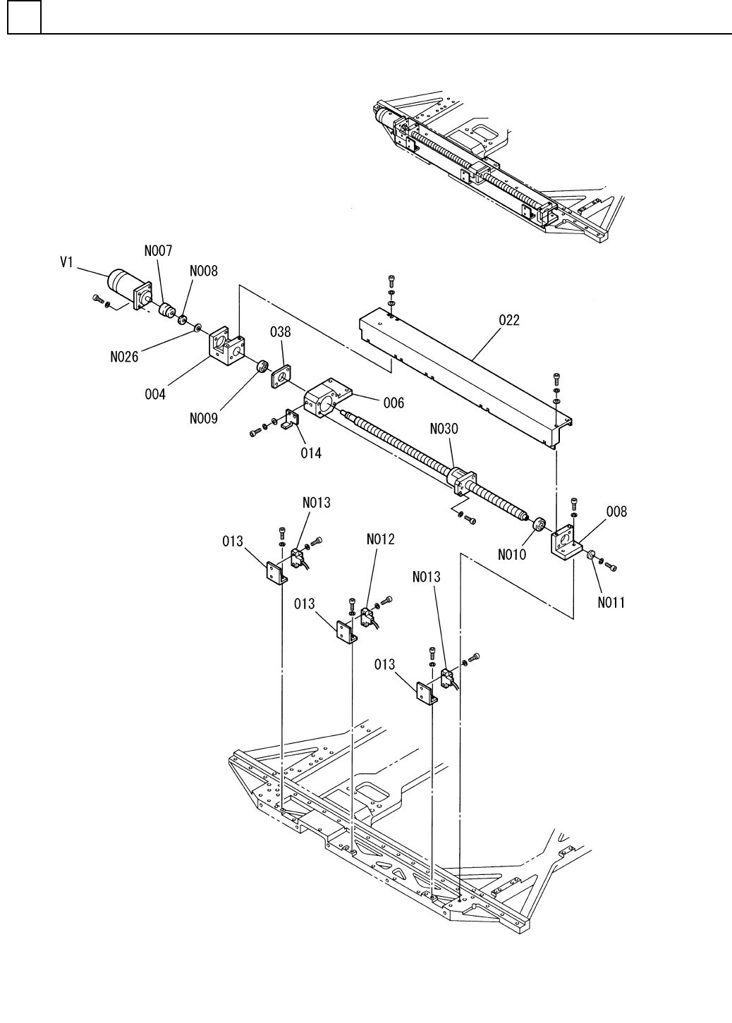
PART NAME REMARKS Q'TY 3 X-Yテ-ブル部(X軸駆動部) X-Y TABLE S ECT.(X-AXIS DRIVIN G SECT.) イラスト No. REF No. PART No. 部 品 品 番 個数 備 考 R 1 R 2 1 1087104000 X-Y TABLE UN IT X-Y テーブルユニット 1 004 108710400402 BRACKET(MOTO R) ブラケット…

X-Yテ-ブル部(X軸駆動部)
X-Y TABLE SECT.(X-AXIS DRIVING SECT.)
3
F10871-04-000-AF_02-1
M53

PART NAME
REMARKS
Q'TY
3
X-Yテ-ブル部(X軸駆動部)
X-Y TABLE SECT.(X-AXIS DRIVING SECT.)
イラスト
No.
REF
No.
PART No.
部 品 品 番 個数 備 考
R
1
R
2
1 1087104000
X-Y TABLE UNIT X-Y テーブルユニット
1
004 108710400402
BRACKET(MOTOR) ブラケット(モータ)
1
006 108710400601
HOUSING ハウジング
1008 X01L21035
SLIDE BEARING ジクウケ
3013 108710401302
BRACKET ブラケット
1
014 1087104014
DOG FOR SENSOR センサドグ
1
022 108710402203
COVER カバー
1038 N210028631AA
COVER(BEARING) カバー(ベアリング)
SFC-035SA2-9B-14B
1
N007
N510010689AA
COUPLING カップリング
FU00SS
1
N008
N510004723AA
NUT ナット
7000ADBC8P5
1
N009
N510003427AA
BEARING ベアリング
6201ZZ
1
N010
XLC6201ZZ
BALL BEARING ボールベアリング
WSSB16-5-2
1
N011
N560WSSB1652
WASHER ザガネ
P921S1
1
N012
N310P921S1
SENSOR センサ
P921SA1
2
N013
N310P921SA1
SENSOR センサ
WSSB15-10-3
1
N026
N560WSSB-249
WASHER ザガネ
GZ1510ES-ZAPR-0744X069
1
N030
N510021862AA
BALL SCREW ボールネジ
MSM042AJA S
1
V 1 308710400101
MOTOR モータ
M54
F10871-04-000-AF_02-1

X-Yテ-ブル部(Y軸駆動部)
X-Y TABLE SECT.(Y-AXIS DRIVING SECT.)
3
F10871-04-000-AF_02-2
M55