Q124783B09 - 第73页
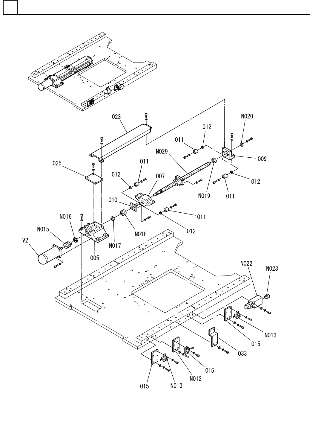
PART NAME REMARKS Q'TY 3 X-Yテ-ブル部(Y軸駆動部) X-Y TABLE S ECT.(Y-AXIS DRIVIN G SECT.) イラスト No. REF No. PART No. 部 品 品 番 個数 備 考 R 1 R 2 1 005 1087104005 BRACKET(MOTO R) ブラケット(モータ) 1 007 X01L21011 HOUSING ハウジング 1 009 X…

X-Yテ-ブル部(Y軸駆動部)
X-Y TABLE SECT.(Y-AXIS DRIVING SECT.)
3
F10871-04-000-AF_02-2
M55

PART NAME
REMARKS
Q'TY
3
X-Yテ-ブル部(Y軸駆動部)
X-Y TABLE SECT.(Y-AXIS DRIVING SECT.)
イラスト
No.
REF
No.
PART No.
部 品 品 番 個数 備 考
R
1
R
2
1005 1087104005
BRACKET(MOTOR) ブラケット(モータ)
1
007 X01L21011
HOUSING ハウジング
1
009 X01L21013
HOLDER(SHAFT) ホルダ(シャフト)
1010 N210027736AA
BEARING ベアリング
4011 X00K02068
STOPPER ストッパー
4
012 X00K02069
COLLAR カラー
3
015 1087104015
PLATE(Y) プレート(Y)
1023 108710402302
COVER(Y) カバー(Y)
1025 1087104025
COVER カバー
1
033 108710403301
BRACKET ブラケット
P921S1
1
N012
N310P921S1
SENSOR センサ
P921SA1
2
N013
N310P921SA1
SENSOR センサ
SFC-040SA2-13B-19B
1
N015
N510010690AA
COUPLING カップリング
FU02SC
1
N016
KXF0234AA00
LOCK-NUT ロックナット
WSSB20-15-5
1
N017
N560WSSB-194
WASHER ザガネ
7202ADBP5
1
N018
N510003493AA
BEARING ベアリング
6202ZZ
1
N019
XLC6202ZZ
BALL BEARING ボールベアリング
WSSB20-5-3
1
N020
KXF0CTMAA00
WASHER ザガネ
AT0-11-S-I/R S
1
N022
N300AT011S1R
SWITCH スイッチ
V-M20
1
N023
KXF0DG3AA00
CABLE ケーブル
GZ2010ES-ZAPR-0588X050
1
N029
N510016878AA
BALL SCREW ボールネジ
MSM082AJA S
1
V 2 308380400801
MOTOR モータ
M56
F10871-04-000-AF_02-2

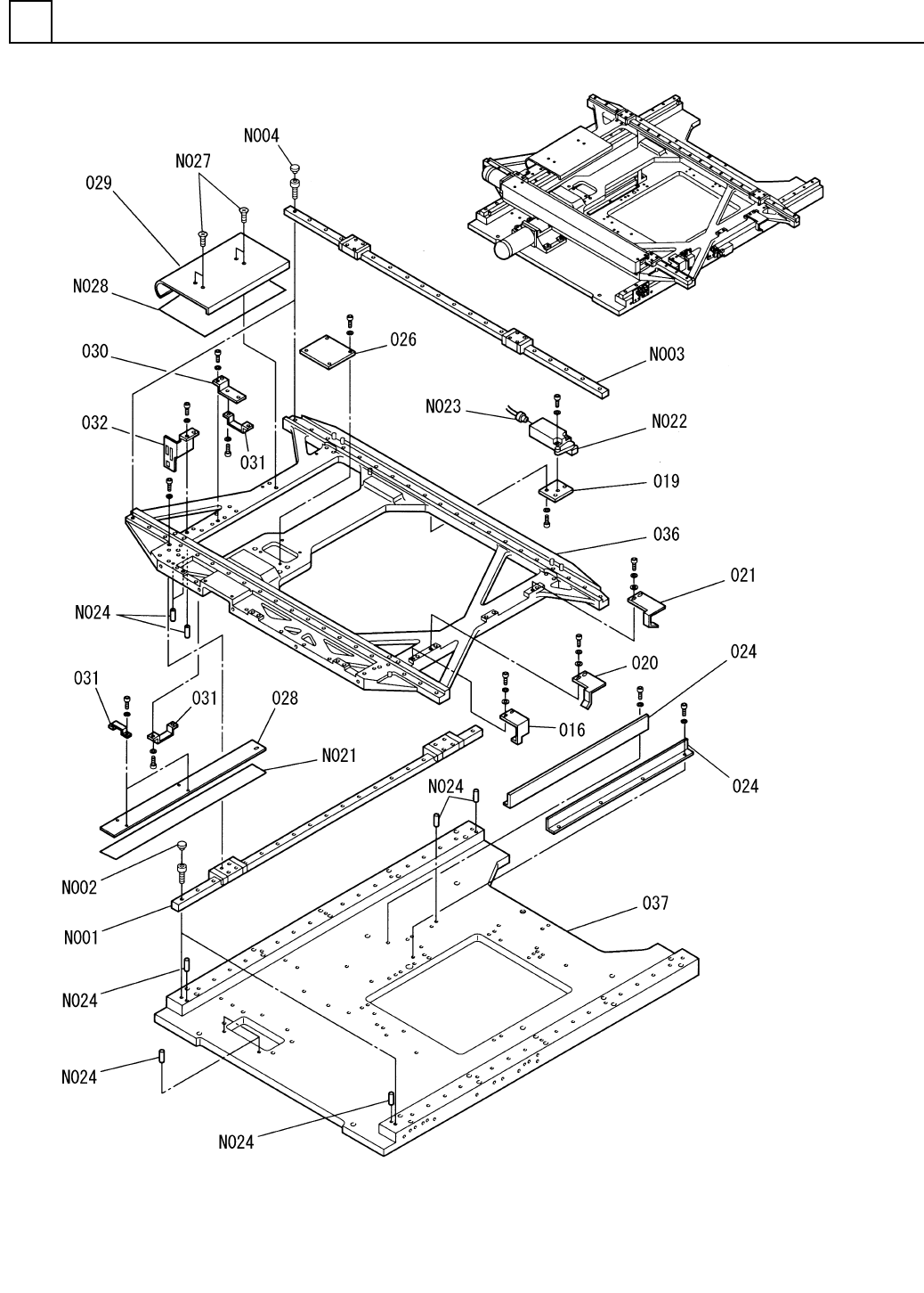
X-Yテ-ブル部(テーブル部1)
X-Y TABLE SECT.(TABLE SECT.-1)
3
F10871-04-000-AF_02-3
M57