Q124783B09 - 第85页
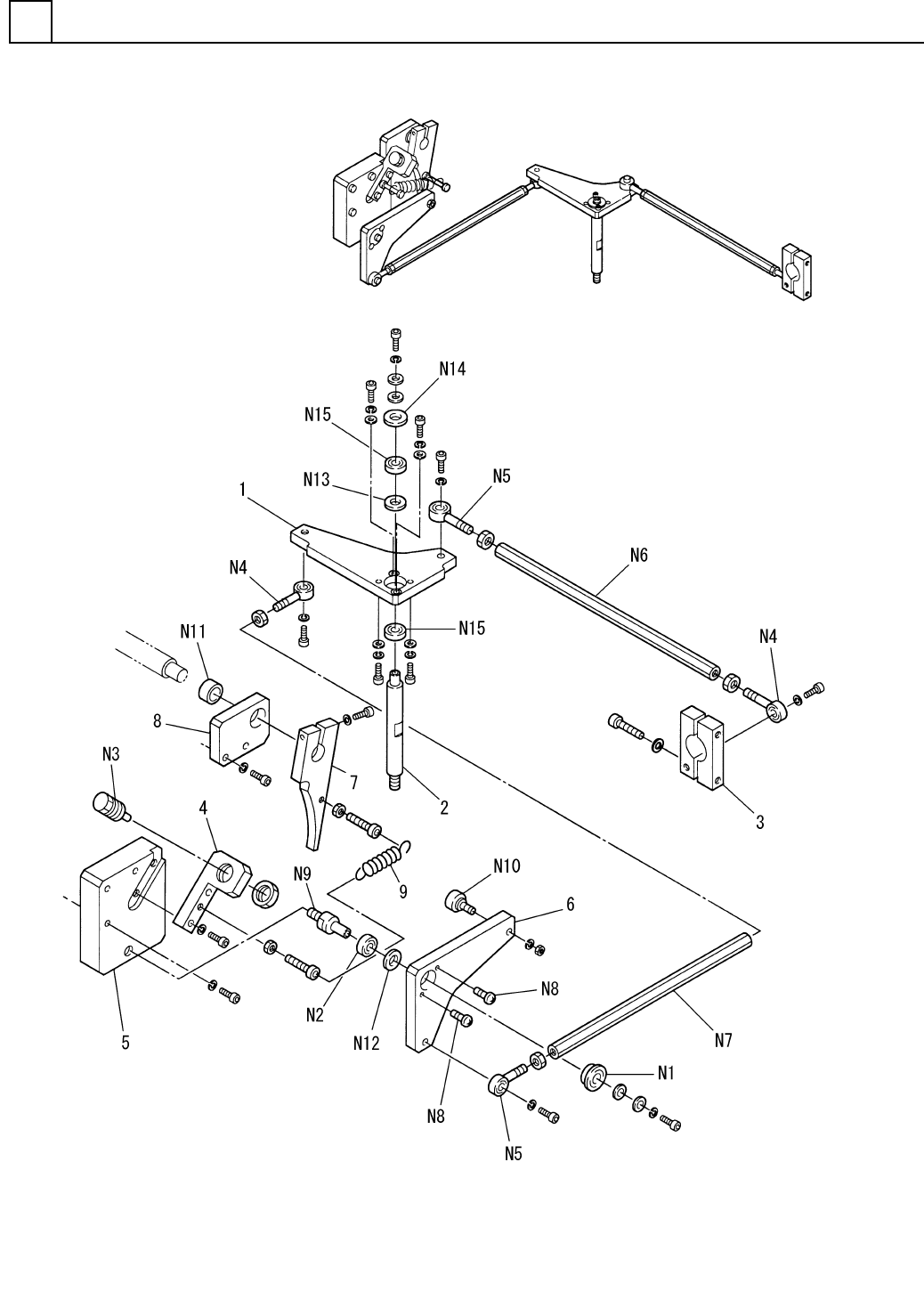
PART NAME REMARKS Q'TY 4 ローダ・アンローダ 部 (共通部<アンローダ部>) LOADER & UN LOADER SECT.(COMMO N SECT.<UNLOADER SECT.>) イラスト No. REF No. PART No. 部 品 品 番 個数 備 考 R 1 R 2 1 302 1099705002 PIN ピン 1 303 109970510…

ローダ・アンローダ部(共通部<アンローダ部>)
LOADER & UNLOADER SECT.(COMMON SECT.<UNLOADER SECT.>)
4
F10871-05-300-AD-4
M67

PART NAME
REMARKS
Q'TY
4
ローダ・アンローダ部(共通部<アンローダ部>)
LOADER & UNLOADER SECT.(COMMON SECT.<UNLOADER SECT.>)
イラスト
No.
REF
No.
PART No.
部 品 品 番 個数 備 考
R
1
R
2
1302 1099705002
PIN ピン
1
303 1099705103
BRACKET ブラケット
1
308 109970510804
FRAME フレーム
2310 1099705110
PLATE プレート
1312 109970531203
PLATE プレート
1
318 1099705118
PULLEY プーリー
1
329 1087105329
LINK リンク
2334 109970513402
LEVER レバー
1335 109970513502
LEVER レバー
1
336 109970533601
SHAFT シャフト
2337 1099705137
PIN ピン
1338 108710533801
SPLINE スプライン
2
341 1099705141
SPACER スペーサ
10,STEEL,P.C
2
N 1 XUB10FP
RETAINING RING C-TYPE C ガタジクヨウトメワ
CM30-18-56075-G1(Y-560
1N 4 N401CM30-244
KNUCKLE JOINT ナックルジョイント
G2305
1N 5 N986G2305
BOLT ボルト
6001ZZ
2
N 6 XLC6001ZZ
BALL BEARING ボールベアリング
FU07SS
2
N 7 XNRNFU07SS
LOCK-NUT ロックナット
4N 8 N510003302AA
BALL BEARING ボールベアリング
12,STEEL,P.C
1N10 XUB12FP
RETAINING RING C-TYPE C ガタジクヨウトメワ
M4X8,+,STEEL,Z.C.T
12
N11 XST4+8FY
TRUSS HEAD SCREW トラスコネジ
MOPC3917
1
N13 MOPC3917
CAP FOR CAPACITOR コンデンサキャップ
M4GA12.5F
1N14 M4GA12.5F
GEAR HEAD ギヤーヘッド
M4X8,STEEL,P.C
3N15 XXE4C8FP
HEX. SOCKET SET SCREW ロッカクアナツキトメネジ
80F-0805
4
N16 N52080F0805
BUSHING ブッシング
CDBM2E32H-D7069-40
1N17 N401CDBM-592
CYLINDER シリンダ
FUN-008-SS
2N18 XNRNFUN008SS
LOCK-NUT ロックナット
M8,1-TYPE,STEEL,Z.C.T
1
N19 XNG8DFY
HEXAGON NUT ロッカクナット
T10
1
N21 N986T10
WASHER ザガネ
M3X50,STEEL,P.C
2N22 XVE3B50FP
HEX. SOCKET HEAD CAP BOLT ロッカクアナツキボルト
1AP34N
1N23 N5541AP34N
O-RING O リング
M3,1-TYPE,STEEL,Z.C.T
2
N25 XNG3AFY
HEXAGON NUT ロッカクナット
M5X12,STEEL,Z.C.T
1
N26 XVE5B12FY
HEX. SOCKET HEAD CAP BOLT ロッカクアナツキボルト
M6X12,STEEL,Z.C.T
4N29 XVE6B12FY
HEX. SOCKET HEAD CAP BOLT ロッカクアナツキボルト
M5X20,STEEL,Z.C.T
3N30 XVE5B20FY
HEX. SOCKET HEAD CAP BOLT ロッカクアナツキボルト
M4,1-TYPE,STEEL,P.C
2
N32 XNG4AFP
HEXAGON NUT ロッカクナット
M4X6,STEEL,P.C
3
N33 XXE4C6FP
HEX. SOCKET SET SCREW ロッカクアナツキトメネジ
MB019000
2N34 N648MB019000
PULLEY(TENSION) プーリー(テンション)
D-C73
2V 1 N401DC73
SENSOR センサ
M4RA1G4L S
1
V 4 308380520602
MOTOR モータ
M68
F10871-05-300-AD-4

ローダ・アンローダ部(ローダアーム連動部)
LOADER & UNLOADER SECT.(LOADER ARM SWING SECT.)
4
F10871-16-000-AD_A
M69