IP-IIIE-11 - 第42页
10.1.Y 軸テーブル 2(QPT) 10.1.Y axis 番号 図番 & コード番号 個数 品名 規格 備考 No. Drg.No. & Code No. QTY Description Rating Remarks 1 APPT8010 4 PIN, BACKUP(φ15Vacuum Pin) ピン バックアップ 2 APPT8020 3 PIN, BACKUP(Regular Pin) ピン バッ…

IP-
III
E PARTS LIST ver11
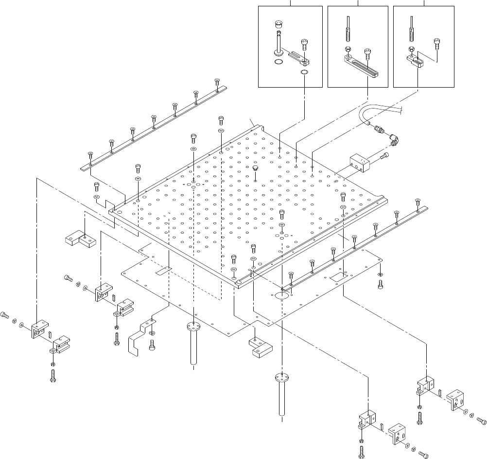
10.1.Y軸テーブル 2(QPT)
10.1.Y axis table 2(QPT)
10 - 1
10.1.Y軸テーブル 2(QPT)
10.1.Y axis table 2(QPT)
Ref.31-1
Ref.31-1
Ref.31-1
Ref.33-7
x6
A
B
25
36
60
24
25
23
60
24
25
27
48
55
26
49
31 2
53
47
74
28
58
29
77
70
32
66
80
78
70
77
70
73
69
30
31
77
70
78
70
77
70
73
69
29
58
33
7
65
78
21
21
34
62
12
14
22
38
67
65
75
75
65
67
22
38
14
62
12
13
62
12
38
22
67
65
75
13
62
12
38
22
67
65
75
208
176
165
175
161
175
161
175
161
183
162
176
167
175
161
13
13
B
A
139
26

10.1.Y 軸テーブル 2(QPT)
10.1.Y axis
番号 図番 & コード番号 個数 品名 規格 備考
No. Drg.No. & Code No. QTY Description Rating Remarks
1 APPT8010 4
PIN, BACKUP(φ15Vacuum Pin)
ピン バックアップ
2 APPT8020 3 PIN, BACKUP(Regular Pin) ピン バックアップ
3 APPT8030 3 PIN, BACKUP(Regular Pin) ピン バックアップ
7 PPT0310 1 DOG ドッグ
12 PPT0482 4 BOLT, STOPPER ボルト ストッパ
13 PPT0490 2 BLOCK ブロック
14 PPT0500 2 BLOCK ブロック
21 PPT0640 2 GUIDE ガイド
22 PPT0700 4 BKT BKT
23 PPT0900 3 PLATE プレート
24 PPT0910 3 PIN ピン
25 PPT0980 12 BOLT ボルト
26 PPT1170 3 PIN, BACKUP ピン パックアップ
27 PPT1180 6 HOLDER ホルダ
28 PPT1470 1 TERMINAL ターミナル
29 PPT1481 2 PLATE プレート
30 PPT1490 208 PLUG プラグ
31 PPT1562 1 PLATE, VACUUM プレート バキューム
32 PPT1571 1 PLATE プレート
33 PPT1581 1 BKT, STOPPER BKT ストッパ
34 PPT1591 1 BKT, STOPPER BKT ストッパ
36 PPT1630 3 PLATE プレート
38 IPB5391 4 KEY キー
47 Y3084T 1 UNION, HALF ユニオン ハーフ KQ2H08-01S
48 A5132A 6 O RING O リング S10
49 A5161T 6 O RING O リング S15
53 T2064A 320 TUBE チューブ TU0805B
55 H1189A 3 PAD パット VP-15RS
58 K5357M 14
SCREW,HEX SOCKET COUNTERSUNK
小ネジ 六角穴皿 M3X6L
60 N1085A 4 NUT, HEX ナット 六角 M6 P=1.0
62 N1082A 4 NUT, HEX ナット 六角 M5 P=0.8
65 W1022A 16 WASHER, LOCK ワッシャ スプリング 4M/M
66 W1021A 46 WASHER, LOCK ワッシャ スプリング 3M/M
67 W1043A 8 WASHER, FLAT ワッシャ 平 4W-4
69 W1012A 8 WASHER, CONICAL ワッシャ 皿 M-5-L
70 W1011A WASHER, CONICAL ワッシャ 皿 M-4-L
73 H5299A BOLT, HEX SOCKET ボルト 六角穴 M5X12L
74 H5292A 5 BOLT, HEX SOCKET ボルト 六角穴 M4X20L
75 H5290A 8 BOLT, HEX SOCKET ボルト 六角穴 M4X15L
IP-ⅢE PARTS LIST ver11 10 - 2
10.1.Y 軸テーブル 2(QPT)
10.1.Y axis table 2(QPT)

10.1.Y 軸テーブル 2(QPT)
10.1.Y axis
番号 図番 & コード番号 個数 品名 規格 備考
No. Drg.No. & Code No. QTY Description Rating Remarks
77 H5288A 8 BOLT, HEX SOCKET ボルト 六角穴 M4X10L
78 H5287A 18 BOLT, HEX SOCKET ボルト 六角穴 M4X8L
80 H5275A 46 BOLT, HEX SOCKET ボルト 六角穴 M3X8L ・
IP-ⅢE PARTS LIST ver11 10 - 3
10.1.Y 軸テーブル 2(QPT)
10.1.Y axis table 2(QPT)