Very High Force P - 第3页
Very High Force P&P Head Page 3 / 7 23.11.2021

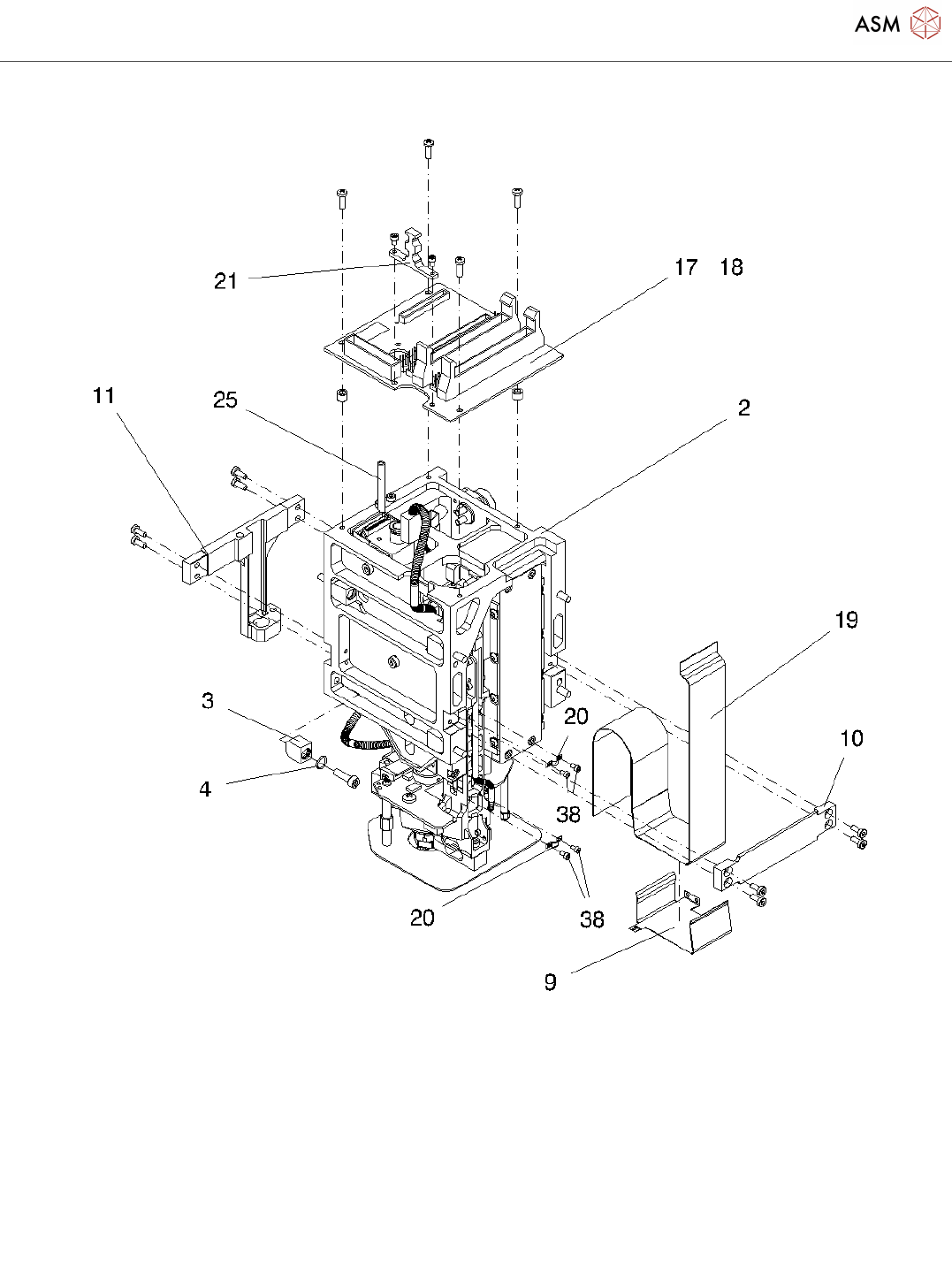
Very High Force P&P Head
Page 2 / 7 23.11.2021

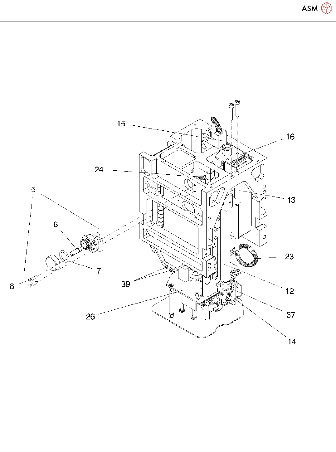
Very High Force P&P Head
Page 3 / 7 23.11.2021

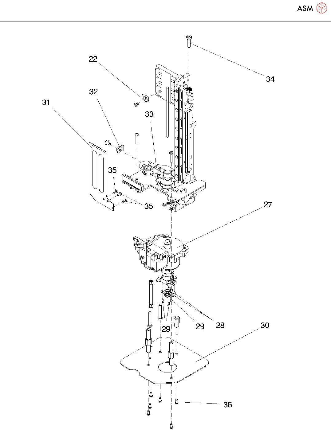
Very High Force P&P Head
Page 4 / 7 23.11.2021
Very High Force P&P Head Page 3 / 7 23.11.2021


