00191805-01 - 第335页
Instrucciones de servicio SIPLACE S-23 HM 7 ¿Qué h acer .. . Versión de software SR.406.xx Edición 02/00 ES 7.8 Mesa intercambiable de componentes - móvil 335 7.8.3 Acoplar la mesa intercambiable de componentes ADVER TEN…

7 ¿Qué hacer ... Instrucciones de servicio SIPLACE S-23 HM
7.8 Mesa intercambiable de componentes - móvil Versión de software SR.406.xx Edición 02/00 ES
334
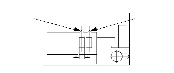
Leyenda referente a la Fig. 7.8 - 2
(1) Conexión para la interfaz de comunicación
(2) Conexión para el abastecimiento de corriente de la mesa intercambiable de componentes
(3) Conexión para el aire comprimido
(4) Placa de la mesa de componentes
(5) Pulsador para elevar y baja la placa de la mesa de componentes
(6) Tubo de mando
(7) Estribo rebatible
(8) Agujeros para los bulones de centrado
(9) Bulones de centrado
(10) Superficies de apoyo para los carriles de deslizamiento de la mesa intercambiable de
componentes
(11) Tensor horizontal
Å Haga clic en el menú VISUALIZACION BASICA
en el icono PARA EL PROCESO .
Å La tarjeta de circuitos actual se dota hasta el final. Luego se activan los iconos del menú de
funciones individuales.
Å Haga clic sobre el icono deseado FUNCIONES INDIVIDUALES - PORTICO X (pórtico 1 o 2).
Å Haga clic sobre el icono FUNCIONES DE PORTICO.
Å En este menú haga clic en el botón POSICION DE SETUP.
Å El cabezal de dotar seleccionado se desplaza sobre el transporte de tarjetas de circuitos, de
forma que en el cambio de mesa de componentes no puede ser deteriorado.
Å Abra la cubierta de protección del pórtico seleccionado.
Å Abra las protecciones laterales.
Å Abra los tensores horizontales (pos. 11)
Å Tire simultáneamente de ambos tubos de mando (pos. 6) en su dirección y rebata el estribo
(pos. 7). De esta forma bloquea la mesa de componentes en su posición final superior.
Å Accione el pulsador (pos. 5) para elevar la tarjeta de la mesa de componentes (pos. 4) hasta
que alcance su posición final superior.
Å Desconecte el enchufe para el abastecimiento de corriente (pos. 2) de la mesa intercambiable
de componentes.
Å Desconecte el enchufe del cable de control (pos. 1).
Å Desconecte el enchufe de la alimentación de aire comprimido (pos. 3).
Å Extraiga la mesa de componentes.

Instrucciones de servicio SIPLACE S-23 HM 7 ¿Qué hacer ...
Versión de software SR.406.xx Edición 02/00 ES 7.8 Mesa intercambiable de componentes - móvil
335
7.8.3 Acoplar la mesa intercambiable de componentes
ADVERTENCIA 7
Controle que el cabezal de dotar se encuentre fuera del área de la mesa intercambiable de com-
ponentes. 7
CUIDADO 7
Al acoplar la mesa intercambiable de componentes tenga en cuenta que la placa de la mesa se
encuentre en su posición final superior y el estribo esté rebatido (pos. 7). 7
Å Recorte la cinta vacía de los módulos de alimentación.
Å Controle si la superficie de apoyo (pos. 10) para la placa de la mesa de componentes está lim-
pia.
Å Desplace con cuidado la mesa intercambiable de componente en la máquina automática.
Å Conecte el enchufe de alimentación de aire comprimido (pos. 3).
Å Conecte el cable de control (pos. 1).
Å Conecte el cable de abastecimiento de corriente (pos. 2) para la mesa intercambiable de com-
ponentes.
Å Tire simultáneamente de ambos tubos de mando (pos. 6) en su dirección y luego baje el
estribo (pos. 7) de la mesa intercambiable de componentes para poder bajar la placa de la
misma.
Å Controle si los agujeros de centrado de la placa de la mesa de componentes se encuentran
exactamente sobre los bulones de centrado de la máquina automática.
Å Accione el pulsador (pos. 5) hasta que la placa de la mesa de componentes se encuentre en
su posición final superior.
Å Suelte el pulsador. La placa de la mesa de componentes baja.
Å Observe que los pernos de centrado agarren en los agujeros de centrado de la placa de la
mesa de componentes y la placa de la mesa de componentes haya bajado completamente.
Å Rebata el estribo (pos. 7) de la mesa intercambiable de componentes.
Å Bloquee ambos tensores horizontales (pos. 11).
Å Cierre las protecciones laterales y la cubierta de protección.
Å Arranque la máquina automática con la tecla respectiva.
7
7

7 ¿Qué hacer ... Instrucciones de servicio SIPLACE S-23 HM
7.9 Lo que debe observar para evitar errores de pista Versión de software SR.406.xx Edición 02/00 ES
336
7.9 Lo que debe observar para evitar errores de pista
7.9.1 Generalidades
Å Observe que las áreas de los módulos de alimentación se encuentren limpias y no se encuen-
tren componentes sueltos en el área de transporte o bajo los módulos de alimentación.
Å Cuide que las superficies de apoyo de los módulos de alimentación y especialmente la regleta
magnética de la mesa de componentes estén limpias y planas.
Å Llene con componentes a tiempo.
Å Empalme a tiempo las cintas. Por regla general esto significa que usted prepara el material de
empalme cuando queda en el rollo aprox. 1,5 m de cinta.
Å Trate con cuidado los módulos de alimentación cuando los coloca en la mesa de componentes
o los retira de allí. Estos son aparatos de precisión.
Å Al colocar los módulos de alimentación observe que no se pulsen por accidente teclas de pro-
grama. De esta forma se puede cambiar por ejemplo para módulos de alimentación-S de 8mm
el paso de 4 mm a 2 mm.
Å Cierre las tapas de los módulos de alimentación, ya que al encontrarse abiertas pueden ave-
riarse con facilidad.
Å Controle si en los módulos de alimentación-S todos los componentes, dependiendo de su ta-
maño, son recogidos de la posición correcta (ver el ejemplo siguiente).
Ejemplo para módulos de alimentación-S 8mm 7
7
Å Controle si el enchufe de los módulos de alimentación ha sido conectado en la hembrilla
correcta.
< 3 mm
Ancho
Posición de
recogida para
componentes
> 3 mm
Posición de
recogida para
componentes