M1series_ServiceManual_e - 第15页
1 Installation 1-7 ACTION: ① Locate the machine to the specified place. ② Adjust the conveyor height to 900 m m by rotat ing the adjust feet. 900+/-20mm or 950+/-20mm(SMEMA) ③ Place a level on the conveyor and adjust the…

1 Installation
1-6
Installing the Machine
Do not touch terminals of electric components when the power is on to prevent electric shock and machine
damage.
Warning
Make sure to ground the machine to prevent electric shock.
Warning
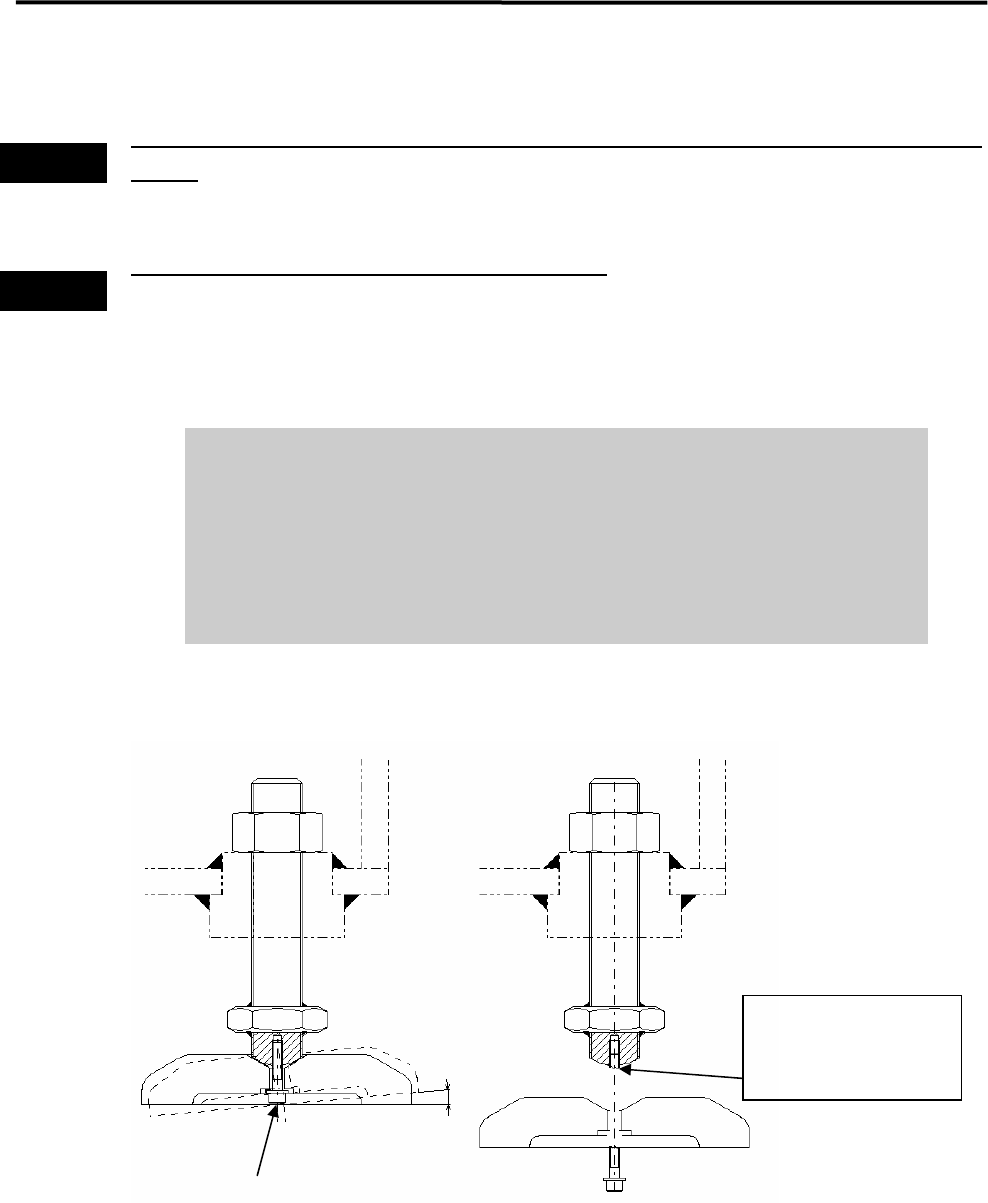
Note on Installation
It is normal that the adjust foot can be slightly inclined (within 2-degree range).
Do not tighten the bolt forcedly trying to fix the foot.
When you move and/or install the mounter, be careful not to apply excessive
force on the adjust foot. This may cause the screw of the adjust foot to break.
When placing the mounter on the floor, be sure that the mounter is kept
horizontal.
2°
Mounting Screw
If excessive force is
applied, the screw may
break at this point.

1 Installation
1-7
ACTION:
① Locate the machine to the specified place.
② Adjust the conveyor height to 900 mm by rotating the adjust feet.
900+/-20mm
or
950+/-20mm(SMEMA)
③ Place a level on the conveyor and adjust the height so that the machine is level lengthwise and
crosswise.
Level
④ When the conveyor has become level, check if the height is 900+/-20 mm. Then fix the adjust feet
with nuts.
⑤ The head assy. is fixed to the XY shafts with nylon ties. Take them off with nippers.

1 Installation
1-8
⑥ Connect the power cable and ground line independently of other machines which may be a noise
source, such as a compressor, welding machine.
⑦ Connect the air supply coupler 65SN or 85SN (Nitto) or an alternate to the air coupler on the filter
regulator in the machine. Then, make sure the filter regulator indicates 0.49 MPa (5 kgf/cm
2
).
Filter Regulator
Air Coupler
Air Coupler 65SN or 85SN