Config upgrade kit NC 2. row X4i S_20211124_095456 - 第7页
Config upgrade kit NC 2. row X4i S Page 7 / 18 24.11.2021

Config upgrade kit NC 2. row X4i S
Page 6 / 18 24.11.2021

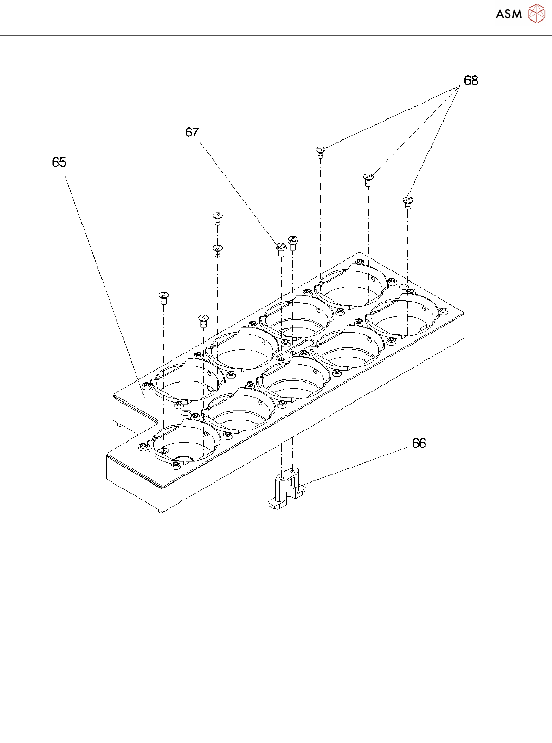
Config upgrade kit NC 2. row X4i S
Page 7 / 18 24.11.2021

Config upgrade kit NC 2. row X4i S
Page 8 / 18 24.11.2021