P-0198-001 - 第263页
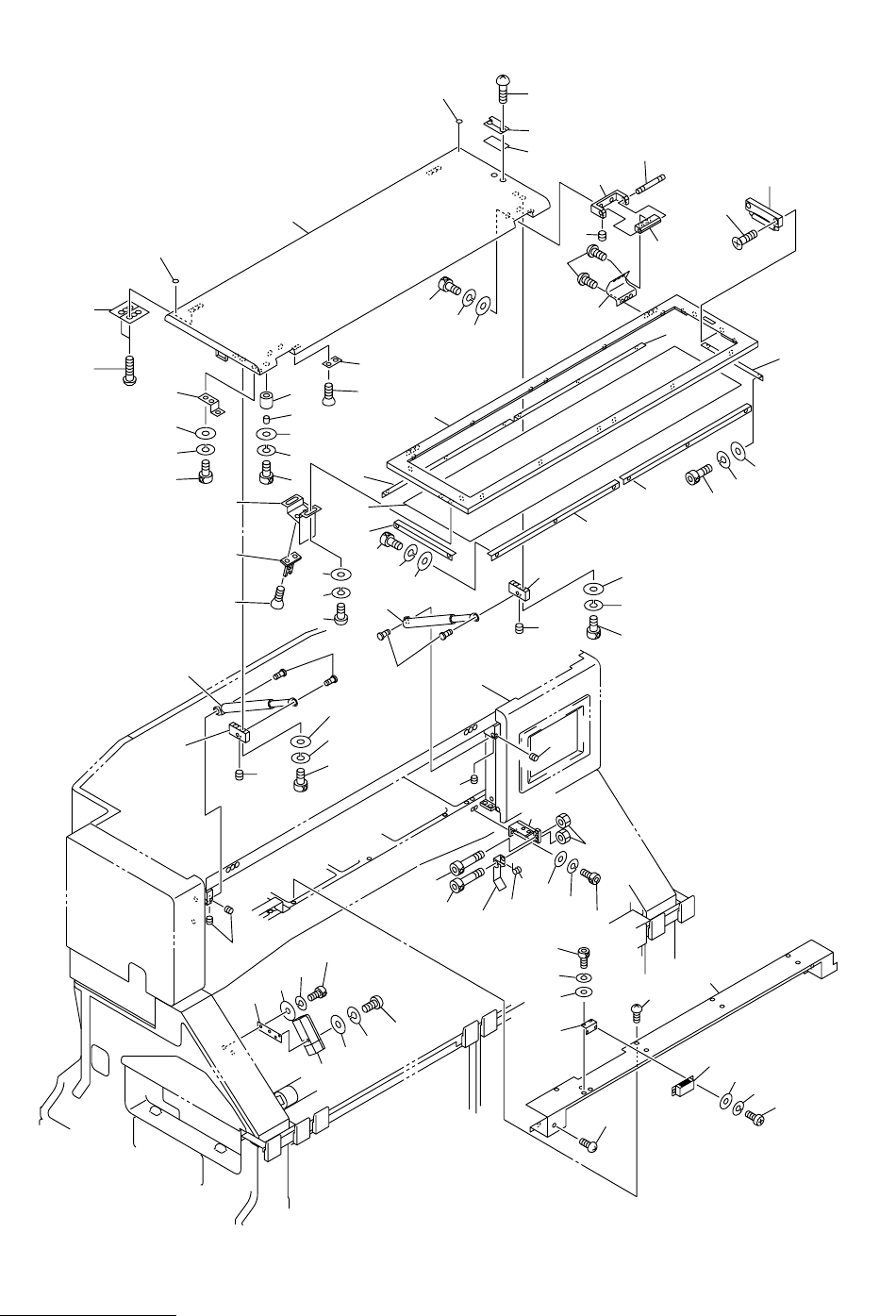
MODEL TCM-3600J-2 0109-001 261 Key No. P AR T No. P AR T NAME Q’ ty REMARKS NOTE 12-5 1 630 064 8683 COVER 1 703R--01B-051 2 630 035 7219 MECH P ARTS(URETHANES) 2 703R--01H-01 1 3 630 038 9708 COLLAR 2 703R--01B-060 4 41…

MODEL TCM-3600J-2
0109-001
260
ࠞࡃㇱ COVER SECTION
Fig.12-5 ೨ᚺ Front Cover
1
27
28
14
15
17
16
16
18
19
19
20
20
17
11
11
12
12
13
3
2
77
81
4
5
6
35
30
31
31
32
32
33
33
36
30
18
19
20
35
35
36
31
31
32
32
33
33
40
40
41
42
43
44
44
45
46
34
34
34
23
24
7
9
10
10
22
21
8
25
25
23-1
23
26
26
26
26
16
16
36
47
39
39
36
36
36
49
49
54
54
55
55
56
56
50
51
51
52
52
53
53
16
62
63
63
64
64
65
65
57
57
50
50
61
61
58
59
60
74
73
72
71
66
66
78
77
79
80
80
75
76
Fig.12-5
TCM-3600J-2

MODEL TCM-3600J-2
0109-001
261
Key No. PART No. PART NAME Q’ty REMARKS
NOTE
12-5
1 630 064 8683 COVER 1 703R--01B-051
2 630 035 7219 MECH PARTS(URETHANES) 2 703R--01H-011
3 630 038 9708 COLLAR 2 703R--01B-060
4 411 141 4008 WASHER V 4X9X0.8 2 FW4
5 411 141 2905 WASHER SPR 4 2 SW4
6 630 000 7664 BOLT,HEX-SCT 2 M4X20
7 630 051 3578 SUPPORT 2 703R--01B-053
8 630 051 3585 SUPPORT 2 703R--01B-065
9 630 038 9715 PIN,HINGE 2 703R--01B-059
10 630 000 8920 SET SCREW 4 M4X6 SET
11 411 141 4107 WASHER V 5X10X1 4 FW5
12 411 141 6705 WASHER SPR 5 4 SW5
13 630 000 7756 BOLT,HEX-SCT 4 M5X12
14 630 064 8690 COVER 1 703R--01B-052
15 630 064 8713 COVER 1 703R--01B-061
16 630 051 3592 SUPPORT 4 703R--01B-062
17 630 064 8720 SUPPORT 2 703R--01B-063
18 411 141 4008 WASHER V 4X9X0.8 16 FW4
19 411 141 2905 WASHER SPR 4 16 SW4
20 630 000 7619 BOLT,HEX-SCT 16 M4X8
21 630 064 8706 SUPPORT 2 703R--01B-054
22 411 113 9109 SCR TRS 5X10 12 M5X10 TRS
23 630 003 5032 HANDLE 1 703R--01H-003
23 -1 630 060 3781 PLATE 1 703R--01B-069
24 411 140 7406 SCR FLT 5X20 2 M5X20 FLT
25 411 113 7501 SCR TRS 4X10 2 M4X10 TRS
26 630 013 8986 MECH PARTS(RUBBER CUSHION 2 703R--01H-012
27 630 039 1763 HINGE 2 703R--01B-055
28 411 113 9109 SCR TRS 5X10 12 M5X10 TRS
30 630 038 9571 BLOCK 2 703R--01B-057
31 411 141 4107 WASHER V 5X10X1 4 FW5
32 411 141 6705 WASHER SPR 5 4 SW5
33 630 000 7800 BOLT,HEX-SCT 4 M5X35
34 630 035 6694 SPRING 2 703R--01H-001
35 630 038 9609 PIN,HINGE 4 703R--01B-056
36 630 000 8944 SET SCREW 6 M5X6 SET
39 630 064 8744 BLOCK 1 703R--01B-101
40 411 141 4305 WASHER V 6X12.5X1.6 2 FW6
41 411 141 3001 WASHER SPR 6 2 SW6
42 630 000 7893 BOLT,HEX-SCT 2 M6X20
43 630 039 2104 HOOK 1 703R--01B-102
44 630 038 9861 SPRING,TORSION 1 703R--01B-103
45 630 000 7800 BOLT,HEX-SCT 1 M5X35
46 630 000 7824 BOLT,HEX-SCT 1 M5X45
47 411 141 0505 NUT HEX 5 2 M5
49 630 064 8737 BRACKET 1 703R--01B-068
50 630 058 0457 SWITCH,LIMIT 1 LS14 703R--01H-006
51 411 119 2104 WASHER V 4X9X0.8 2 FW4 F
52 411 008 1706 WASHER SPR 4 2 SW4 F
53 411 161 9007 SCR PAN 4X35 2 M4X35 PAN

MODEL TCM-3600J-2
0108-001
262
Key No. PART No. PART NAME Q’ty REMARKS
NOTE
12-5
54 630 001 0220 WASHER 2 BW5
55 411 141 6705 WASHER SPR 5 2 SW5
56 630 000 8401 BOLT,HEX-SCT 2 M5X14
57 630 062 0528 BRACKET 1 703R--01B-067
58 411 141 4008 WASHER V 4X9X0.8 2 FW4
59 411 141 2905 WASHER SPR 4 2 SW4
60 630 000 7619 BOLT,HEX-SCT 2 M4X8
61 411 113 5002 SCR FLT 4X12 2 M4X12 FLT
62 630 071 6399 BRACKET 1 703R--01B-066
63 411 141 4008 WASHER V 4X9X0.8 2 FW4
64 411 141 2905 WASHER SPR 4 2 SW4
65 630 000 7619 BOLT,HEX-SCT 2 M4X8
66 411 113 9109 SCR TRS 5X10 1 M5X10 TRS
71 630 064 9598 COVER 1 703R--01B-070
72 411 113 9109 SCR TRS 5X10 6 M5X10 TRS
73 630 064 9642 BRACKET 1 703R--01B-072
74 411 141 4107 WASHER V 5X10X1 2 FW5
75 411 141 6705 WASHER SPR 5 2 SW5
76 630 000 7732 BOLT,HEX-SCT 2 M5X8
77 630 065 2376 MECH PARTS(MAGNET CATCHE) 1 703R--01H-015
78 411 119 1909 WASHER V 3X7X0.5 2 FW3 F
79 411 086 4408 WASHER SPR 3 2 SW3 F
80 411 042 0703 SCR PAN 3X8 2 M3X8 PAN
81 411 034 7208 SCR FLT 3X8 2 M3X8 FLT