P-0198-001 - 第45页
MODEL TCM-3600J-2 0109-001 43 Key No. P AR T No. P AR T NAME Q’ ty REMARKS NOTE 3-8 1 630 048 4724 BASE 1 703KB-01B-024 2 630 048 7435 GUIDE,LINEAR 1 703KB-01H-013 3 630 048 4687 PLA TE 1 703KB-01B-023 4 41 1 141 4008 WA…

MODEL TCM-3600J-2
0109-001
42
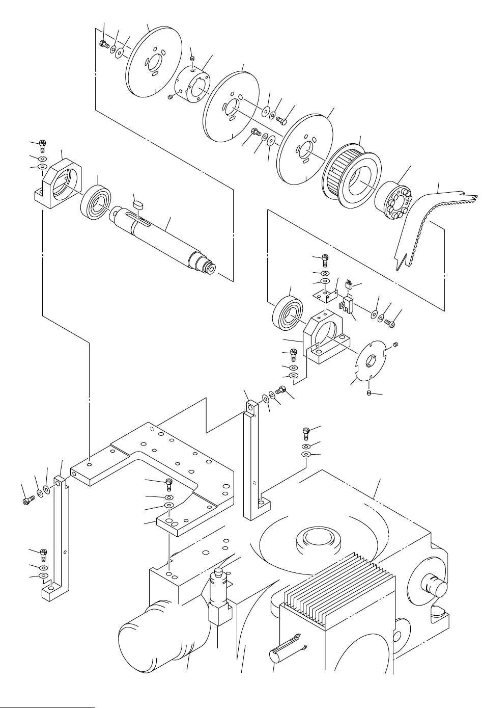
ࡋ࠶࠼㚟േㇱ HEAD DRIVING SECTION
Fig. 3-8 ๆ⌕ਅᱜ㚟േㇱ Pick-up Level Adjuster Driver
1
17
19
19
16
18
18
20
22
22
25
24
24
23
23
15
10
10
11
12
12
13
14
2
7
8
9
3
4
5
6
26
27
28
31
30
29
33
34
35
35
51
51
52
52
53
53
21
21
See Fig.2-1
Key No.1
See Fig.1-1
Key No.13
21
21

MODEL TCM-3600J-2
0109-001
43
Key No. PART No. PART NAME Q’ty REMARKS
NOTE
3-8
1 630 048 4724 BASE 1 703KB-01B-024
2 630 048 7435 GUIDE,LINEAR 1 703KB-01H-013
3 630 048 4687 PLATE 1 703KB-01B-023
4 411 141 4008 WASHER V 4X9X0.8 2 FW4
5 411 141 2905 WASHER SPR 4 2 SW4
6 630 000 7640 BOLT,HEX-SCT 2 M4X14
7 411 141 3902 WASHER V 3X7X0.5 8 FW3
8 411 141 2806 WASHER SPR 3 8 SW3
9 630 000 7510 BOLT,HEX-SCT 8 M3X8
10 630 048 4762 SPACER 1 703KB-01B-025
11 630 091 2999 MOTOR,AC-SERVO 1 SVM6(CZ), #SGMAH-01AAA21
703KB-01H-016
12 411 141 4008 WASHER V 4X9X0.8 2 FW4
13 411 141 2905 WASHER SPR 4 2 SW4
14 630 000 7626 BOLT,HEX-SCT 2 M4X10
15 630 003 1621 COUPLING 1 703KB-01H-015
16 630 048 4779 BRACKET 1 703KB-01B-026
17 630 071 0397 BALL SCREW 1 703KB-01H-014
18 630 000 7633 BOLT,HEX-SCT 4 M4X12
19 630 000 8043 BOLT,HEX-SCT 2 M8X35
20 630 000 7626 BOLT,HEX-SCT 2 M4X10
21 630 048 7527 SHOCK ABSORBER 2 703KB-01H-017
22 630 048 4717 PLATE 1 703KB-01B-028
23 411 141 3902 WASHER V 3X7X0.5 2 FW3
24 411 141 2806 WASHER SPR 3 2 SW3
25 630 000 7510 BOLT,HEX-SCT 2 M3X8
26 630 057 4036 BRACKET 1 703KB-01B-027
27 630 000 0245 SENSOR,PHOTO 3 PHS9, PHS10, PHS11
703KB-01H-011
28 630 000 0269 SENSOR,PHOTO(CONNECTOR) 3 703KB-01H-012
29 411 088 9005 WASHER F 3X6X0.5 6 FWS3 F
30 411 086 4408 WASHER SPR 3 6 SW3 F
31 411 162 1604 SCR PAN 3X20 6 M3X20 PAN
33 411 141 4008 WASHER V 4X9X0.8 2 FW4
34 411 141 2905 WASHER SPR 4 2 SW4
35 630 000 7626 BOLT,HEX-SCT 2 M4X10
51 630 001 0244 WASHER 2 703KB-01H-018
52 411 141 3100 WASHER SPR 8 2 SW8
53 630 000 8036 BOLT,HEX-SCT 2 M8X30

MODEL TCM-3600J-2
0109-001
44
ࡋ࠶࠼㚟േㇱ HEAD DRIVING SECTION
Fig. 3-9 ࠞࡓゲ㧙 2 Cam Shaft-2
12
12
13
14
14
15
15
16
16
17
18
19
19
20
21
21
26
22
23
23
24
25
25
27
28
29
29
30
33
33
32
32
31
31
41
42
43
44
44
45
46
47
47
48
48
49
49
34
1
11
11
10
10
9
2
3
4
5
8
7
6
See Fig.2-1
See Fig.2-1
Key No.1
20
19
18
28
28
33
32
31
5
4
3
8
7
6
2-1
2-1
35
Fig.3-9
TCM-3600J-2
TCM-3600J