Pipettes changer for IC-head S20_20211119_102054 - 第7页
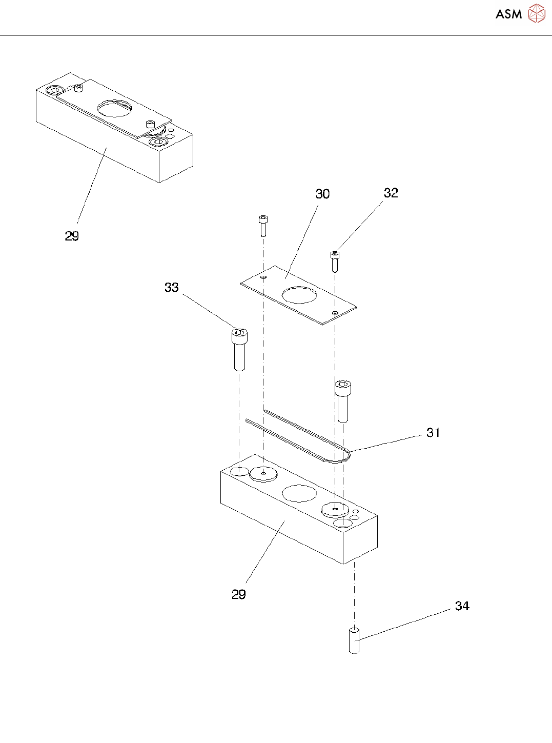
Pipettes changer for IC-head S20 Page 7 / 7 19.11.2021 Pos. Item no. Description Part marking 29 00323050-03 REJECT STATION SP6/12 30 00323051-03 LIMIT PLATE SP6/12 31 00323052S01 DETACH WIRE Tool 32 00306777-01 HEXAGON …

Pipettes changer for IC-head S20
Page 5 / 7 19.11.2021

Pipettes changer for IC-head S20
Page 6 / 7 19.11.2021
Pos. Item no. Description Part marking
1 00116161-03 NOZZLE CHANGER 12 SEG. C+P
HEAD F5HM
Retrofit Kit
2 00323044-06 NOZZLE MAGAZINE 7/9XX SPARE PART
3 00325910-02 SUPPORT UNIT SIPLACE S-20/F4
4 00317837-05 SUPPORT
5 00317838-02 LIFTING ROD
6 00317840-02 CHECK PLATE
7 00317843S02 DRIVER
8 00333842-01 LIFTING CYLINDER SPARE PART
9 00329405-01 BUFFER STOP
10 00095312S01 SCREW M4*10 DIN965 Spare Part
11 00619842-01 PARALLEL PIN 3M5*10
12 00095614-01 DIN 6325 - 3M5 X 18-ST Spare Part
13 00095211-01 HEXAGON SOCKET HEAD CAP
SCREW
14 00845042-01 HEXAGON SOCKET HEAD CAP
SCREW M5 X 10-8.8
15 00845034-01 HEXAGON SOCKET HEAD CAP
SCREW
16 00845026-01 HEXAGON SOCKET HEAD CAP
SCREW M4 X 12-8.8
17 00845024-01 HEXAGON SOCKET HEAD CAP
SCREW M4 X 8-8.8
18 00306438-01 DISTANCE BOLT TYPE B I/A-
M3X50-ST ZN
19 00845030-01 HEXAGON SOCKET HEAD CAP
SCREW
20 00317578S02 VALVE 5/2 M5 1,5 BAR-7,5 BAR SPARE PART
21 00317353S02 CONTROL UNIT NOZZLE CHANGER SPARE PART
22 00324408-01 DISTANCE BOLT
23 00200347-01 PARALLEL PIN
24 00332681-01 SCREW-IN ANGLE
25 00310021-01 SILENCER U-M5 NR4645 STANDARD PARTS
26 00300875-01 QUICK RELEASE FASTENER SPARE PART
27 00305234-01 SWIVELLING SCREW FITTING L-
M5-M5 MS
38 00334552S01 HOSE 4*2,5 PUR TU 0425 BU-20 CONSUMABLE
28 00323049S02 NOZZLE REJECT SP6/12 (S20) SPARE PART

Pipettes changer for IC-head S20
Page 7 / 7 19.11.2021
Pos. Item no. Description Part marking
29 00323050-03 REJECT STATION SP6/12
30 00323051-03 LIMIT PLATE SP6/12
31 00323052S01 DETACH WIRE Tool
32 00306777-01 HEXAGON SOCKET HEAD CAP
SCREW
33 00329135-01 DIN912-M3 X 14-A2-70
34 00619822-01 DIN 6325 - 2M5 X 6-ST
35 00323077S05 REJECT BOX SPARE PART
36 00317579-02 CABLE:TERMINAL BOARD-NOZZLE
CHANGER
SPARE PART
37 00350480-01 SUPPORT, NOZZLE CHANGER
HOLDER S23
SPARE PART
Powered by TCPDF (www.tcpdf.org)