Control unit_20211122_081015 - 第8页

Control unit Page 8 / 10 22.11.2021 Pos. Item no. Description Part marking 1 00373978-01 CONTROL UNIT SIPLACE CS 2 00366803S03 MVS340-6 VME V2321M CALIBR. SPARE PART 3 00373976-01 CONTROL UNIT CS WITHOUT MVS 00356213S02 …

100%1 / 10
Control unit
Page 7 / 10 22.11.2021
Control unit
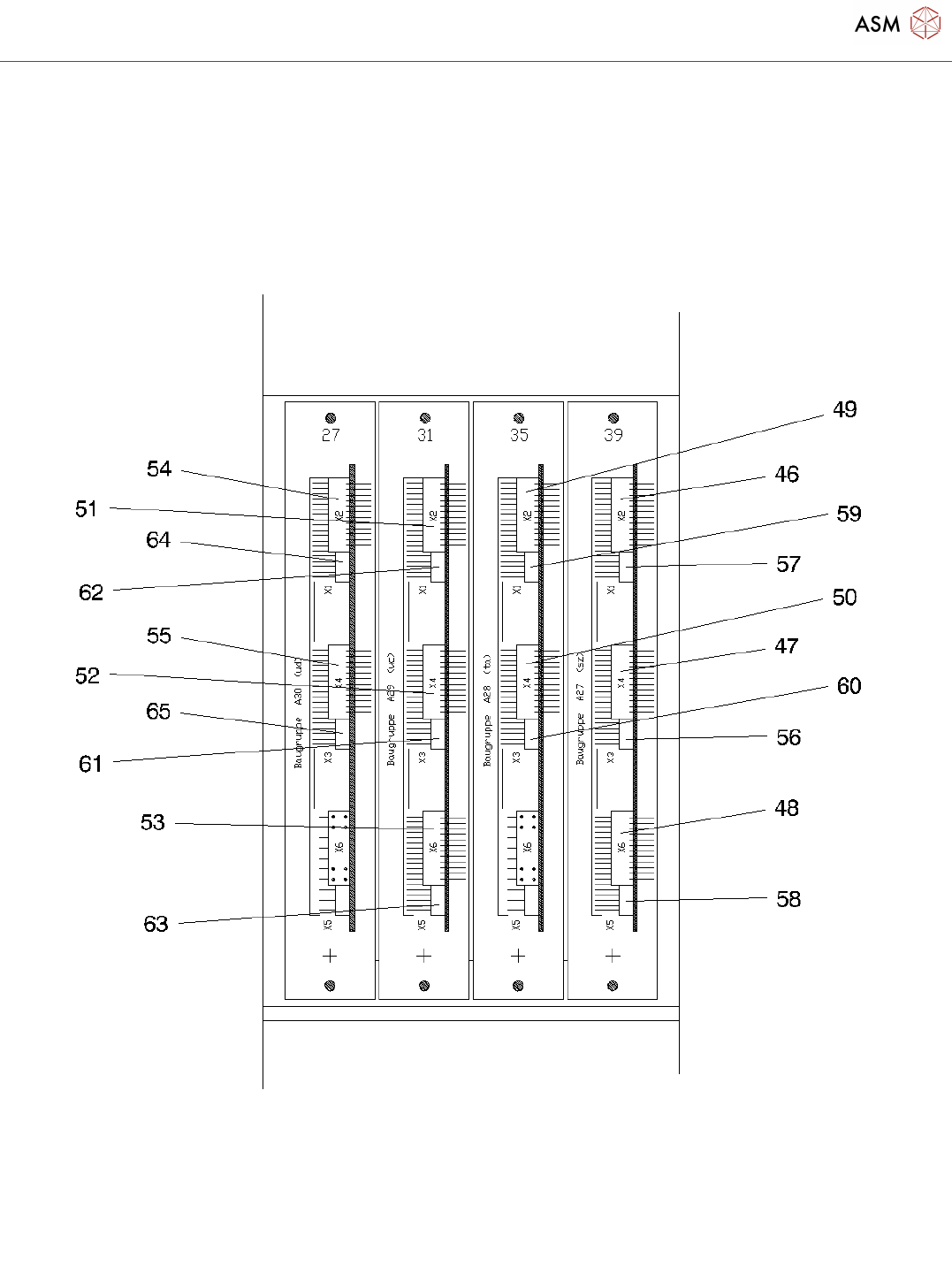
Page 8 / 10 22.11.2021
Pos. Item no. Description Part marking
1 00373978-01 CONTROL UNIT SIPLACE CS
2 00366803S03 MVS340-6 VME V2321M CALIBR. SPARE PART
3 00373976-01 CONTROL UNIT CS WITHOUT MVS
00356213S02 CONTROL UNIT S25-F5HM BASIC Spare Part
4 00362548-01 CONTROL UNIT S25-HM/F5-HM
RACK
5 00357328-01 BACKPLANE KSP-SYSS23 SPARE PART
6 00336392-01 BATTERY LITHIUM 3.6V MIGNON
7 00345028-01 FAN UNIT S23
8 00310847-02 FAN 4414F / 24VDC / 240MA SPARE PART
9 00335522S03 MACHINE CONTROLLER M54 SPARE PART
10 00335526S06 MASS STORAGE KSP-M351 SPARE PART
11 00335519S11 AXIS KSP-A362 FOR SIPLACE HS50 Spare Part
12 00356817S07 AXIS KSP-A362 1 X AC FOR
S23/F5-HM
SPARE PART
13 00372426-01 COMMUNICATION UNIT KSP-
COM351A
SPARE PART
14 00320312-01 INPUT-OUTPUT-BOARD (MIXED) Spare Part
16 00344771S04 POWER SUPPLY S23 SPARE PART
00374161-01 CABLE TREE CONTROL UNIT
SIPLACE CS
18 00344212-01 CABLE: TERMINAL BOARD-CONTROL
UNIT S23
19 00344213-01 CABLE: TERMINAL BOARD-CONTROL
UNIT S23
21 00344215-01 CABLE: ICOS-VIDEO CABLE S23 Spare
22 00344216-01 CABLE: ICOS-VIDEO CABLE S23 Spare Part
23 00344217-01 CABLE: CONTROL UNIT-
CONVERSION BOARD PORTAL S23
24 00344218-01 CABLE: CONTROL UNIT-
CONVERSION BOARD PORTAL S23
00344219-01 CABLE: GROUND STRAND
(TERM.-CONTR.) S23
26 00355048-01 CABLE: FLASH-MODE GANTRY 2 S23
27 00355049-01 CABLE: FLASH-MODE GANTRY 1 S23
28 00344222-01 CABLE: CAN-BUS PORTAL-1 S23
29 00344223-01 CABLE: CAN-BUS PORTAL-2 S23
00344224-01 CABLE: CRASH-SIGN.1
Control unit
Page 9 / 10 22.11.2021
Pos. Item no. Description Part marking
(TERM.-CONVERS.) S23
00344225-01 CABLE: CRASH-SIGN.1
(TERM.-CONVERS.) S23
00344226-01 CABLE: VOLTAGE STAR-MOTOR
PORTAL 1 S23
00344227-01 CABLE: VOLTAGE STAR-MOTOR
PORTAL 2 S23
34 00344228-01 CABLE: I/O-TERMINAL BOARDS S23
35 00344229-01 CABLE: I/O-TERMINAL BOARDS S23
36 00344230-01 CABLE: I/O-TERMINAL BOARDS S23
37 00344231-01 CABLE: I/O-TERMINAL BOARDS S23
38 00344232-01 CABLE: I/O-TERMINAL BOARDS S23
39 00344233-01 CABLE: I/O-TERMINAL BOARDS S23
40 00344234-01 CABLE: I/O-TERMINAL BOARDS S23
41 00344235-01 CABLE: I/O-TERMINAL BOARDS S23
42 00344236-01 CABLE: I/O-TERMINAL BOARDS S23
43 00344237-01 CABLE: I/O-TERMINAL BOARDS S23
44 00344238-01 CABLE: I/O-TERMINAL BOARDS S23
45 00344239-01 CABLE: I/O-TERMINAL BOARDS S23
46 00344240-02 CABLE: CONTROL UNIT-SERVO UNIT
S23
47 00344241-02 CABLE: CONTROL UNIT-SERVO UNIT
S23
48 00344242-01 CABLE: CONTROL UNIT-SERVO UNIT
S23
49 00344243-01 CABLE: CONTROL UNIT-SERVO UNIT
S23
50 00344244-01 CABLE: CONTROL UNIT-SERVO UNIT
S23
51 00344245-02 CABLE: CONTROL UNIT-SERVO UNIT
S23
52 00344246-02 CABLE: CONTROL UNIT-SERVO UNIT
S23
53 00344247-01 CABLE: CONTROL UNIT-SERVO UNIT
S23
54 00344248-01 CABLE: CONTROL UNIT-SERVO UNIT
S23
55 00344249-01 CABLE: CONTROL UNIT-SERVO UNIT
S23
56 00344250-01 CABLE: TRACK Y-AXIS S23