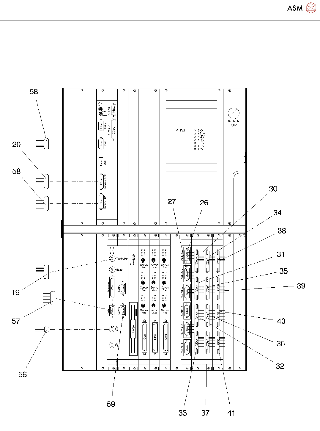
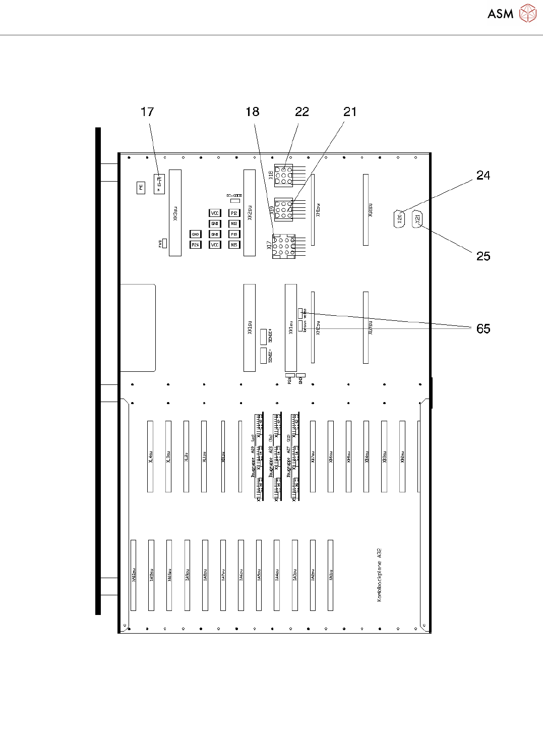
Control unit F5-HM_20211123_080901 - 第6页
Control unit F5-HM Page 6 / 10 23.11.2021

Control unit F5-HM
Page 5 / 10 23.11.2021

Control unit F5-HM
Page 6 / 10 23.11.2021

Control unit F5-HM
Page 7 / 10 23.11.2021
Control unit F5-HM Page 6 / 10 23.11.2021


