Control unit F5-HM_20211123_080901 - 第8页
Control unit F5-HM Page 8 / 10 23.11.2021 Pos. Item no. Description Part marking 1 00345179-02 CONTROL UNIT F5-HM 2 00366803S03 MVS340-6 VME V2321M CALIBR. SPARE PART 3 00345180-03 CONTROL UNIT F5-HM WITHOUT MVS 00356213…

Control unit F5-HM
Page 7 / 10 23.11.2021

Control unit F5-HM
Page 8 / 10 23.11.2021
Pos. Item no. Description Part marking
1 00345179-02 CONTROL UNIT F5-HM
2 00366803S03 MVS340-6 VME V2321M CALIBR. SPARE PART
3 00345180-03 CONTROL UNIT F5-HM WITHOUT
MVS
00356213S02 CONTROL UNIT S25-F5HM BASIC Spare Part
4 00362548-01 CONTROL UNIT S25-HM/F5-HM
RACK
5 00357328-01 BACKPLANE KSP-SYSS23 SPARE PART
6 00336392-01 BATTERY LITHIUM 3.6V MIGNON
7 00345028-01 FAN UNIT S23
8 00310847-02 FAN 4414F / 24VDC / 240MA SPARE PART
9 00335522S03 MACHINE CONTROLLER M54 SPARE PART
10 00335526S06 MASS STORAGE KSP-M351 SPARE PART
11 00356817S07 AXIS KSP-A362 1 X AC FOR
S23/F5-HM
SPARE PART
12 00356055S07 AXIS KSP-A362 FOR SIPLACE
S23/F5-HM
SPARE PART
13 00372426-01 COMMUNICATION UNIT KSP-
COM351A
SPARE PART
14 00320312-01 INPUT-OUTPUT-BOARD (MIXED) Spare Part
15 00344771S04 POWER SUPPLY S23 SPARE PART
00345455-02 CABLE TREE CONTROL UNIT F5-HM
(UL)
17 00344212-01 CABLE: TERMINAL BOARD-CONTROL
UNIT S23
18 00344213-01 CABLE: TERMINAL BOARD-CONTROL
UNIT S23
19 00344214-01 CABLE: KEYBOARD-ADAPTER S23
20 00344215-01 CABLE: ICOS-VIDEO CABLE S23 Spare
21 00345456-01 CABLE: TERMINAL BOARD -
CONTROL UNIT F5HM
22 00344217-01 CABLE: CONTROL UNIT-
CONVERSION BOARD PORTAL S23
00344219-01 CABLE: GROUND STRAND
(TERM.-CONTR.) S23
24 00355053-01 CABLE: FLASH-MODE F5HM
25 00345512-01 CABLE: CONTROL UNIT -
ILLUMINATION CONTROL F5HM
26 00345481-01 CABLE: CAN-BUS (PORTAL 1) F5HM

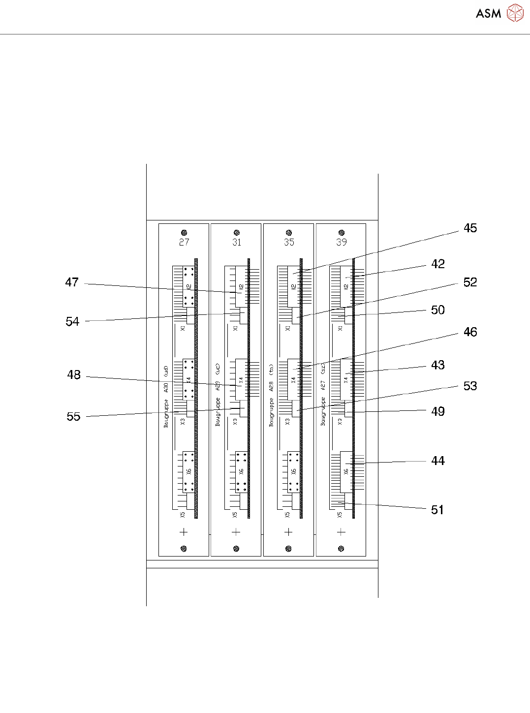
Control unit F5-HM
Page 9 / 10 23.11.2021
Pos. Item no. Description Part marking
27 00344222-01 CABLE: CAN-BUS PORTAL-1 S23
00344224-01 CABLE: CRASH-SIGN.1
(TERM.-CONVERS.) S23
00344226-01 CABLE: VOLTAGE STAR-MOTOR
PORTAL 1 S23
30 00344228-01 CABLE: I/O-TERMINAL BOARDS S23
31 00344229-01 CABLE: I/O-TERMINAL BOARDS S23
32 00344230-01 CABLE: I/O-TERMINAL BOARDS S23
33 00344231-01 CABLE: I/O-TERMINAL BOARDS S23
34 00345482-01 CABLE: I/O-TERMINAL BOARDS(KSP-
P218) F5HM
35 00344233-01 CABLE: I/O-TERMINAL BOARDS S23
36 00344234-01 CABLE: I/O-TERMINAL BOARDS S23
37 00344235-01 CABLE: I/O-TERMINAL BOARDS S23
38 00345483-01 CABLE: I/O-TERMINAL BOARDS(KSP-
P218) F5HM
39 00345485-01 CABLE: I/O-TERMINAL BOARDS(KSP-
P218) F5HM
40 00345486-01 CABLE: I/O-TERMINAL BOARDS(KSP-
P218) F5HM
41 00345487-01 CABLE: I/O-TERMINAL BOARDS(KSP-
P218) F5HM
42 00345488-01 CABLE: CONTROL UNIT - SERVO
UNIT F5HM
43 00345490-01 CABLE: CONTROL UNIT - SERVO
UNIT F5HM
44 00345501-01 CABLE: CONTROL UNIT - SERVO
UNIT F5HM
45 00345502-01 CABLE: CONTROL UNIT - SERVO
UNIT F5HM
46 00345503-01 CABLE: CONTROL UNIT - SERVO
UNIT F5HM
47 00345504-01 CABLE: CONTROL UNIT - SERVO
UNIT F5HM
48 00345505-01 CABLE: CONTROL UNIT - SERVO
UNIT F5HM
49 00344250-01 CABLE: TRACK Y-AXIS S23
50 00344251-01 CABLE: TRACK X-AXIS S23
51 00344252-01 CABLE: TRACK SIGNAL
52 00344253-01 CABLE: TRACK SIGNAL