00193922-01 - 第283页
User Manual SIPLAC E HF Series 7 Station extensions Software Vers ion SR.505.xx 05/2004 US Edition 7.1 Nozzle c hanger 283 7.1.2 Nozzle changer for t he 6-se gment Colle ct&Place head This no zzle ch anger can hold u…

7 Station extensions User Manual SIPLACE HF Series
7.1 Nozzle changer Software Version SR.505.xx 05/2004 US Edition
282
7.1.1.9 Assembly kit for the "row 2" nozzle changer
The "row 2" nozzle changer may be installed at the following locations:
HF placement machine: Locations 1 and 3 (see Fig. 7.1 - 2
, page 274)
HF/3 placement machine: Locations 1, 3, and 4 (see Fig. 7.1 - 3
, page 275)
The retrofit package contains an assembly kit and a nozzle take-off device with reject bin, in ad-
dition to the nozzle changer.
7
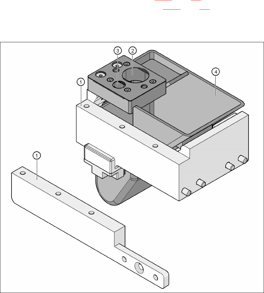
Fig. 7.1 - 8 Assembly kit for the "row 2" nozzle changer
(1) Assembly kit for the "row 2" nozzle changer
(2) Nozzle take-off device for type 8xx nozzles
(3) Nozzle take-off device for type 9xx nozzles
(4) Nozzle reject bin

User Manual SIPLACE HF Series 7 Station extensions
Software Version SR.505.xx 05/2004 US Edition 7.1 Nozzle changer
283
7.1.2 Nozzle changer for the 6-segment Collect&Place head
This nozzle changer can hold up to 6 magazines, each with 6 nozzle holders. There are two types
of magazine available: magazines for type 8xx nozzles and magazines for type 9xx nozzles. The
magazines are seated on a common support. They are centered using two parallel pins and fixed
in place with clips.
7
Fig. 7.1 - 9 Nozzle changer for the 6-segment Collect&Place head
7.1.2.1 Technical data
7
Nozzle changer for the 6-segment Collect&Place head
Dimensions (length x width x height) 448 x 122.5 x 97.7 mm³
Number of nozzle holders 6
Nozzle types 8 xx, 9 xx
Time required to open and close the locking plate < 200 ms
Compressed air connection 0.48 MPa (4.8 bar)

7 Station extensions User Manual SIPLACE HF Series
7.1 Nozzle changer Software Version SR.505.xx 05/2004 US Edition
284
7.1.2.2 Position of the nozzle changers for the C&P6 head on the HF placement machine
1 or 2 nozzle changers may be installed at locations 1 and 3 for the 6 segment Collect&Place head
(items 1 and 2 in Fig. 7.1 - 10
). A nozzle changer may be installed at locations 2 and 4. This gives
a total capacity of 6 nozzle changers with 36 magazines and a total of 216 nozzle holders.
7
Fig. 7.1 - 10 Position of the nozzle changers for the C&P6 head on the HF placement machine
(1) "Row 1" nozzle changer
(2) "Row 2" nozzle changer
(3) Reject bin for components
(4) Take-off device and reject bin for nozzles
(5) Nozzle magazine
7
7
7