00193922-01 - 第291页
User Manual SIPLAC E HF Series 7 Station extensions Software Vers ion SR.505.xx 05/2004 US Edition 7.1 Nozzle c hanger 291 7.1.2.8 Position detect ion Every ma gazine of the nozz le change r has a pos itioning fiducial f…

7 Station extensions User Manual SIPLACE HF Series
7.1 Nozzle changer Software Version SR.505.xx 05/2004 US Edition
290
7.1.2.7 Changing the magazine
Æ To remove the magazine, press the spring hook (item 1) away from the magazine and lift the
magazine out of the base.
7
Fig. 7.1 - 14 Changing the magazine
(1) Spring hook
(2) Retaining clamp
(3) Centering hole
(4) Slot
(A) Push the spring hook away from the magazine
PLEASE NOTE
Make sure that you insert the magazine so that the centering pins slide into the centering hole
(item 3) and slot (item 4). 7
Æ First place the side of the magazine with the centering hole (item 3) and the slot (item 4) on
the base. The two knobs on the magazine must slide into the retaining clamp (item 2).
Æ Push the spring hook away from the magazine.
Æ Press the magazine so that it lies flat on the base, then release the spring hook. The spring
hook must latch into place.
7

User Manual SIPLACE HF Series 7 Station extensions
Software Version SR.505.xx 05/2004 US Edition 7.1 Nozzle changer
291
7.1.2.8 Position detection
Every magazine of the nozzle changer has a positioning fiducial for position detection.
7
Fig. 7.1 - 15 Nozzle changer - position detection
(1) Positioning fiducial
(2) Position of the nozzles in the magazine with respect to the positioning fiducial

7 Station extensions User Manual SIPLACE HF Series
7.1 Nozzle changer Software Version SR.505.xx 05/2004 US Edition
292
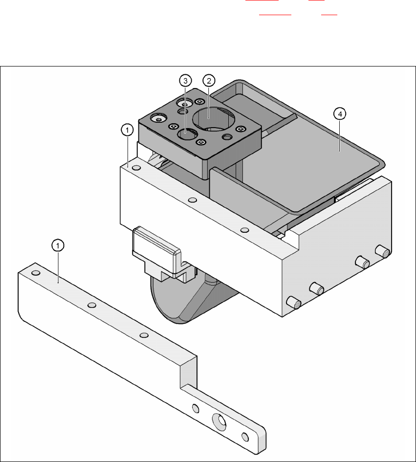
7.1.2.9 Assembly kit for the "row 2" nozzle changer
The "row 2" nozzle changer may be installed at the following locations:
HF placement machine: Locations 1 and 3 (see Fig. 7.1 - 10
, page 284)
HF/3 placement machine: Locations 1, 3, and 4 (see Fig. 7.1 - 11
, page 285)
The retrofit package contains an assembly kit and a nozzle take-off device with reject bin, in ad-
dition to the nozzle changer.
7
Fig. 7.1 - 16 Assembly kit for the 2nd nozzle changer
(1) Assembly kit for the "row 2" nozzle changer
(2) Nozzle take-off device for type 8xx nozzles
(3) Nozzle take-off device for type 9xx nozzles
(4) Nozzle reject bin