00193922-01 - 第323页
User Manual SIPLAC E HF Series 7 Station extensions Software Vers ion SR.505.xx 05/2004 US Edition 7.9 Fe eder cover flap 323 7.9 Fee der c over fl ap The feede r cover fla p is installed o ver the c omponent fee der are…
7 Station extensions User Manual SIPLACE HF Series
7.8 PCB alignment Software Version SR.505.xx 05/2004 US Edition
322
7.8.2 Description of the functions
The PCB is transported into the placement area until the laser light barrier triggers the stop signal
for the PCB conveyor. The lifting table with the PCB stops then moves up into a position in which
the PCB is not yet clamped and can still be moved by the conveyor belts. The two PCB stops are
level with the PCB, and the PCB supports (magnetic pins) are already in contact with the PCB.
The two conveyor belts move the PCB against the PCB stops and align them at the same time.
The lifting table then moves into its top end position, clamps the PCB and releases it from the PCB
stops so as not to affect the placement process. After the placement process, the lifting table and
PCB alignment are lowered and the PCB is moved on.
7

User Manual SIPLACE HF Series 7 Station extensions
Software Version SR.505.xx 05/2004 US Edition 7.9 Feeder cover flap
323
7.9 Feeder cover flap
The feeder cover flap is installed over the component feeder area. It is designed to prevent a head
crash with an upright feeder retainer that has not been engaged correctly. The feeder cover flap
can also prevent the front panel of feeders entering the placement head travelling range due to
incorrect operation.
7
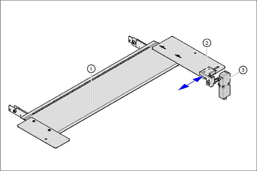
Fig. 7.9 - 1 Feeder cover flap for locations 1 and 3
(1)Feeder cover flap
(2)Mechanical lock
(3)Switch in the emergency stop circuit
The feeder cover flap is available in two versions: one for location 1 or 3 and one for location 2 or 4.
The switch for the feeder cover flap is looped into the emergency stop circuit. The feeder cover
flap must be locked mechanically, which causes the switch to close the open emergency stop cir-
cuit.

7 Station extensions User Manual SIPLACE HF Series
7.10 Component sensor Software Version SR.505.xx 05/2004 US Edition
324
7.10 Component sensor
7
Fig. 7.10 - 1 Placement head with component sensor
(1) Placement head
(2) Component sensor