文档中心
/
Servo unit S25-HM_20211123_100012
Servo unit S25-HM_20211123_100012 - 第2页
Servo unit S25-HM Page 2 / 6 23.11.2021
目录
100%
显示:宽度
宽度
1 / 6
回到旧版
旧版
?
Servo unit S25-HM
Page 1 / 6
23.11.2021
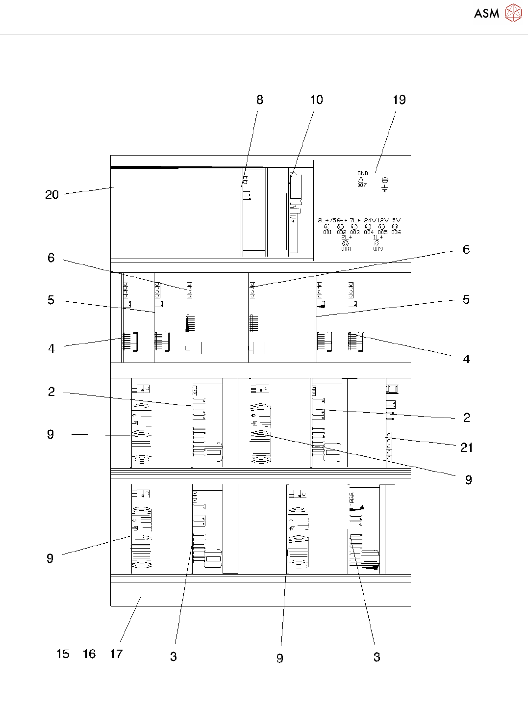
Servo unit S25-HM
Page 2 / 6
23.11.2021
Servo unit S25-HM
Page 3 / 6
23.11.2021
该页面需要启用 JavaScript 才能进行交互式预览。