NT系列V2_简_说明书_20050904_V2_0标准 - 第14页
S U N EA ST N T S e r i e s V 2 H o t A i r R e f l o w O p e r a ti o n M a nu a l 12 S UN E A S T TE C HNO L OGY D E V EL O P M E N T Co . , LTD 3.4.4 NT 系列 V2 版回流炉各 型 号 不 同点 NT 为 无铅 系列 代 号 ; 5 , 7 , 8 , 10 为 温区 数 ; A …

SUN EAST NT Series V2 Hot Air Reflow Operation Manual
11 SUN EAST TECHNOLOGY DEVELOPMENT Co.,LTD
3.3 结构简图
图 3-1
3.4 系统介绍
3.4.1 运输系统
PCB 产品是通过运输系统的传送而通过回流炉的。运输系统主要由运输导轨、传送链轮、
链条和传送网带等组成。传送网带为标准的 560mm 不锈钢网带,传送速度通过控制软件无级
调速。运输导轨的宽度根据 PCB 板尺寸通过变向器及丝杆、螺母传动自由调节,最宽可调至
460mm。
采用链网传输,驱动装置安装在炉子的出口处。驱动装置包括驱动马达、驱动轴、驱动链
条及链轮、导向丝杆及其它导轨运输元件等。
3.4.2 炉内温区构成
NT 系列 V2 版回流炉炉体主要由进口、预热区、保温区、回流区及冷却区组成。以导轨为
中心,上、下温区独立循环、独立控温。每一独立温区的气流均经过加速增压及加热后通过整
流板均匀地作用在 PCB 上、下两面上。NT 系列 V2 版回流炉所有加热区均有上下两个加热模
块(详见 3.3 节回流炉结构简图), 独 立 循环、独立控温。各温区采用相同模块式结构,易于维
护和更换。
3.4.3 冷却区
NT 系列 V2 版回流炉冷却区在回流区之后,是专门制作的冷却模块,外接冷水机,可实现
高效冷却。
选配氮气装置时采用加强型上、下双冷却区冷却:通过水冷式热交换器、冷却风扇及出口
处的气帘等装置将经过热交换后冷却的气体从上、下两面作用在 PCB 板上。PCB 板经过冷却
区强制冷却后被运输系统送到炉子外面,完成回流焊接。
热交换器上装有助焊剂过滤装置,可保证洁净的气体在炉内循环;冷却风扇速度可以控制,
可维持冷却区稳定的惰性气体含量。
打开冷却模块的上盖,可方便对冷却风扇、助焊剂过滤装置等的维护。
PDF 文件使用 "pdfFactory" 试用版本创建 www.fineprint.com.cn

SUN EAST NT Series V2 Hot Air Reflow Operation Manual
12 SUN EAST TECHNOLOGY DEVELOPMENT Co.,LTD
3.4.4 NT 系列 V2 版回流炉各型号不同点
NT 为无铅系列代号;5,7,8,10 为温区数;A:空气,N:氮气;V2:版本。
温区数不同,机身长度不同。
3.4.5 运输速度控制
回流炉运输系统的速度可根据用户的需要自行设定,由软件进行控制。控制精度可达±
6mm/min。
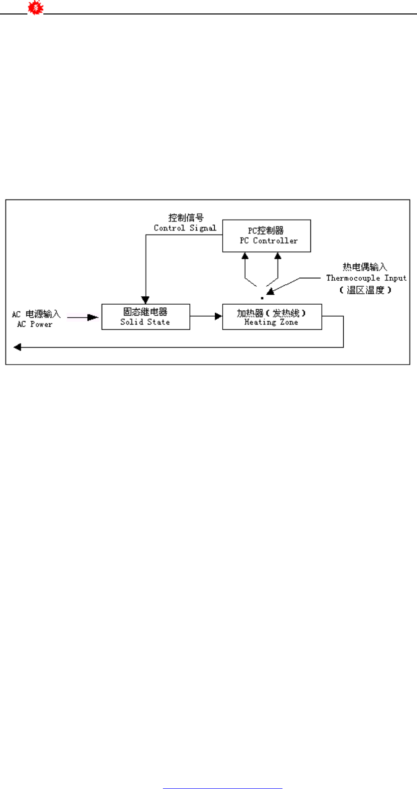
3.4.6 温度控制
各温区设定温度通过软件操作进行设置,各温区的实际温度通过安装在每个温区的热电偶
传递并显示在 PC 监视屏上,同时也将控制信号反馈给电控箱中的固态继电器以提供足够的动
力将温度维持在设定的数值。
图 3-3 温度控制回路
3.4.7 测温线接口
NT 系列 V2 版回流炉测温线接口安装在机器前面的操作控制面板上。测温线输入端与工控
机上的测温卡相连,通过回流炉控制软件捕捉到焊接时的温度曲线,并可显示、打印及存储调
用温度曲线。
3.4.8 温度超差报警保护
当实际温度超过设定温度上、下限时,系统将通过软件控制发出报警信号、显示报警信息,
同时所有加热区停止加热(冷却区温度超差只报警,不停止加热)( 如 温区温度设定为 200℃,
当上、下限温度设定为 10℃,则当实际温度超过 210℃或低于 190℃时则会发出报警), 运 输 系
统 继续运行,将 PCB 板安全送出回流炉。在故障原因排除后,重新打开加热开关进行加热。
3.4.9 气体控制
NT 系列 V2 版回流炉要求有气体控制装置,因为要供给炉子洁净的氮气或空气。气体控制
装置有:
l 进出口气帘
l 进、排气装置及控制软件
l 流量计及氧气浓度分析仪(氮气型选配)
l 可选配助焊剂回收装置
3.4.10 控制系统
NT 系列 V2 版回流炉控制系统由 PC 电脑、控制板卡及回流炉控制软件等组成。可实现对
系统的设置、对过程精确控制( 如 速度、温度、工作时间)、对状态实时监控(温度曲线、超温、
电源缺相)等功能。
PC 控制系统的安装见 3.3 节的结构简图。显示器安装在炉子一端的悬臂架上,可根据使用
PDF 文件使用 "pdfFactory" 试用版本创建 www.fineprint.com.cn

SUN EAST NT Series V2 Hot Air Reflow Operation Manual
13 SUN EAST TECHNOLOGY DEVELOPMENT Co.,LTD
需要转动悬臂以调整显示器和键盘的位置;工控机安装在显示器下面的机架内,四周有机器门
板防护,通过电缆与回流炉连接。
3.5 工作原理
回流焊接工艺过程就是液态无铅合金焊料对被焊金属表面的润湿过程,包括预热、保温、
回流、冷却四个阶段。
其工作原理是当PCB基板进入预热时间时使无铅焊膏的水分、气体蒸发掉,同时,焊膏
中的助焊剂润湿焊盘、元件引脚,焊膏软化、塌落、覆盖了焊盘,将焊盘、元器件引脚与氧气
隔离,PCB在预热时得到充分预热,当PCB进入焊接(回流区), 温度迅速上升使得焊膏达
到熔化状态,对PCB的焊盘、元器件引脚润湿、扩散、漫流或回流混合形成锡焊接头,实现
回流焊接。最后 PCB 经过冷却区通过冷却装置充分冷却后从出口处被送出回流炉。
PDF 文件使用 "pdfFactory" 试用版本创建 www.fineprint.com.cn