PTS-FIFEEDER-20_(1) - 第50页
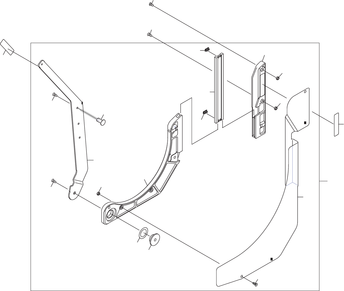
47 PTS-FIFEEDER-20 R E E L H O L D E R W 0 8 c ,W 0 8 f 13 in c h リ ー ル ホ ル ダ W0 8c , W0 8 f 1 3イ ン チ AA1KA15 No. 番 号 D rg .N o . & C od e N o. 図番 & コ ード番号 QT Y 個 数 Descri ption 品名 Rat ing 規 格 Re ma rk s 備 考 1 A…

46 PTS-FIFEEDER-20
REELHOLDERW08c,W08f 13inch
リール ホルダ W08c,W08f 13インチ
21
17
18
15
18
5
16
4
14
10
11
9
8
13
22
23
23
22
21
1
16
6
2

47 PTS-FIFEEDER-20
REEL HOLDER W08c,W08f 13inch
リール ホルダ W08c,W08f 13インチ
AA1KA15
No.
番号
Drg.No. & Code No.
図番 & コード番号
QTY
個数
Description
品名
Rating
規格
Remarks
備考
1
AA1KA15
1
HOLDER, REEL
ホルダ リール
2
PJ02159
1
HOLDER, REEL
ホルダ リール
4
PB31233
1
ARM
アーム
5
PM25965
1
PIN
ピン
6
K5357X
1
SCREW, HEX SOCKET COUNTERSUNK
小ネジ 六角穴皿
M03X008(3カ シロ)
8
PM04075
1
PIN, PIVOT
ピン 支点
9
W1007A
1
WASHER
ワッシャ
WW-16
ウェーブワッシャ
10
K64283
1
SCREW, HEX SOCKET COUNTERSUNK
小ネジ 六角穴皿
M04X008(3カシロ)
11
PB32393
1
RETAINER, REEL
押え リール
13
K53579
2
SCREW, HEX SOCKET COUNTERSUNK
小ネジ 六角穴皿
M03X010(3カ シロ)
14
N10793
2
NUT, HEX
ナット 六角
M03 P=0.5(3カシロ)
15
PM63923
1
SLIDER
スライダ
16
PJ02703
2
STOPPER
ストッパ
17
PJ02146
1
BKT, HOLDER
BKT ホルダ
18
N1079B
2
NUT, HEX
ナット 六角
M04 P=0 .7 1シュ(3カシロ)
21
2MDLFA159400
2
SCREW, HEX SOCKET COUNTERSUNK
小ネジ 六角穴皿
22
PX09121
2
SEAL, BAR CODE
シール バーコード
W08c, unit serial number
23
2MDLFA067400
2
SEAL, BAR CODE
シール バーコード
W08f, unit serial number

48 PTS-FIFEEDER-20
PARTS for BUCKET TYPE REEL HOLDER_W08f
⃞⃞⃞⃞B: I
4
2
3
1