Control unit_20211124_045316 - 第5页
Control unit Page 5 / 5 24.11.2021 Pos. Item no. Description Part marking 29 00336392-01 BATTERY LITHIUM 3.6V MIGNON 00335455-01 PARTITION PLATE CONTROL UNIT 31 00332362-01 COVER VENTILATION 32 00336386-01 AXIS REAR PANE…

Control unit
Page 3 / 5 24.11.2021

Control unit
Page 4 / 5 24.11.2021
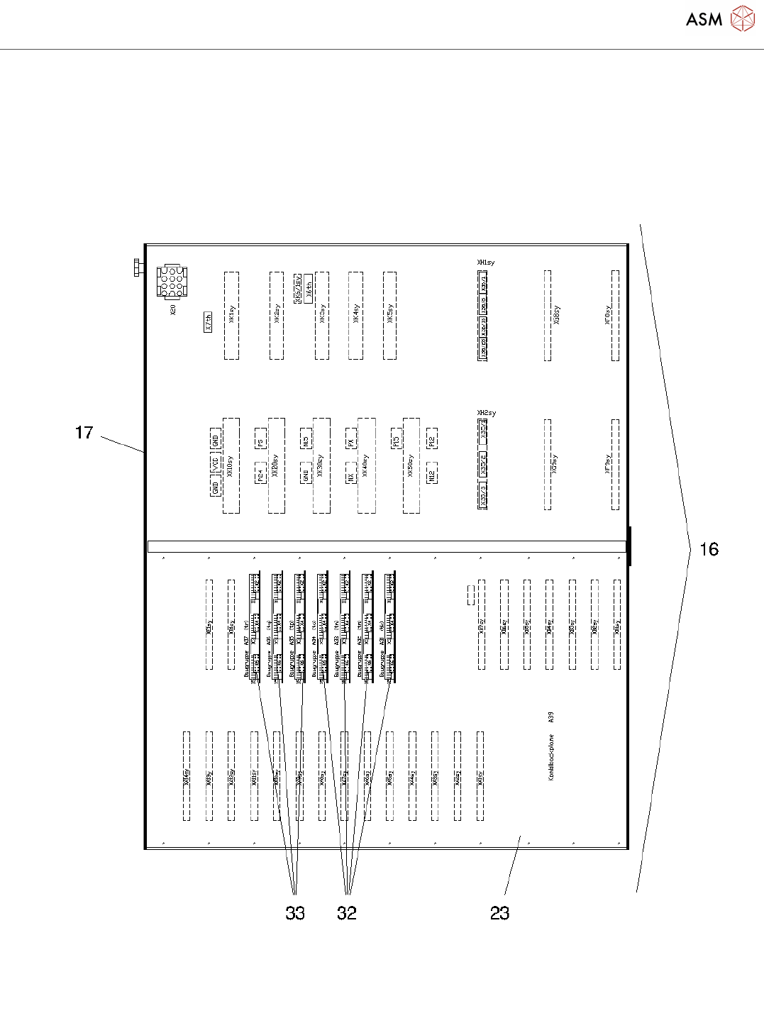
Pos. Item no. Description Part marking
1 00334808-02 CONTROL UNIT HS50
00335484-02 CONTROL UNIT HS50 WITHOUT MVS
03038744-01 CONTROL UNIT WITHOUT CABLE
TREE WITHOUT MVS
3 00335522S03 MACHINE CONTROLLER M54 SPARE PART
4 00335526S06 MASS STORAGE KSP-M351 SPARE PART
5 00335520S11 AXIS KSP-A362 3 X AC SPARE PART
6 00335519S11 AXIS KSP-A362 FOR SIPLACE HS50 Spare Part
7 00372446-01 COMMUNICATION UNIT KSP-
COM352A
Spare Part
8 03051561-02 VIDEO MULTIPLEXER KSP-VMP-
S50/HF
SPARE PART
9 00328492S03 DC/DC-CONVERTER KSP-SV501
+/-12V
SPARE PART
10 00329380-03 POWER SUPPLY +/-15V SPARE PART
11 00329073-02 POWER SUPPLY +5V / +24V SPARE PART
12 00329220-04 POWER SUPPLY +5V SPARE PART
13 00335527-01 PARTIAL FRONT PLATE 6HE 4TE
14 00335528-01 PARTIAL FRONT PLATE 6HE 8TE
15 00341762-01 PARTIAL FRONT PANEL 6HE 12TE
16 00334809S01 CONTROL UNIT S50 WITHOUT
CARDS
Spare Part
17 00335208-01 CONTROL UNIT HS50 RACK
00341855-01 CARRYING HANDLE 255MM FOR
PLUG-IN UNIT
00341856-01 CARRYING HANDLE 160MM FOR
PLUG-IN UNIT
00305343-01 GUIDE RAIL ES902C 160MM
PLASTIC
SPARE PART
00334696-01 GUIDE RAIL 160MM FOR CONTACT
SPRING
SPARE PART
00334698-01 CONTACT SPRING FOR GUIDE RAIL SPARE PART
23 00357329-01 COMBI-BACKPLANE KSP-SYSS23
24 00335379-01 FAN UNIT S50
25 00319141-01 AXIAL AIR VENT 4414F 24VDC SPARE PART
26 00332363-02 FAN MOUNT
27 00329487-01 PERFORATED PLATE BATTERY
28 00305424-01 BATTERY SECTION 1504 1-MIGNON SPARE

Control unit
Page 5 / 5 24.11.2021
Pos. Item no. Description Part marking
29 00336392-01 BATTERY LITHIUM 3.6V MIGNON
00335455-01 PARTITION PLATE CONTROL UNIT
31 00332362-01 COVER VENTILATION
32 00336386-01 AXIS REAR PANEL X/Y/STAR Spare Part
33 00336387-01 AXIS REAR PANEL Z/DP Spare Part
00335693-01 CABLE HS50: VIDEOMULTIPLEXER -
MC
36 00335534-01 CABLE: HS50 VIDEO MULTIPLEXER -
ICOS
SPARE PART
00354987-01 COVER PLATE CONTROL UNIT HS50
00337860-08 CABLE: TREE SET SERVO-CONTROL
UNIT HS50
Spare Part
34 00366803S03 MVS340-6 VME V2321M CALIBR. SPARE PART
35 00386353-01 GER_FLOPPY_D353G_`1/1,6/2MB Spare Part
Powered by TCPDF (www.tcpdf.org)