JX-200维修调整要领书.pdf - 第62页
Rev. 1.0 维修调整要领书 5-5 5-6 . 支撑台 上升/下降 传感器( BU 上升/下降 传感器)的更换 1) 请松开传感器的止动螺钉,从止动座上卸下。 2) 把传感器和传感器配件之间的距离调整为 1m m 。(参照图 5-6-2 ) 图 5-6-1 图 5-6-2 BU 上升传感器 BU 下降传感器 止动螺钉 传感器配件 传感器

Rev. 1.0
维修调整要领书
5-4
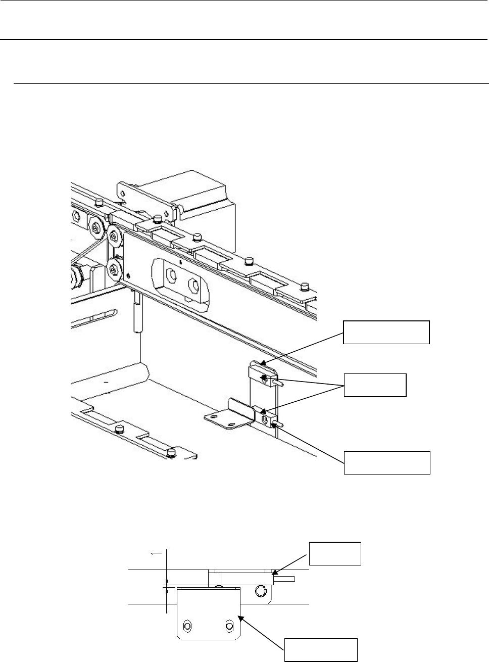
5-5.CONVEYOR NEAR/CxOUT传感器的更换
1)卸下止动器安装的各传感器的固定螺丝,更换传感器。
图 5-5-1
2)请进行电线配线处理。
3)把黑色环氧树脂玻璃布基板(无光泽)放到传感器出现反应的位置,先把传感器的灵敏度调整旋
钮向逆时针方向旋转,然后再慢慢地向顺时针方向转动,调整到可以检测出指定基板的位置。
※ 如果没有黑色的玻纤环氧树脂基板,请使用现有基板中颜色最深的基板。
止动螺钉
CxOUT 传感器
CONVEYOR NEAR 传感器
止动螺钉

Rev. 1.0
维修调整要领书
5-5
5-6.支撑台 上升/下降 传感器(BU上升/下降 传感器)的更换
1)请松开传感器的止动螺钉,从止动座上卸下。
2)把传感器和传感器配件之间的距离调整为 1mm。(参照图 5-6-2)
图 5-6-1
图 5-6-2
BU 上升传感器
BU 下降传感器
止动螺钉
传感器配件
传感器

Rev. 1.0
维修调整要领书
5-6
5-7.减压阀的更换
卸下配管用软管,卸下②SM4033001SC 安装螺钉,更换减压阀。
压力调整值如下。
调整值: 0.3MPa(±0.05MPa)
5-8.轨道导轴的更换
1) 请松开 RAIL GUIDE SH 的止动螺钉,拆下。
2) 以相反的操作顺序进行安装。
3) 安装时,请将轴的平坦部对准螺钉,用安装螺钉予以固定。
※ 安装后,请在抬起 BU 工作台的状态下调整轨道导轴,使之与侧梁紧密固定无松动。
图 5-8-1
图 5-7-1
减压阀
安装螺钉
RAIL GUIDE SH
止动螺钉