MVIIF Parts list-Electrical20101207 - 第39页
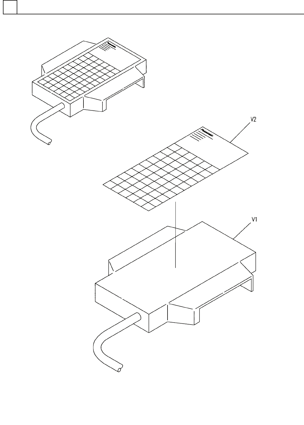
イラスト No. REF No. PART No. PART NAME REMAR KS Q'TY 14 サブコントロール パネル (P935L -001-MV2F- N-D) SUB CONTROL PANEL (P935L- 001-MV2F-N-D ) 部 品 名 品 番 個数 備 考 1 N1P935L0-127 SUB CONTROL P ANEL(JAPANESE) フクソウサハ ゙ン(ワブン) P935L-…

サブコントロールパネル (P935L-001-MV2F-N-D)
SUB CONTROL PANEL (P935L-001-MV2F-N-D)
14
FN1P935L0-127
E27

イラスト
No.
REF
No.
PART No.
PART NAME
REMARKS
Q'TY
14
サブコントロールパネル (P935L-001-MV2F-N-D)
SUB CONTROL PANEL (P935L-001-MV2F-N-D)
部 品 名 品 番 個数
備 考
1 N1P935L0-127
SUB CONTROL PANEL(JAPANESE) フクソウサハ
゙ン(ワブン)
P935L-001-MV2F-N-D
V 1
1
N1P935L001D
SUB-CONTROL PANEL フクソウサバン P935L-001-D
V 2
1
3042739123
KEY SHEET(JAPANESE) キーシート(ワブン)
E28
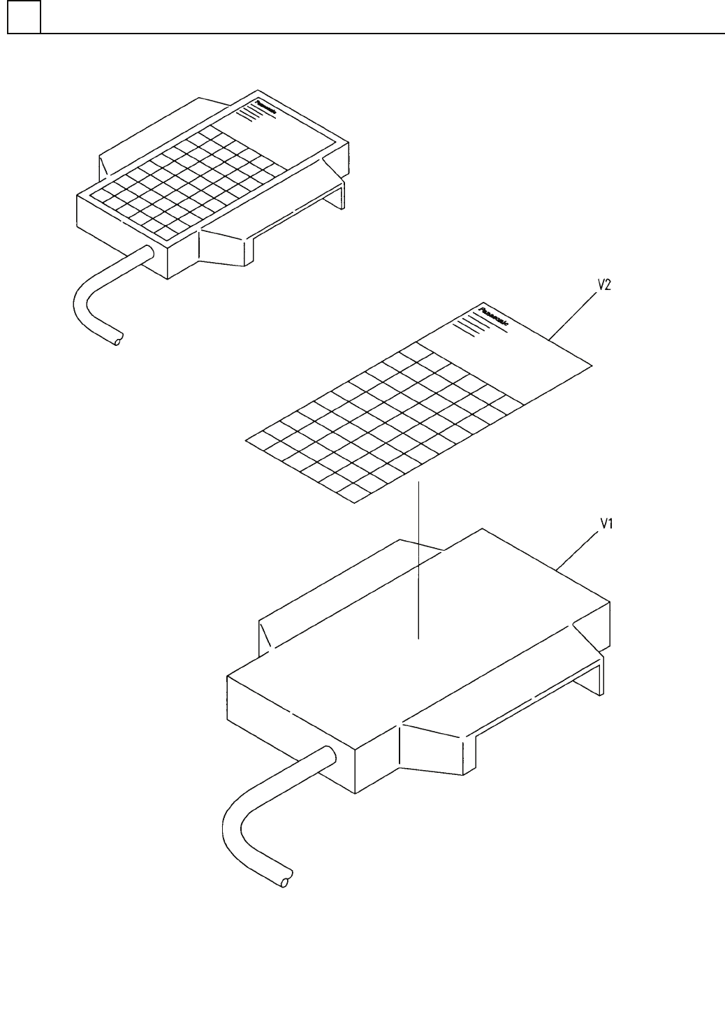
FN1P935L0-127

サブコントロールパネル (P935L-001-MV2F-E-D)
SUB CONTROL PANEL (P935L-001-MV2F-E-D)
14
FN1P935L0-128
E29