MVIIF Parts list-Electrical20101207 - 第94页
非常停止スイッチ (RPV/K02) EMERGENCY S TOP SWITCH 35 FN306RPVK02 E83

イラスト
No.
REF
No.
PART No.
PART NAME
REMARKS
Q'TY
34
配線用ケーブル
WIRING
部 品 名 品 番 個数
備 考
1 1 304270532201
FLAT CABLE ヒラカ
゙タケーブル
M SIZE L=1200
2
1
304270532501
FLAT CABLE ヒラガタケーブル M SIZE L=1000
3
1
304270562201
FLAT CABLE ヒラガタケーブル M SIZE L=1200
4 1 304270562402
FLAT CABLE ヒラカ
゙タケーブル
M SIZE L=1200
5 1 304270563002
FLAT CABLE ヒラガタケーフ
゙ル
M SIZE L=1000
6
1
304270532601
FLAT CABLE ヒラガタケーブル M SIZE L=1300
7
1
304270532702
FLAT CABLE ヒラガタケーブル M SIZE L= 300
8 1 304270563301
FLAT CABLE ヒラカ
゙タケーブル
M SIZE L=1000
9 1 304270563401
FLAT CABLE ヒラガタケーフ
゙ル
M SIZE L=1450
10
1
304270563502
FLAT CABLE ヒラガタケーブル M SIZE L=1000
11 1 304270563602
FLAT CABLE ヒラガタケーブル M SIZE L=1050
12 1 304270563102
FLAT CABLE ヒラカ
゙タケーブル
M SIZE L=1100
13
1
304280532201
FLAT CABLE ヒラガタケーブル XL SIZE L=1400
14
1
304280532501
FLAT CABLE ヒラガタケーブル XL SIZE L=1400
15 1 304280562201
FLAT CABLE ヒラガタケーブル XL SIZE L=1600
16 1 304280562401
FLAT CABLE ヒラカ
゙タケーブル
XL SIZE L=1600
17
1
304280563001
FLAT CABLE ヒラガタケーブル XL SIZE L=1400
18
1
304280532601
FLAT CABLE ヒラガタケーブル XL SIZE L=2100
19 1 304280532701
FLAT CABLE ヒラガタケーブル XL SIZE L= 500
20 1 304280563301
FLAT CABLE ヒラカ
゙タケーブル
XL SIZE L=1400
21
1
304280563401
FLAT CABLE ヒラガタケーブル XL SIZE L=1800
22
1
304280563502
FLAT CABLE ヒラガタケーブル XL SIZE L=1400
23 1 304280563602
FLAT CABLE ヒラカ
゙タケーブル
XL SIZE L=2250
24 1 304280563101
FLAT CABLE ヒラカ
゙タケーブル
XL SIZE L=1550
E82
F99-90980-A

非常停止スイッチ(RPV/K02)
EMERGENCY STOP SWITCH
35
FN306RPVK02
E83

イラスト
No.
REF
No.
PART No.
PART NAME
REMARKS
Q'TY
35
非常停止スイッチ(RPV/K02)
EMERGENCY STOP SWITCH
部 品 名 品 番 個数
備 考
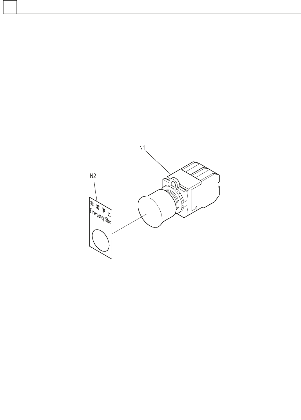
N 1 1 N306RPVK02
SWITCH スイッチ RPV/K02
N 2
1
N306ZK299J2
INDICATING PLATE ヒョウジバン ZK-299J2
E84
FN306RPVK02