JM-100-Rev07PDFA - 第111页
- 106 - REF.NO NOTE PART NO D E S C R I P T I O N 品 名 Qty 1 402-13943 SCREW_SHAFT_ASM スクリュウシャフト組 1 2 400-15578 SCREW SHAFT(L) スクリュシャフト(L) (2) 3 SL-6041692 -TN SCREW M4 L=16 座金付き六角穴ボルト M4 L=16 (8) 4 SB-1080002- 00 BEARING…

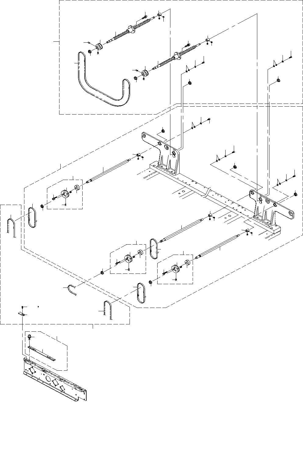
- 105 -
53.CLINCH UNIT COMPONENTS (8) (CONVEYOR)
クリンチユニット関係(8)(搬送)
36
35
31
28
30
16
18
17
16
18
17
15
35
33
34
32
29
15
4
4
3
9
9
2
3
2
7
5
8
10
8
6
11
11
12
10
4
6
7
5
4
1
13
15
27
14
19
20
15
15
15
27
26
14
14
19
20
19
20
16
18
17
21
23
25
22
24
22
25
23
24
21
22
25
23
24
21

- 106 -
REF.NO NOTE PART NO D E S C R I P T I O N
品 名
Qty
1 402-13943 SCREW_SHAFT_ASM
スクリュウシャフト組
1
2 400-15578 SCREW SHAFT(L)
スクリュシャフト(L)
(2)
3 SL-6041692-TN SCREW M4 L=16
座金付き六角穴ボルト M4 L=16
(8)
4 SB-1080002-00 BEARING
ころがり軸受
(4)
5 WP-0320500-SF WASHER 3.2X7X0.5
平座金小形丸 M3
(8)
6 WP-0330516-SC WASHER 3.3X8X0.5
平座金 3.3X8X0.5
(4)
7 SM-6030602-TN SCREW M3X6
六角穴ボルト M3X6
(4)
8 E2141-721-000 STOPPER COLLAR
ストッパカラー
(2)
9 SM-8040402-TP SCREW M4X0.7 L=4
止めねじ M4X0.7 L=4
(4)
10 E2156-721-000 PULLEY A
プーリ A
(2)
11 SM-8040602-TP SCREW M4X0.7 L=6
止めねじ
(4)
12 402-13782 BELT
ベルト
(1)
13 400-54803 DRIVE SHAFT ASM L(6)
ドライブシャフト組L(6)
1
14 E2152-721-000 DRIVE SHAFT C
ドライブシャフト C
(3)
15 SB-1080002-00 BEARING
ころがり軸受
(6)
16 WP-0320500-SF WASHER 3.2X7X0.5
平座金小形丸 M3
(12)
17 WP-0330516-SC WASHER 3.3X8X0.5
平座金 3.3X8X0.5
(6)
18 SM-6030602-TN SCREW M3X6
六角穴ボルト M3X6
(6)
19 E2141-721-000 STOPPER COLLAR
ストッパカラー
(3)
20 SM-8040402-TP SCREW M4X0.7 L=4
止めねじ M4X0.7 L=4
(6)
21 400-00849 DRIVE_PULLEY_F_ASM
ドライブプーリF組
(3)
22 400-00850 DRIVE_PULLEY_F
ドライブプーリF
(1)
23 SM-8040602-TP SCREW M4X0.7 L=6
止めねじ
(2)
24 400-00851 MOTOR_PULLEY_B
モータプーリB
(1)
25 SL-6031642-TN SCREW M3 L=16
座金付き六角穴ボルト M3 L=16
(3)
26 400-01005 DRIVE BELT C(L)
ドライブベルトC(L)
(1)
27 400-46033 DRIVE BELT S(6)
ドライブベルトS(6)
(2)
28 400-00860 PWB_GUIDE_ASM
PWBガイド組
1
29 400-00861 PWB_GUIDE_U
PWBガイドU
(8)
30 SL-6031092-TN SCREW M3 L=10
座金付き六角穴ボルト M3 L=10
(16)
31 400-01068 CONVEYOR BELT ASM(L)
コンベアベルト組(L)
1
32 E2046-725-000 PWB INNER
PWBインナ
(12)
33 SL-4031091-SC SCREW M3 L=10
座金付きなべ小ねじ M3 L=10
(8)
34 SL-6031092-TN SCREW M3 L=10
座金付き六角穴ボルト M3 L=10
(16)
35 400-00863 CONVEYOR_BELT_S
コンベアベルトS
(4)
36 400-01070 CONVEYOR BELT C(L)
コンベアベルトC(L)
(2)

- 107 -
54.CLINCH UNIT COMPONENTS (9) (CONVEYOR)
クリンチユニット関係(9)(搬送)
39
13
16
15
12
4
2
17
14
17
2
12
15
16
13
A
3
11
9
10
8
5
A
6
4
1
70
70
70
7
14
19
20
21
22
23
23
24
26
28
27
18
25
31
32
33
34
35
36
37
37
37
38
29
30
40
42
43
44
47
46
45 48
41
69
65
64
63
68
66
67
57
50
61
59
60
58
54
55
62
52
53
56
51
49