JM-100-Rev07PDFA - 第59页
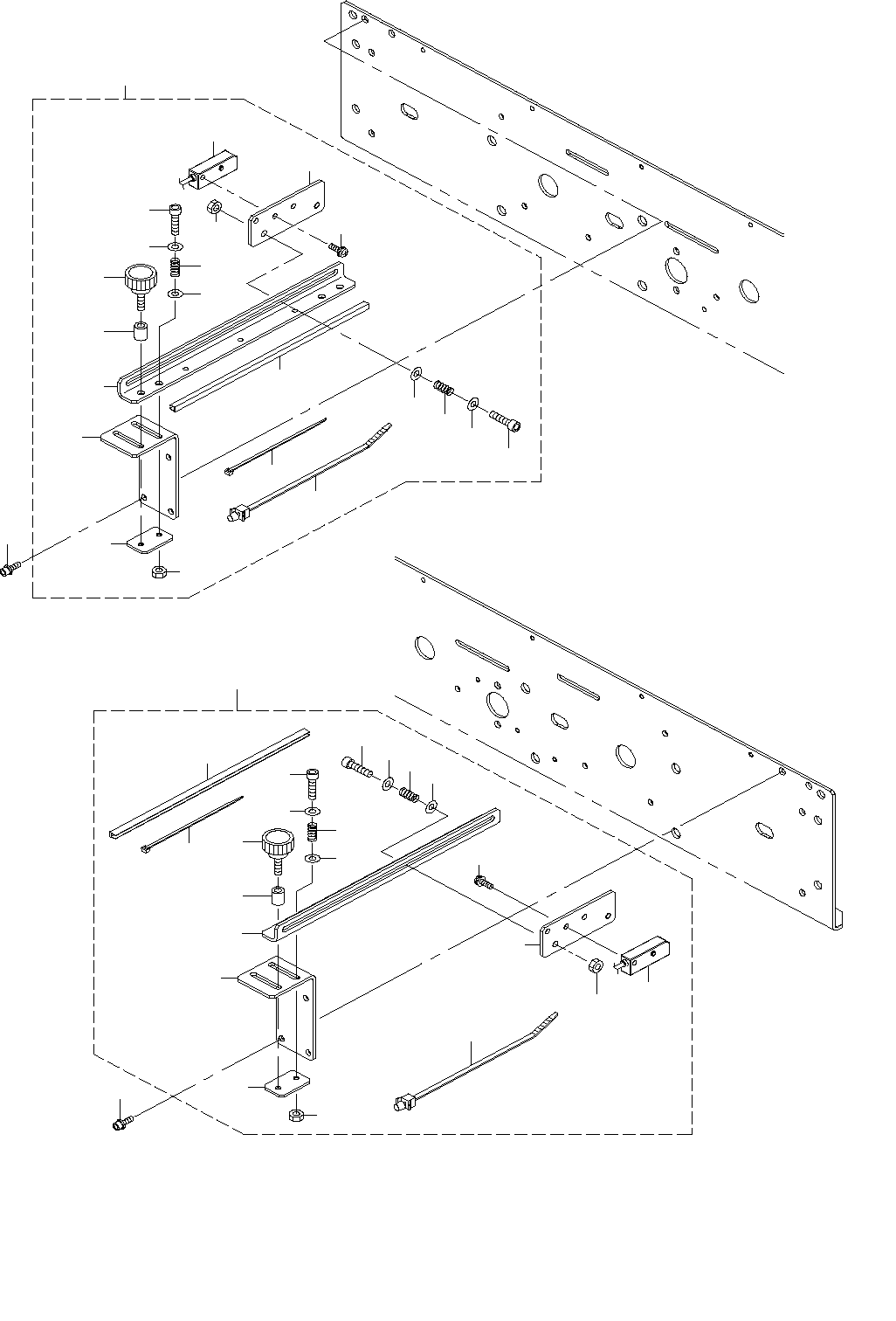
- 54 - NOTE( 注記 ) *INSTALLATION POSITION AND D IRECTION VARY IF THE PWB TRANSFER REFERENCE IS DIFFE RENT. 基板搬送基準が異なると取付位置、方向が変わります。 REF.NO NOTE PART NO D E S C R I P T I O N 品 名 Qty 1 401-37162 LEFT_SENS_UNIT レフトセンサ組 1 2…

- 53 -
27.PWB CONVEYOR COMPONENTS (6)
基板搬送関係(6)
32
3
17
1
33
33
31
16
15
30
25
26
11
11
7
19
26
26
25
24
23
22
20
21
26
11
11
10
10
22
9
7
8
4
2
27
12
6
28
27
18
13
12
29
14
5

- 54 -
NOTE( 注記 ) *INSTALLATION POSITION AND DIRECTION VARY IF THE PWB TRANSFER
REFERENCE IS DIFFERENT.
基板搬送基準が異なると取付位置、方向が変わります。
REF.NO NOTE PART NO D E S C R I P T I O N
品 名
Qty
1 401-37162 LEFT_SENS_UNIT
レフトセンサ組
1
2 401-36826 SENSOR_BRACKET_A
センサーブラケットA
(1)
3 HX-0044000-00 CABLE BAND
束線バンド
(1)
4 400-01078 SENSOR BRACKET B
センサブラケットB
(1)
5 401-36827 SIDE_SENSOR_BR
サイドセンサブラケット
(1)
6 400-01076 SENSOR SLIDE PLATE
センサスライドプレート
(1)
7 400-00912 SENSOR ADJUST SPRING
センサアジャストスプリング
(3)
8 G6518-880-000 SET PICK-UP
セットつまみ
(1)
9 400-58815 SPACER
スペーサ
(1)
10 SM-6041602-TN SCREW M4 X 16
六角穴ボルト M4X0.7 L=16
(3)
11 WP-0430801-SC WASHER M4
平座金 M4
(6)
12 NM-6040002-SE NUT M4X0.7
六角ナット M4X0.7 2種
(3)
13 401-29046 SIDE SENSOR CABLE ASM
サイドセンサケーブル組
(1)
14 SL-4031091-SC SCREW M3 L=10
座金付きなべ小ねじ M3 L=10
(2)
15 HX-0036700-0A BUSH
ブッシュ
(0.16)
16 EA-9500B00-00 CABLE BAND
束線バンド
(5)
17 401-37163 RIGHT_SENS_UNIT
ライトセンサ組
1
18 400-01078 SENSOR BRACKET B
センサブラケットB
(1)
19 401-36827 SIDE_SENSOR_BR
サイドセンサブラケット
(1)
20 401-36826 SENSOR_BRACKET_A
センサーブラケットA
(1)
21 400-01076 SENSOR SLIDE PLATE
センサスライドプレート
(1)
22 400-00912 SENSOR ADJUST SPRING
センサアジャストスプリング
(3)
23 G6518-880-000 SET PICK-UP
セットつまみ
(1)
24 400-58815 SPACER
スペーサ
(1)
25 SM-6041602-TN SCREW M4 X 16
六角穴ボルト M4X0.7 L=16
(3)
26 WP-0430801-SC WASHER M4
平座金 M4
(6)
27 NM-6040002-SE NUT M4X0.7
六角ナット M4X0.7 2種
(3)
28 401-29046 SIDE SENSOR CABLE ASM
サイドセンサケーブル組
(1)
29 SL-4031091-SC SCREW M3 L=10
座金付きなべ小ねじ M3 L=10
(1)
30 HX-0036700-0A BUSH
ブッシュ
(0.16)
31 EA-9500B00-00 CABLE BAND
束線バンド
(5)
32 HX-0044000-00 CABLE BAND
束線バンド
(1)
33 SL-6031092-TN SCREW M3 L=10
座金付き六角穴ボルト M3 L=10
4

- 55 -
28.PWB CONVEYOR COMPONENTS (7)
基板搬送関係(7)
69
B
56
64
63
65
61
60
59
58
46
49
62
57
66
70
70
37
44
43
42
41
40
45
38
52
51
48
53
55
47
54
50
52
51
39
23
21
20
10
1
24
16
13
19
13
18
A
A
8
7
6
5
9
4
29
28
27
31
36
26
27
32
30
32
31
35
34
25
33
11
15
14
12
3
17
68
2
67
B
22