Protection hood output side left_20211118_095106 - 第5页
Protection hood output side left Page 5 / 8 18.11.2021

Protection hood output side left
Page 4 / 8 18.11.2021

Protection hood output side left
Page 5 / 8 18.11.2021

Protection hood output side left
Page 6 / 8 18.11.2021
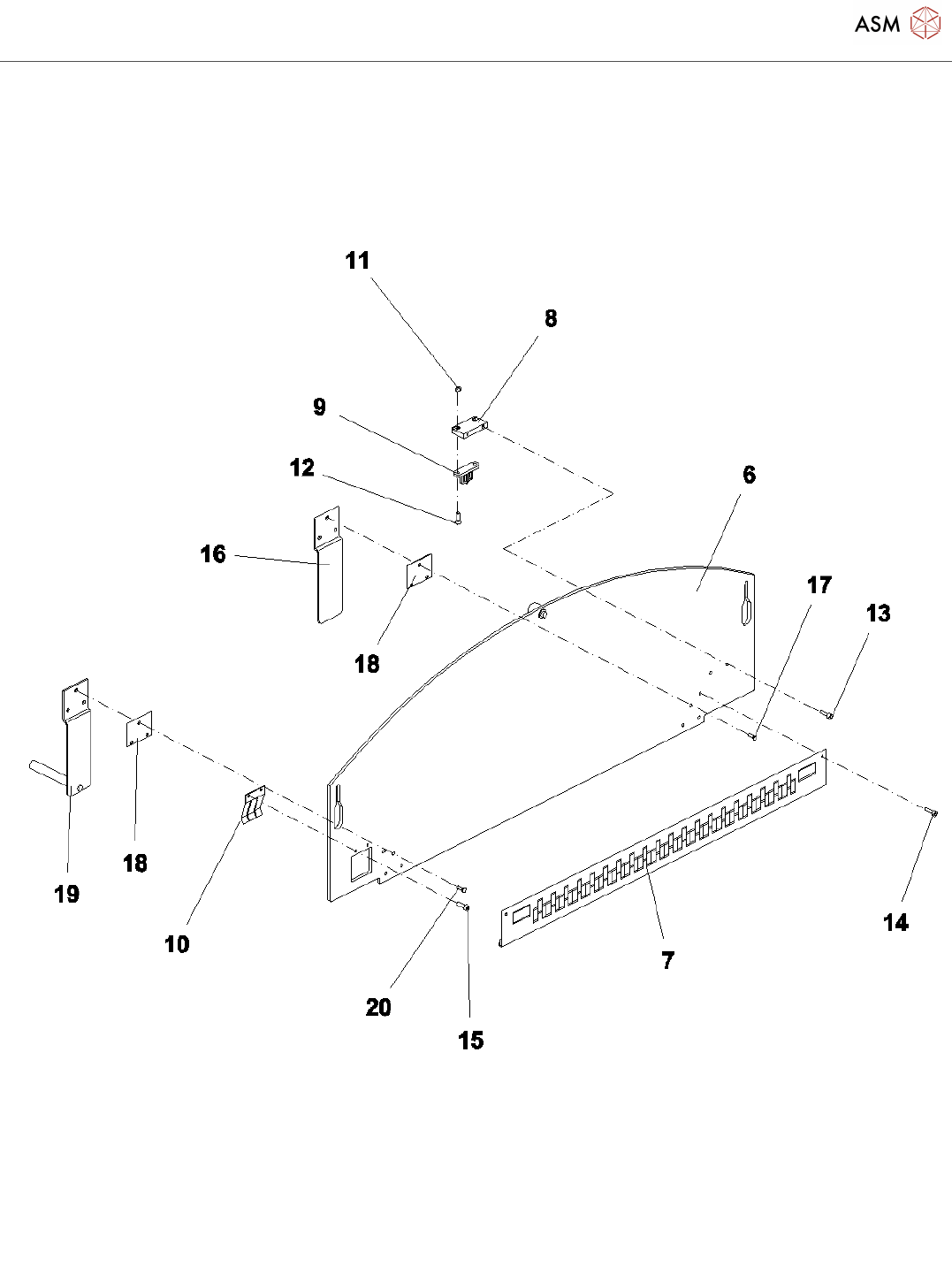
Pos. Item no. Description Part marking
1 00301868S03 COVER RIGHT SIDE SIPLACE 80S
2 00316445-01 SAFETY SCREEN RIGHT
3 00301870S03 COVER LEFT SIDE SIPLACE 80S
4 00316471-01 SAFETY SCREEN LEFT
5 00304540-02 SIDE PANEL RIGHT
6 00301962-02 SIDE PANEL RIGHT HAND
7 00304519-01 BARCODE RAIL - RIGHT SIDE
8 00304548-01 ACTUATOR PART
9 00304577-01 FLEXIBLE ACTUATOR AZ 15/16 SPARE PART
10 00304567-01 CONTACT LEVER
00304576-01 BALL KNOB E25/M6
11 00095565-01 HEXAGON NUT
12 00095321-01 SLOTTED COUNTERSUNK HEAD
SCREW
13 00095120-01 HEXAGON SOCKET HEAD CAP
SCREW
14 00095108-01 HEXAGON SOCKET HEAD CAP
SCREW M4 X 12-8.8
15 00095110-01 HEXAGON SOCKET HEAD CAP
SCREW
16 00317575-01 PROTECTION CLIP
17 00320860-01 SLOTTED COUNTERSUNK HEAD
SCREW
18 00317455-01 SHIM
19 00322201-01 PROTECTION CLIP LEFT
20 00320860-01 SLOTTED COUNTERSUNK HEAD
SCREW
21 00316187-01 SWIVEL DOOR SIPLACE 80F LEFT
SIDE
22 00314024-03 SIDE COVER
23 00314025-01 ROTARY AXLE
24 00304587-01 DIN EN ISO 7380-M5 X
12-10.9,VERCU/NI
25 00095565-01 HEXAGON NUT
26 00309802-01 CROSS RECESSED RAISED CHEESE
HEAD SCREW
27 00095564-01 HEXAGON NUT
28 00314029-01 BAR CODE STRIP 2/1