Bulkcase Feeder Module_20211119_075802 - 第9页
Bulkcase Feeder Module Page 9 / 13 19.11.2021 Pos. Item no. Description Part marking 00142318S06 BASE FOR SIPLACE BULK CASE FEEDER SPARE PART 00320879-04 CONTROL FOR BLAST AIR BULK- CASE-FEEDER 1 00320881-02 CONNECTION C…

Bulkcase Feeder Module
Page 8 / 13 19.11.2021

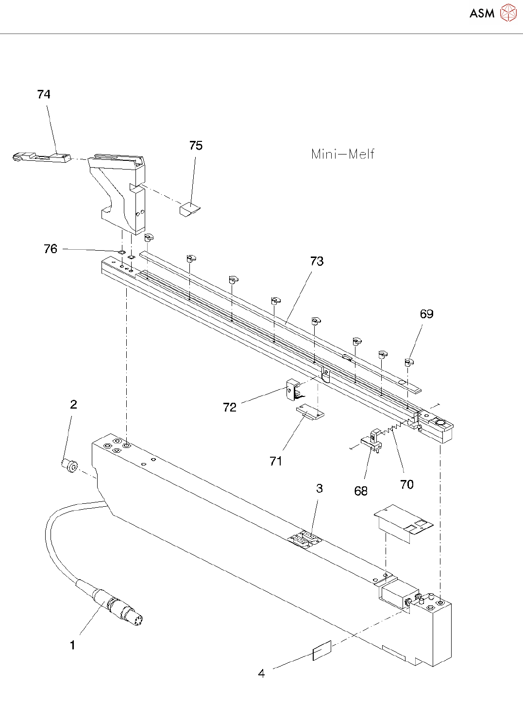
Bulkcase Feeder Module
Page 9 / 13 19.11.2021
Pos. Item no. Description Part marking
00142318S06 BASE FOR SIPLACE BULK CASE
FEEDER
SPARE PART
00320879-04 CONTROL FOR BLAST AIR BULK-
CASE-FEEDER
1 00320881-02 CONNECTION CABLE F. BULK CASE
FEEDER
2 00320883-02 BCF PUSH-BUTTON SWICH
00321454-01 MAGNETIC VALVE FOR BLAST AIR
BULK-CASE
00321455-02 LIFTING MAGNET FOR
COMPONENTS COVER BULK-CASE
3 00320884S02 CABLE TO CONNECTOR BASEMENT-
FEED TRACK
00324976-01 CLAMP CLIP
00324977-01 CLOSING PLATE
4 00330737S01 PTFE COATED GLASS FIBER 0,13
THICK*27
00142321S04 BULK-CASE COMPONENTS FEEDING
0603/045
00321361-01 COMPONENTS RAIL COMPLETE
0603/045
00334036-01 COMPONENTS RAIL 0603/0,45
PREASSEMBLED
00321345-02 RAIL UNIT 0603/045
5 00321274S01 COVER
00321266-01 AIR CONTACT
6 00321268-01 HOLDING-DOWN DEVICE
00321279-01 COMPONENTS STOP
7 00321676S01 TENSION SPRING
8 00320880-01 PC-BOARD FOR LIGHT BARRIER
9 00321370S01 LIGHT BARRIER COMPLETE
00321473-01 FIBER-OPTIC LIGHT GUIDE PG
0.5MM
10 00321337S03 CHANNEL COVER
00321304-03 COMPONENTS SEPARATION
0603/045
00334040-01 BE-STORAGE CASE PREASSEMBLED
00321265-02 STORAGE CASE
00321271-01 PROFILE

Bulkcase Feeder Module
Page 10 / 13 19.11.2021
Pos. Item no. Description Part marking
11 00321272S03 STRIP SPARE PART
12 00332913S01 WINDOW F. BULK-CASE
00321286-03 FUNNEL CHAMBER 0603/045
13 00305213S01 O-RING 5*1 NBR 7 WEAR PART
00142322S03 FEEDING RAIL CHIP 0603, 0,80MM Retrofit Kit
00321362-01 COMPONENTS RAIL COMPLETE
0603/080
00334045-01 COMPONENTS RAIL 0603/0,80
PREASSEMBLED
00321346-02 RAIL UNIT 0603/080
14 00321274S01 COVER
15 00321268-01 HOLDING-DOWN DEVICE
16 00321676S01 TENSION SPRING
17 00320880-01 PC-BOARD FOR LIGHT BARRIER
18 00321370S01 LIGHT BARRIER COMPLETE
19 00321337S03 CHANNEL COVER
00321305-02 COMPONENTS SEPARATION
0603/080
20 00321272S03 STRIP SPARE PART
21 00332913S01 WINDOW F. BULK-CASE
00321288-01 FUNNEL CASE 0603/080
22 00305213S01 O-RING 5*1 NBR 7 WEAR PART
00142323S03 BULK-CASE COMPONENTS FEEDING
0805/045
RETROFIT KIT
00321363-01 COMPONENTS RAIL COMPLETE
0805/045
00334047-01 COMPONENTS RAIL 0808/0,45
PREASSEMBLED
00321347-02 RAIL UNIT 0805/045
23 00321274S01 COVER
24 00321268S01 HOLDING-DOWN DEVICE
25 00321676S01 TENSION SPRING
26 00320880S01 PC-BOARD FOR LIGHT BARRIER
27 00321370S01 LIGHT BARRIER COMPLETE
28 00321339-02 CHANNEL COVER Spare Part
00321306-03 COMPONENTS SEPARATION
0805/045