TR7DN-Rev01 - 第11页
- 8 - RE F.NO NO T E PA RT NO D E S C R I P T I O N 品 名 Q ty 1 401 -180 14 ST BAS E ASM ST ベース組 1 2 40 1 - 1 7 3 5 6 Z ST ACKE R BAS E L Z スタッカベース L (2 ) 3 E 2008 -716 - 000 LINEA R B USHIN G リニアブッシュ (8 ) 4 E 1314 -717 -…

- 7 -
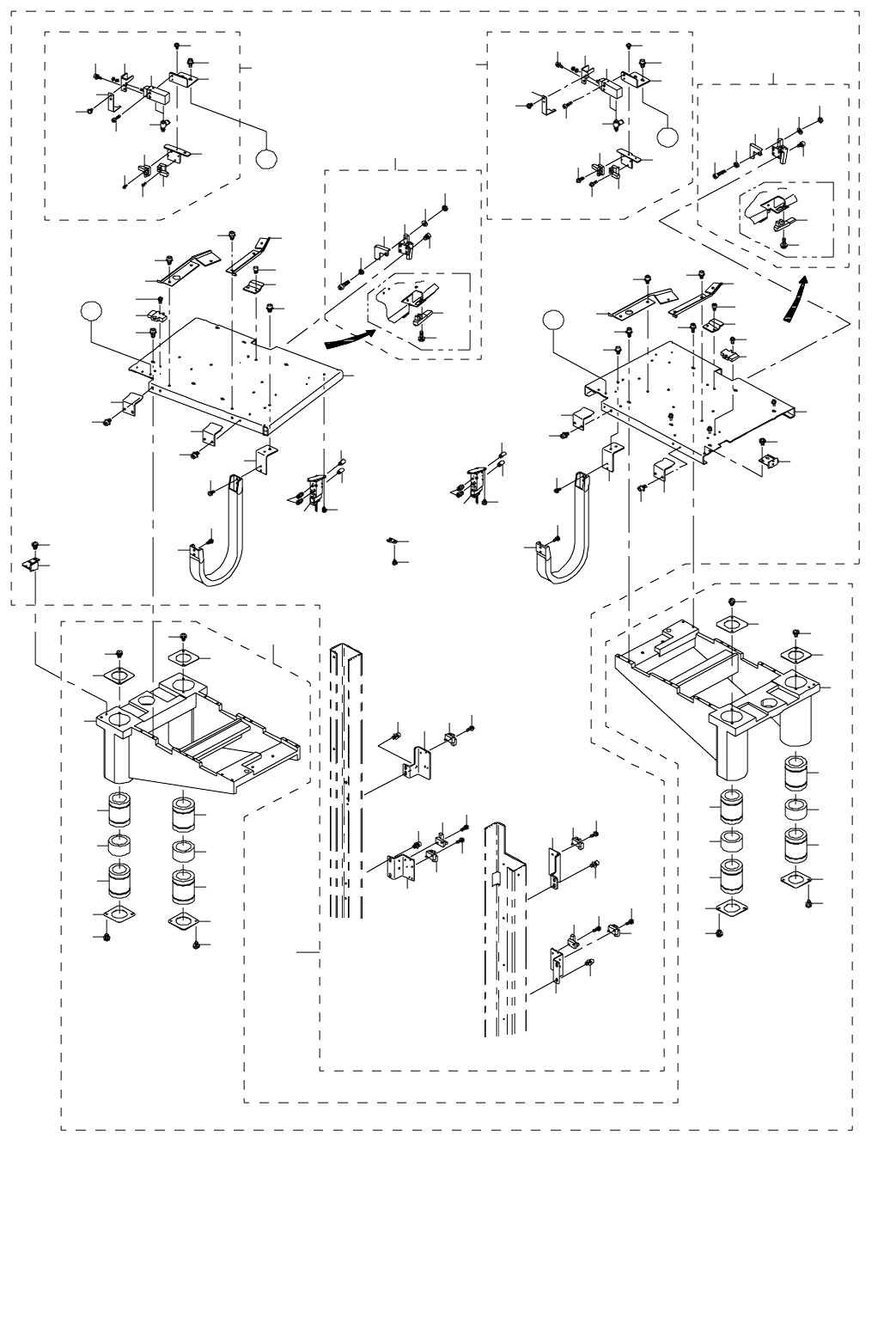
4. Z UNIT (1)
Z ユニット(1)
2
2
3
3
3
3
3
3
3
3
4
4
4
4
5
5
5
5
5
5
6
6
6
6
6
5
5
6
6
6
8
9
10 10
11
12
11
12
13
13
13
13
14
14
15
15
16
17
16
17
19
22
24
21
23
25
26
27
28
29
20
30
31
30
31
19
20
29
24
25
21
22
26
27
28
30
31
30
31
23
33
34
35
36
37
37
38
40
39
40
39
32
33
34
35
36
37
37
38
32
42
43
44
44
42
41
43
44
44
45
46
46
45
47
49
48
49
51
53
54
54
54
54
55
55
55
55
56
56
57
57
57
57
57
57
50
59
59
63
58
64
59
58
62
59
64
17
16
17
16
41
10
B
A
B
18
18
A
52
1
7
60
61

- 8 -
REF.NO NOTE PART NO D E S C R I P T I O N
品 名
Qty
1 401-18014 ST BASE ASM
ST ベース組
1
2 401-17356 Z STACKER BASE L
Z スタッカベース L
(2)
3 E2008-716-000 LINEAR BUSHING
リニアブッシュ
(8)
4 E1314-717-000 Z LINEAR BUSHING SPACER
Y レール
(4)
5 400-52109 Z LINEAR ST
Z リニア ST
(8)
6 SL-4040891-SC SCREW M4X8 座金付きなべ小ねじ M 4 L =8 (16)
7 401-18015 ST STAGE ASM
ST ステージ組
(1)
8 401-17350 ZST BASE 7S L
ZST ベース 7 S L
1
9 401-17351 ZST BASE 7S R
ZST ベース 7 S R
(1)
10 SL-6041092-TN SCREW M4 L=10
座金付き六角穴ボルト M 4 L =10
(12)
11 401-17349 ZST SIDE GUIDE L
ZST スライドガイド L
(2)
12 401-19199 ZST SIDE GUIDE R
ZST スライドガイド R
(2)
13 SL-6040892-TN SCREW M4 L=8
座金付き六角穴ボルト M 4 L =8
(12)
14 400-48986 ZST LOCK
ZST ロック
(2)
15 SM-6040602-TN SCREW
六角穴ボルト
(4)
16 400-48688 ZST STOPPER
ZST ストッパ
(4)
17 SL-6040892-TN SCREW M4 L=8
座金付き六角穴ボルト M 4 L =8
(8)
18 401-18020 Z SHUT ASM
Z SHUT 組
(2)
19 401-17339 SHUT CYL BR シャッタシリンダ BR (1)
20 SL-6040892-TN SCREW M4 L=8
座金付き六角穴ボルト M 4 L =8
(2)
21 PA-1001024-A0 FREE MOUNT CYLINDER
フリーマウント シリンダ
(1)
22 SM-6031202-TN SCREW M3X12
六角穴ボルト M 3 X 12
(2)
23 PC-0105080-00 SPEED CONTROLLER
スピード コントローラ
(2)
24 401-17340 SHUTTER FOOK
シャッタフック
(1)
25 SL-6030892-TN SCREW M3 L=8
座金付き六角穴ボルト M 3 L =8
(2)
26 401-17342 SHUT SENSOR DOG
シャッタセンサドグ
(1)
27 SL-4030691-SC SCREW M3 L=6
座金付きなべ小ねじ M 3 L =6
(2)
28 401-17338 SHUT SENSOR BR
シャッタセンサ BR
(1)
29 SL-4030691-SC SCREW M3 L=6
座金付きなべ小ねじ M 3 L =6
(2)
30 HD-0005700-0A SENSOR フォトセンサ (2)
31 SL-4031081-SC SCREW M3 L=10
座金付きなべ小ねじ M 3 L =10
(2)
32 401-18021 ST CLAMP ASM
ST クランプ組
(2)
33 E1214-726-000 ST CLAMP
スタッカクランプ
(1)
34 SM-6040602-TN SCREW
六角穴ボルト
(4)
35 SM-6041602-TN SCREW M4X16
六角穴ボルト M 4 X 16
(1)
36 WP-0430801-SC WASHER M4
平座金 M 4
(1)
37 NM-6040003-SC NUT M4X0.7 TYPE3
六角ナット M 4 X 0.7 3種
(2)
38 400-48692 ZST CLAMP DOG
ZST クランプドグ
(1)
39 HD-0017100-00 SENSOR
フォトインタラプタ
(1)
40 SL-4041491-SC SCREW M4 L=14
座金付きなべ小ねじ M 4 L =14
(1)
41 401-17357 PLA SUPPORT
PLA サポート
(2)
42 SL-6040892-TN SCREW M4 L=8
座金付き六角穴ボルト M 4 L =8
(4)
43 401-17332 PRARAIL PRARAIL (2)
44 SL-4030891-SC SCREW M3 L=8
座金付きなべ小ねじ M 3 L =8
(8)
45 HD-0009000-00 SENSOR
フォトセンサ
(2)
46 SL-4030881-SC SCREW M3 L=8
座金付きなべ小ねじ M 3 L =8
(4)
47 401-20652 Z SENSOR DOG L
Z センサドグ L
(1)
48 401-20653 Z SENSOR DOG R
Z センサドグ R
(1)
49 SL-4040891-SC SCREW M4X8
座金付きなべ小ねじ M 4 L =8
(4)
50 401-17348 Z SENSOR BR B
Z センサ BR B
(1)
51 401-17355 Z SENSOR BR B D
Z センサ BR B D
(1)
52 401-17346 Z SENSOR BR A
Z センサ BR A
(1)
53 401-17354 Z SENSOR BR A D
Z センサ BR A D
(1)
54 SL-6040892-TN SCREW M4 L=8
座金付き六角穴ボルト M 4 L =8
(8)
55 400-45713 PHOTO SENSOR
フォトセンサ
(4)
56 HD-0005700-0A SENSOR フォトセンサ (2)
57 SL-4031081-SC SCREW M3 L=10
座金付きなべ小ねじ M 3 L =10
(6)
58 PJ-0320390-01 URETHANE BARBED JOINT
ウレタンバーブ継手
(6)
59 E3274-760-000 SILENCER
サイレンサ
(4)
60 HX-0034400-00 FIXED BASE
束線パーツ
(14)
61 SL-4030691-SC SCREW M3 L=6
座金付きなべ小ねじ M 3 L =6
(14)
62 401-17207 SHT OPEN A S.V. ASM
シャッタオープン A S.V.組
(1)
63 401-17220 SHT OPEN B S.V. ASM
シャッタオープン B S.V.組
(1)
64 SL-4030691-SC SCREW M3 L=6
座金付きなべ小ねじ M 3 L =6
(4)

- 9 -
5. Z UNIT (2)
Z ユニット(2)
2
3
4
5
6
6
6
7
7
7
7
8
31
31
10
11
11
12
12
14
15
16
17
17
17
17
18
18
19
19
20
20
21
21
22
23
23
24
25
26
27
28
29
29
30
30
30
30
31
31
32
32
32
32
29
29
32
32
32
30
30
3031
31
31
31
33
9
36
37
37
38
39
39
38
40
41
41
42
43
44
45
47
48
46
47
48
45
49
49
51
51
52
52
53
53
53
53
54
54
55
55
55
55
59
60
60
15
15
8
23
24
23
22
25
10
16
15
15
15
32
27
26
28
9
33
36
40
42
46
13
15
13
60
54
57
60
54
56
58
14
15
50
34
1
44
43
35
35