TR7DN-Rev01 - 第19页
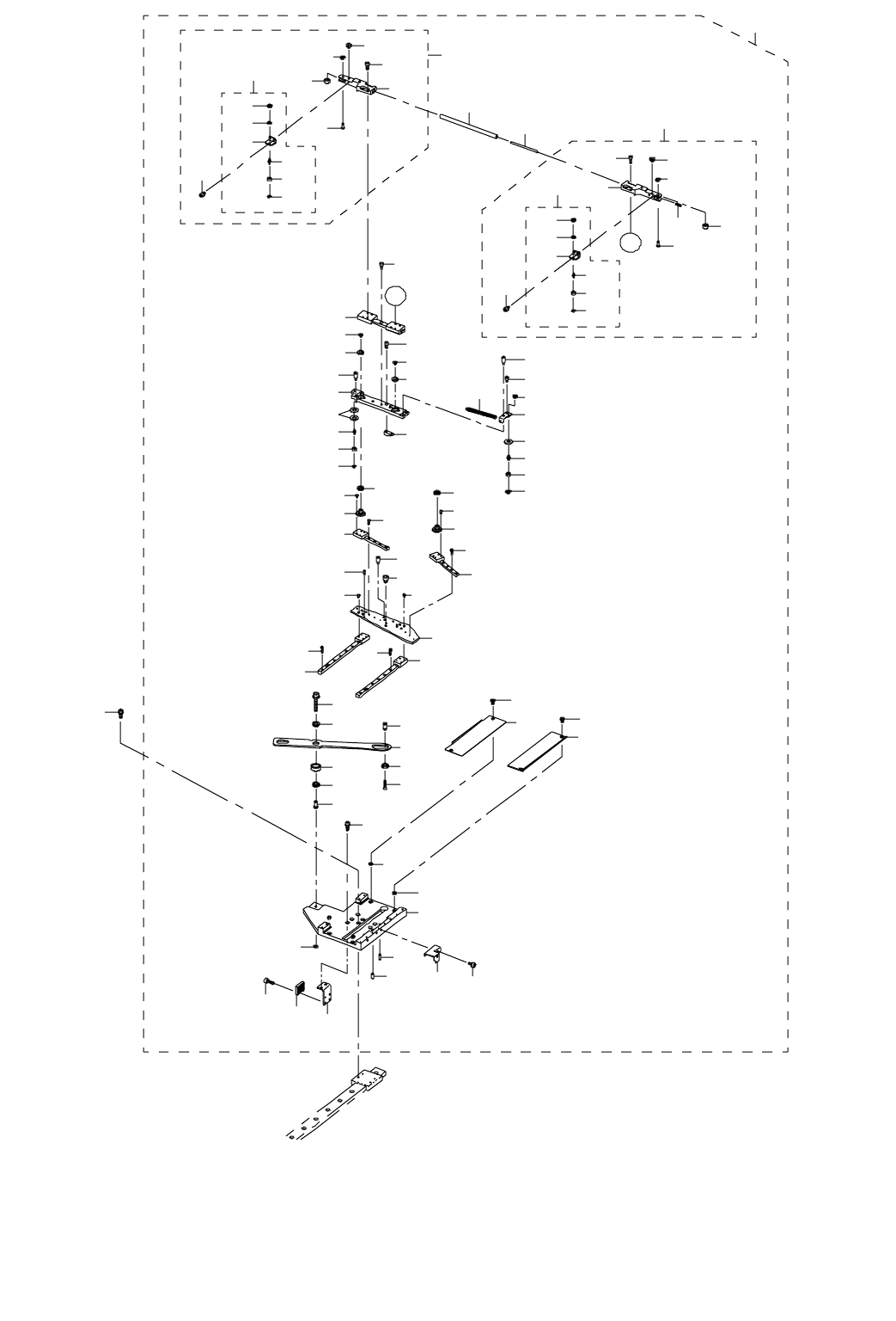
- 16 - REF . NO N O T E PA RT NO D E S C R I P T I O N 品 名 Q ty 1 4 0 1-1 7 60 1 CH U CK SL IDER BASE L ASM チャックスライダベース L 組 1 2 4 0 1-1 9 35 2 Y SL I D ER BASE Y スライダベース (1) 3 PH -0 40 0 12 2 -C0 PARAL L EL PI N TYPE B 4…

- 15 -
8. Y UNIT (3)
Y ユニット(3)
A
2
3
3
4
4
5
5
6
77
8
8
9
9
10
11
12
14
20
18
15
16
17
19
21
13
22
23
23
24
25
24
25
25
26
25
26
27
30
31
32
33
34
35
36
37
38
39
40
41
42
29
28
43
44
45
46
64
63
66
67
68
69
70
71
72
65
74
75
73
76
77
48
49
50
57
55
54
53
52
51
56
58
60
59
61
62
A
78
78
79
80
81
81
82
83
85
86
87
88
1
84
47
34

- 16 -
REF.NO NOTE PART NO D E S C R I P T I O N
品 名
Qty
1 401-17601 CHUCK SLIDER BASE L ASM
チャックスライダベース L 組
1
2 401-19352 Y SLIDER BASE Y スライダベース (1)
3 PH-0400122-C0 PARALLEL PIN TYPE B 4X12
平行ピン B 種 4 X 12
(2)
4 401-19372 GUIDE
ガイド
(2)
5 SM-6020802-TN SCREW M2 L=8
六角穴ボルト M 2 L =8
(12)
6 401-19354 CHUCK B L SLIDE BASE
チャック B L スライドベース
(1)
7 SM-6020302-UZ SCREW M2 L=3 六角穴ボルト M 2 L =3 (8)
8 401-17420 CHUCK B L SLIDER GUIDE
チャック B L スライドガイド
(2)
9 SM-6020502-TN SCREW M2 L=5
六角穴ボルト M 2 L =5
(11)
10 E6347-705-000 FASTENER PIN BX3
ファスナーピン BX 3
(1)
11 SM-6040602-TN BOLT
六角穴ボルト
(1)
12 E1455-726-000 STOPPER BOLT ストッパボルト (1)
13 400-49269 Y SLIDE LINK
Y スライドリンク
(1)
14 400-49268 PIVOT SLEEVE
ピボットスリーブ
(1)
15 SB-1060007-00 BEARING
ころがり軸受
(1)
16 400-49273 SCREW
ねじ
(1)
17 400-49266 PIVOT SLEEVE A ピボットスリーブ A (1)
18 SB-1060007-00 BEARING
ころがり軸受
(1)
19 400-49267 PIVOT COLLAR
ピボットカラー
(1)
20 SB-1060007-00 BEARING
ころがり軸受
(1)
21 SL-6042592-TN SCREW M4 L=25
座金付き六角穴ボルト M 4 L =25
(1)
22 NM-6040001-SC NUT M4X0.7 TYPE1 六角ナット M 4 X ー0.7 1種 (1)
23 401-17388 CHUCK BASE PIVOT SH
チャックベースピボット SH
(2)
24 SM-6020302-UZ SCREW M2 L=3
六角穴ボルト M 2 L =3
(8)
25 SB-1070004-00 BEARING
ころがり軸受
(4)
26 E8226-706-000 SCREW
シャッタ位置決め板ばね止めねじ
(2)
27 401-17387 CHUCK BASE L チャックベース L (1)
28 401-17407 STOPPER BLOCK
ストッパブロック
(1)
29 SM-6030602-TN SCREW M3X6
六角穴ボルト M3X6
(2)
30 E1426-726-000 CHUCK O-S SD
チャック開閉 SD
(1)
31 SB-1030002-00 BEARING
ころがり軸受
(1)
32 RE-0200000-K0 E-RING 2 E 形止め輪 2 (1)
33 401-17520 CHUCK BASE L GUIDE SP BR
チャックベース L ガイド SP BR
(1)
34 WP-0320501-SC WASHER M3
平座金 M 3
(3)
35 E1426-726-000 CHUCK O-S SD
チャック開閉 SD
(1)
36 SB-1030002-00 BEARING
ころがり軸受
(1)
37 RE-0200000-K0 E-RING 2
E 形止め輪 2
(1)
38 NM-6030003-SC NUT M3X0.5 TYPE3 六角ナット M 3 X 0.5 3種 (1)
39 E1455-726-000 STOPPER BOLT
ストッパボルト
(1)
40 SM-6030402-TN SCREW M3X4
六角穴付きボルト M3X4
(1)
41 E1455-726-000 STOPPER BOLT
ストッパボルト
(1)
42 401-17523 CHUCK L SP 1
チャック L SP 1
(1)
43 400-48776 HOLDER GUIDE ホルダーガイド (1)
44 SM-6030602-TN SCREW M3X6
六角穴ボルト M3X6
(5)
45 E1459-726-000 SP GUIDE SHAFT
SP ガイドシャフト
(1)
46 E1458-726-000 CHUCK SPA
チャック SPA
(1)
47 401-17586 Y HOLD BASE LA ASM
Y ホールドベース LA 組
(1)
48 401-17368 Y HOLD BASE LA Y ホールドベース LA (1)
49 E1420-726-0A0 MARK ASM
マーク組
(1)
50 401-17587 CHUCK OP CL BR ASM
チャック OP CL BR 組
(1)
51 401-17421 CHUCK OPEN CLOSE BRACKET
チャック開閉ブラケット
(1)
52 E1426-726-000 CHUCK O-S SD
チャック開閉 SD
(1)
53 SB-1030002-00 BEARING ころがり軸受 (1)
54 RE-0200000-K0 E-RING 2
E 形止め輪 2
(1)
55 WS-0310002-KN SPRING WASHER M3
ばね座金 M 3
(1)
56 NM-6030003-SC NUT M3X0.5 TYPE3
六角ナット M 3 X 0.5 3種
(1)
57 SL-6030542-TN SCREW M3 L=5
座金付き六角穴ボルト M 3 L =5
(2)
58 400-48807 Y HOLD ROLLER Y ホールドローラー (1)
59 401-17369 TRAY CHUCK PIN
トレイチャックピン
(1)
60 RE-0300000-K0 E-RING 3
E 形止め輪 3
(1)
61 SM-6030802-TN SCREW
六角穴ボルト
(4)
62 401-17588 Y HOLD BASE RA ASM
Y ホールドベース RA 組
(1)
63 401-17367 Y HOLD BASE RA Y ホールドベース RA (1)
64 E1420-726-0A0 MARK ASM
マーク組
(1)
65 401-17587 CHUCK OP CL BR ASM
チャック OP CL BR 組
(1)
66 401-17421 CHUCK OPEN CLOSE BRACKET
チャック開閉ブラケット
(1)
67 E1426-726-000 CHUCK O-S SD
チャック開閉 SD
(1)
68 SB-1030002-00 BEARING ころがり軸受 (1)
69 RE-0200000-K0 E-RING 2
E 形止め輪 2
(1)
70 WS-0310002-KN SPRING WASHER M3
ばね座金 M 3
(1)
71 NM-6030003-SC NUT M3X0.5 TYPE3
六角ナット M 3 X 0.5 3種
(1)
72 SL-6030542-TN SCREW M3 L=5
座金付き六角穴ボルト M 3 L =5
(2)
73 400-77529 PLUNGER SP プランジャースプリング (1)
74 400-48807 Y HOLD ROLLER Y ホールドローラー (1)
75 401-17369 TRAY CHUCK PIN
トレイチャックピン
(1)
76 RE-0300000-K0 E-RING 3
E 形止め輪 3
(1)
77 SM-6030802-TN SCREW
六角穴ボルト
(4)
78 400-49272 COLLAR
カラー
(4)
79 401-17518 COVER PLATE L カバープレート L (1)
80 401-17519 COVER PLATE R
カバープレート R
(1)
81 SM-1030601-SC SCREW M3X6
皿ねじ M3X6
(4)
82 401-17405 Y SENSOR DOG
Y センサドグ
(1)
83 SL-6030642-TN SCREW M3 L=6
座金付き六角穴ボルト M 3 L =6
(2)
84 E5314-723-000 Y BELT CONNECTER Y ベルトコネクタ (1)
85 SL-6031092-TN SCREW M3 L=10
座金付き六角穴ボルト M 3 L =10
(2)
86 E1317-726-000 Y BELT STOPPER
Y ベルト押え
(1)
87 SL-6031042-TN SCREW M3 L=10
座金付き六角穴ボルト M 3 L =10
(4)
88 SL-6031092-TN SCREW
座金付き六角穴ボルト
4

- 17 -
9. Y UNIT (4)
Y ユニット(4)
7
7
1
1
2
2
8
8
36
5
4
6
6
5
4
10
10
11
11
12
12
13
13
14
14
18
19
19
20
21
17
22
23
23
17
20
21
19
19
18
23
22
23
25
26
27
28
29
29
30
31
31
25
26
27
28
29
29
30
24
16
32
16
32
3
3
34
35
36
37
37
38
39
40
40
33
40
36
39
38
40
36
34
35
33
37
37
41
46
47
48
49
50
50
51
51
52
52
45
15
44
43
53
53
45
48
47
51
50
50
49
52
15
43
44
54
54
9
9
57
58
59
63
64
66
67
56
55
75
71
72
70
81
76
77
79
80
69
61
60
74
73
A
B
41
A
24
C
C
B
46
42
83
78
82
65
62
68