IPC-TM-650 EN 2022 试验方法-- - 第445页
Figure 3 Simplified Automated Permittivity T est Setup Figure 3A A utomated Network Analyzer for Permittivity T est Setup IPC-TM-650 Page 13 o f 25 Number 2.5.5.5 Subject Stripline Test for Permittivity and Loss Tangent (…

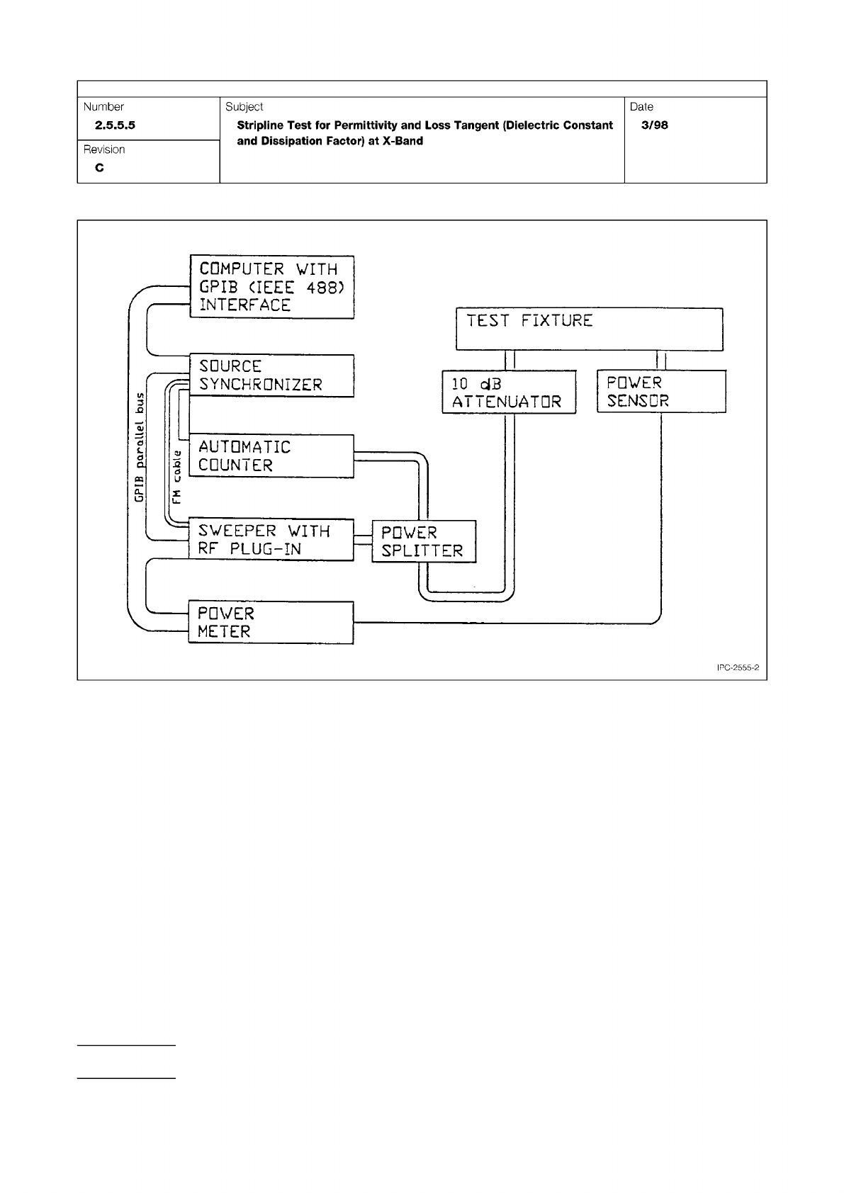
Figure 2 Automated Permittivity Test Setup
IPC-TM-650
Page 12 of 25
AUTOMATIC
COUNTER
SWEEPER
WITH
RF
PLUG-IN
SOURCE
SYNCHRONIZER
II
POWER
SPLITTER
IPC-2555-2
10
dB
ATTENUATOR
PDVER
SENSOR
POWER
METER
COMPUTER
WITH
GPIB
〈IEEE
488)
INTERFACE
TEST
FIXTURE
Number
2.5.5.5
Subject
Stripline
Test
for
Permittivity
and
Loss
Tangent
(Dielectric
Constant
and
Dissipation
Factor)
at
X-Band
Date
3/98
Revision
C
snq
fod

Figure 3 Simplified Automated Permittivity Test Setup
Figure 3A Automated Network Analyzer for Permittivity Test Setup
IPC-TM-650
Page 13 of 25
Number
2.5.5.5
Subject
Stripline
Test
for
Permittivity
and
Loss
Tangent
(Dielectric
Constant
and
Dissipation
Factor)
at
X-Band
Date
3/98
Revision
C
<7=
COMPUTER
WITH
GP
旧
(IEEE
488)
INTERFACE
SYNTHESIZED
CW
GENERATOR
HP
8671B
OR
HP
8673E
POWER
METER
TEST
FIXTURE
II
1
1
10
dB
ATTENUATOR
POWER
SENSOR
IPC-2555-3
COMPUTER
WITH
sf
GP
旧
(
IEEE
488)
2
INTERFACE
虫
AUTOMATED
忌
J
NETWORK
ANALYZER
SCALAR
OR
VECTOR
TEST
FIXTURE
—
7
IPC-2555-3A

Figure 4 Generalized Resonator Pattern Card Showing Dimensions of Table 1 and Made of Laminate Matching the
Nominal Permittivity of Material to be Tested
Figure 5 Base Stripline Board with Copper Foil and Dielectric Matching the Nominal Permittivity of the Material to be
Tested
IPC-TM-650
Page 14 of 25
Number
2.5.5.5
Subject
Stripline
Test
for
Permittivity
and
Loss
Tangent
(Dielectric
Constant
and
Dissipation
Factor)
at
X-Band
Date
3/98
Revision
C
_L
6.35
Nominal
thickness
of
specimens
55.5
on
centers
4.78
H*—
15.89
76.2
3.4
diameter
holes,
4
places,
use
base
plate
as
template
Stripline
width
according
to
Table
1
Machine
0.025
less
than
minimum
thickness
specimen
11.1
area
left
clad
with
f
1
2.7
area
left
unmachined
17.5
―
B»-
O
G
IPC-2555-5