P-0215-001.pdf - 第133页

MODEL TIM-X100F/R 01 12-001 131 Fig. QC フィーダベース部 後側 FEEDER BASE SECTION-REAR

100%1 / 222
MEMO
MODEL TIM-X100F/R
0112-001
131
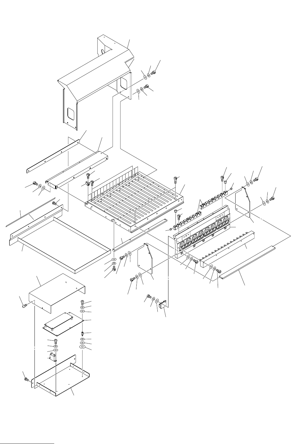
Fig. QCフィーダベース部 後側 FEEDER BASE SECTION-REAR
MODEL TIM-X100F/R
0112-001
132
Fig.QC-4
TIM-X100
322
304
305
348
307
328
343
315
331
332
333
301
303
316
330
306
310
339
349
309
339
310
349
341
342
344
313
331
332
334
308
312
326
327
329
336
337
340
314
341
342
344
331
313
332
334
399
398
397
371
336
337
338
347
396
398
399
351
352
398
399
321
348
396
398
399
363
331
332
334
331
332
333
395
フィーダベース部 後側 FEEDER BASE SECTION-REAR
Fig. QC-4 フィーダベース1 Feeder Base #1