INS-VIBFDR2-1.0S振动式管装供料器2使用说明书.pdf - 第11页
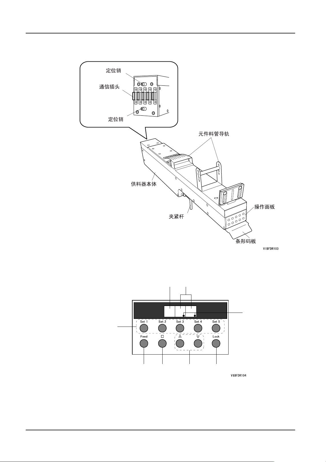
2. 各部分的名称和功能 INS-VIBFDR2-1.0S 4 振动式管装供料器 2 使用说明书 2.2 振动式管装供料器 2 本体 2.2.1 操作面板 4 56 7 8 1 2 3 EJH1T5Ro EJH1T5Ro Downloaded at 2019/06/26 15:06:184 by 343B3027 DL#FQeRJzNl

INS-VIBFDR2-1.0S 2. 各部分的名称和功能
振动式管装供料器 2 使用说明书 3
2. 各部分的名称和功能
2.1 Kit 内容
No. 名称 备注
1 振动式管装供料器 2 本体 -
2盒子 -
3 顶板 参照"2.3顶板规格"
4 螺钉 (安装顶板用) 长 5 根,短 5 根
5 专用螺钉用螺丝刀 -
2
3
1
5
4
EJH1T5Ro
EJH1T5Ro
Downloaded at 2019/06/26 15:06:184 by 343B3027 DL#FQeRJzNl

2. 各部分的名称和功能 INS-VIBFDR2-1.0S
4 振动式管装供料器 2 使用说明书
2.2 振动式管装供料器 2 本体
2.2.1 操作面板
4
56 7 8
1
2
3
EJH1T5Ro
EJH1T5Ro
Downloaded at 2019/06/26 15:06:184 by 343B3027 DL#FQeRJzNl

INS-VIBFDR2-1.0S 2. 各部分的名称和功能
振动式管装供料器 2 使用说明书 5
号码 名称 说明
1 模式显示 (LED) 以记号表示模式和参数类型。
2 数字显示 (LED) 以数字表示各种参数值和程序号码等。(00 ~ 99)
3 圆点显示 (LED) 供料器处在振动时亮灯。
4 Set 按钮 (1 ~ 5) 按下这些按钮,复位各个料槽。
5 Feed 按钮 以规定时间振动供料器,传送元件。
6 模式按钮 切换模式。
7 增加 / 减少按钮 选择各种参数值和程序号码等。(持续按住时,快速
显示数值。)
8 Lock 按钮 与 Set 按钮一起同时按下,就会以电源切断状态的
方式固定各个料槽。
*
*: Service Mode
EJH1T5Ro
EJH1T5Ro
Downloaded at 2019/06/26 15:06:184 by 343B3027 DL#FQeRJzNl