机器设置与安装.pdf - 第48页

MSR 服务手册 4.1 主体 部 4.1-3 D14SCC- W 0-100-A0 4.1.2 贴装、吸着上下时序调 整 贴装、吸着上 下时序调 整 贴装、吸着上 下时序调 整 贴装、吸着上 下时序调 整 相关 Unit No. 1046714000 AB 贴 装、吸着上下 时 序 调 整 = 准备 准备 准备 准备 = 1. 磁性表架 2. 百分表 ► 主轴原点 主轴原点 主轴原点 主轴原点 1. 打开电源进行返回原点 。 2. 将…

100%1 / 234
MSR
服务手册
4.1 主体
D14SCC-W0-100-A0 4.1-2
后部驱动部同步皮带的更换
后部驱动部同步皮带的更换后部驱动部同步皮带的更换
后部驱动部同步皮带的更换
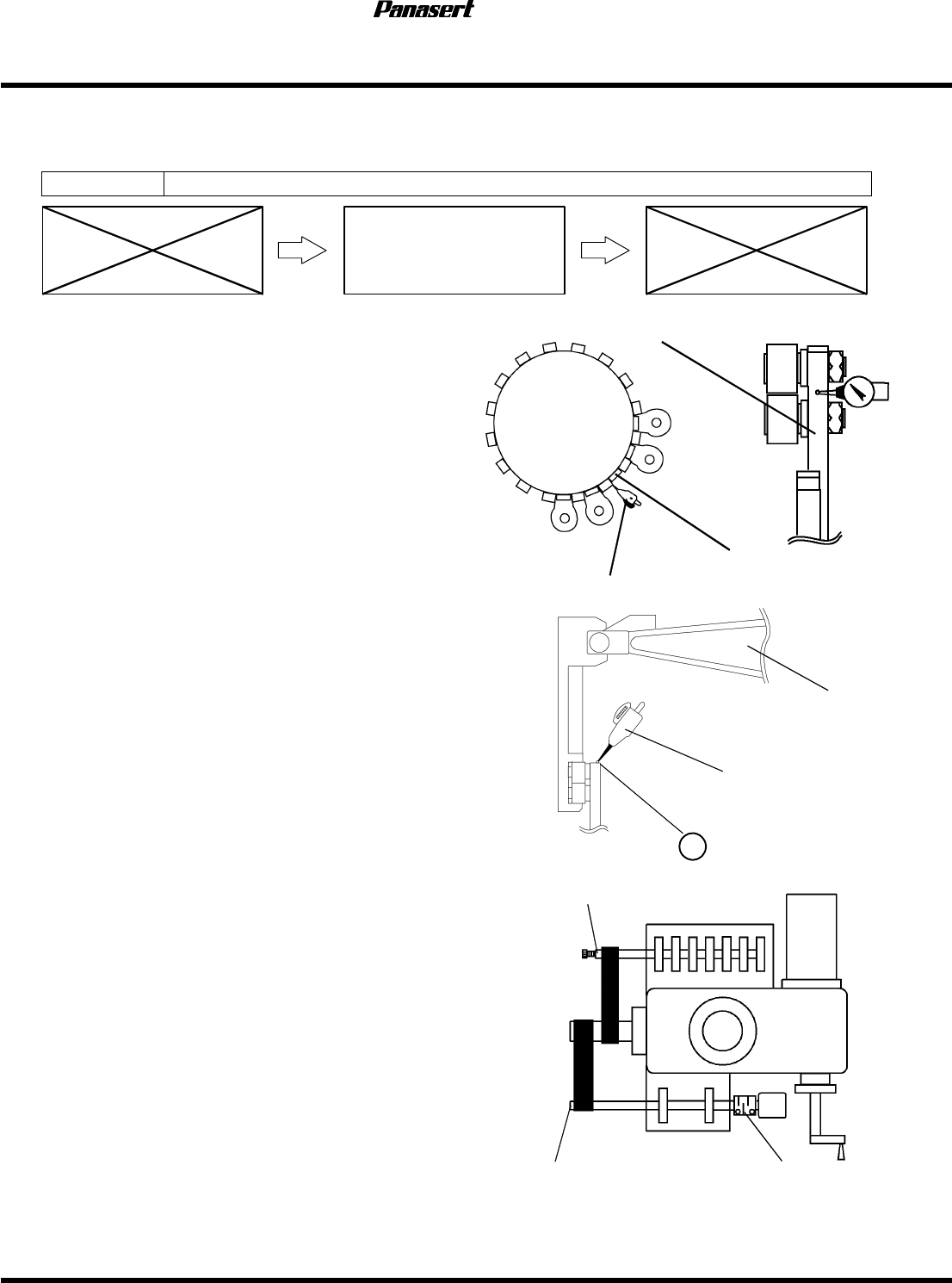
1. 旋松同步皮带张力轮的螺栓。
2. 更换同步皮带。
3. 旋紧同步皮带张力轮的螺栓。
4. 检查时序。
=参考
参考参考
参考=
请参照“贴装,吸着时序的调整”
5. 将下列数值输入声波式带张力计。
皮带宽 50
皮带跨距:420
单位重量:0.52
6. 用声波式带张力计确认同步皮带张力。
=规格值
规格值规格值
规格值=
同步皮带张力:637.4~735.5N
7. 在规格值以外时重复6.~8.操作
8. 安装同步皮带外罩。
9. 安装站位12910的吸嘴单元。
声波式
带张
带张
螺栓
MSR
服务手册
4.1 主体
4.1-3 D14SCC-W0-100-A0
4.1.2 贴装、吸着上下时序调
贴装、吸着上下时序调贴装、吸着上下时序调
贴装、吸着上下时序调
相关 Unit No.
1046714000AB
装、吸着上下
=准备
准备准备
准备=
1. 磁性表架
2. 百分表
主轴原点
主轴原点主轴原点
主轴原点
1. 打开电源进行返回原点
2. 将磁性表架安装于架台上。
3. 将主操作盘的“SERVO MOTOR”(伺服电机)
置于OFF
4. 将百分表表针接触在吸嘴装置的LM轨侧面。
5. 转动手轮同时注意百分表的表针,测定主轴的移动
6. 确认百分表的表针移动0.01mm的位置。
=规格值
规格值规格值
规格值=
主轴原点:0±1°
贴装上下时序的调整
贴装上下时序的调整贴装上下时序的调整
贴装上下时序的调整
1. 打开电源进行返回原点
2. 将磁性表架安装于架台上。
3. 将主操作盘的“SERVO MOTOR”(伺服电机)
置于OFF
4. 旋转手轮,使循环计时器位于276°。
5. 将百分表表针置于A部。
6. 转动手轮同时确认百分表针移动0.01mm的位置。
=规格值
规格值规格值
规格值=
循环计时器:277±1°
7. 在规格值以外时,旋松贴装轴编码器的联轴节。
8. 旋松机械锁(A)释放凸轮轴。
9. 36mm的扳手转动凸轮轴,在百分表指针摆动的位
置(0.01mm)带紧机械锁A)。
=提示
提示提示
提示=
请确认滑动块的上升时序
10. 旋紧联轴节固定编码器。
11. 再次确认上升时序。
12. 旋紧机械锁(A)。
装、吸着上下控制杆
百分表
联轴节
机械
A
机械
B
A
百分表
LM
导轨
LM
导轨
MSR
服务手册
4.1 主体
D14SCC-W0-100-A0 4.1-4
吸着上下时序的调整
吸着上下时序的调整吸着上下时序的调整
吸着上下时序的调整
1. 打开电源进行返回原点
2. 将磁性表架安装于架台上。
3. 将主操作盘的“SERVO MOTOR”(伺服电机)
置于OFF
4. 旋转手轮,使循环计时器位于243°。
5. 将百分表表针置于贴装·吸着上下控制杆的下面。
6. 转动手轮同时确认百分表移动0.01mm的位置。
=规格值
规格值规格值
规格值=
循环计时器:244±1°
7. 在规格值以外时,旋松机械锁(B释放凸轮轴。
8. 用六角扳手转动凸轮轴,在百分表指针摆动的位置
0.01mm)带紧机械锁(B)。
=提示
提示提示
提示=
请确认滑块的上升时序。
9. 再次确认上升时序。
10. 旋紧机械锁(B)。
CT编码器·
编码器·编码器·
编码器·H轴补正的调整
轴补正的调整轴补正的调整
轴补正的调整
1. 将百分表抵于主轴装置的套管轴部位。
2. 在套管轴转动开始处固定手轮。
3. 旋松联轴节。
4. H轴补正值(例:160°)从360°中减除。
=提示
提示提示
提示=
例:360160=200
5. 转动编码器轴杆,在显示为200°的位置按下
RESET〉(复位)键。
6. 旋紧并固定联轴节。
联轴节
机械
A
机械
B
·
吸着上下控制杆
百分表
编码