机器设置与安装.pdf - 第60页
MSR 服务手册 4.6 搬送 作业部 4.6-1 D14SCC- W 4-200-A0 4.6 搬送作业部 搬送作业部 搬送作业部 搬送作业部 Sentence N o. D14 SCC-W 4-200-A0 4.6.1 XY 工 作台固定导 轨平行度的 调整 工作台固定导 轨平行度的 调整 工作台固定导 轨平行度的 调整 工作台固定导 轨平行度的 调整 相关 Unit No. 1046748200 AD1 XY 工作台固定 导轨 平…

MSR
服务手册
4.5 下部定位
D14SCC-W4-000-A0 4.5-2
调谐传动
控制杆
机械
锁
块规
(
1.6mm
)
平行
销

MSR
服务手册
4.6 搬送作业部
4.6-1 D14SCC-W4-200-A0
4.6 搬送作业部
搬送作业部搬送作业部
搬送作业部
Sentence No. D14SCC-W4-200-A0
4.6.1 XY工作台固定导轨平行度的调整
工作台固定导轨平行度的调整工作台固定导轨平行度的调整
工作台固定导轨平行度的调整
相关 Unit No.
1046748200AD1
XY
工作台固定导轨平行度
的调整
4.6.2 XY
工作台可动导轨
平行度的调整
=准备
准备准备
准备=
1. 百分表
2. 磁性表架
►XY工作台固定导轨平行度的调整
工作台固定导轨平行度的调整工作台固定导轨平行度的调整
工作台固定导轨平行度的调整
1. 打开电源,进行返回原点。
2. 将副操作盘的“XY TABLE MOUNT POS MOVE”
(XY工作台贴装高度位置移动)置于ON。
=确认
确认确认
确认=
请确认XY工作台比原点位置略有上升。
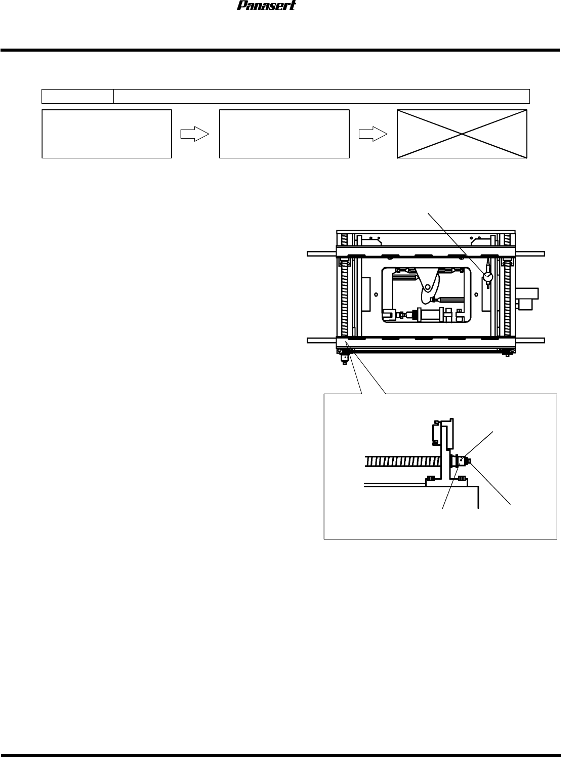
3. 将磁性表架装设于上部框架,将百分表针置于
固定导轨侧面的D处。
4. 将百分表置零(基准)。
5. 检查AD间的平行度。
=规格值
规格值规格值
规格值=
平行度:0.05mm以内
6. 在规格值之外时将百分表抵于固定导轨侧面的D处。
7. 旋松螺栓(4根)。
8. 观察百分表的值,调整左托架的位置。
9. 旋紧螺栓。.
10. 再次检查平行度。
A
百分表
可
动导轨
固定
导轨
XY
工作台
B
CD
E
F
G
H
螺栓
左托架
百分表
固定
导轨

MSR
服务手册
4.6 搬送作业部
D14SCC-W4-200-A0 4.6-2
4.6.2 XY工作台可动导轨平行度的调整
工作台可动导轨平行度的调整工作台可动导轨平行度的调整
工作台可动导轨平行度的调整
相关 Unit No.
1046748200AD1
XY
工作台可动导轨
平行度的调整
4.6.1 XY
工作台固定导
轨平行度的调整
=准备
准备准备
准备=
1. 百分表
2. 磁性表架
►XY工作台可动导轨平行度的调整
工作台可动导轨平行度的调整工作台可动导轨平行度的调整
工作台可动导轨平行度的调整
1. 打开电源,进行返回原点。
2. 将副操作盘的“XY TABLE MOUNT POS MOVE”
(XY工作台贴装高度位置的移动)置于ON。
=确认
确认确认
确认=
请确认XY工作台比原点位置略有上升。
3. 将磁性表架装设于上部框架,将百分表表针置于
可动导轨侧面的E处。
4. 将百分表置零(基准)。
5. 检查EH间的平行度。
=规格值
规格值规格值
规格值=
平行度:0.2mm以内P
6. 在规格值之外时,旋松螺栓和固定螺钉。
7. 牢固固定同步皮带轮同时转动左螺旋丝杠进行调整。
8. 旋紧固定螺钉。
9. 旋紧螺栓。
10. 再次检查平行度。
11. 手动操作可动导轨确认其动作顺畅。
百分表
可
动导轨
固定
导轨
( XY
工作台
)
A
B C
D
E
F G
H
螺栓
固定螺
钉
同步皮带轮
左螺旋
丝
杠