4OM-1434-004_w.pdf - 第252页
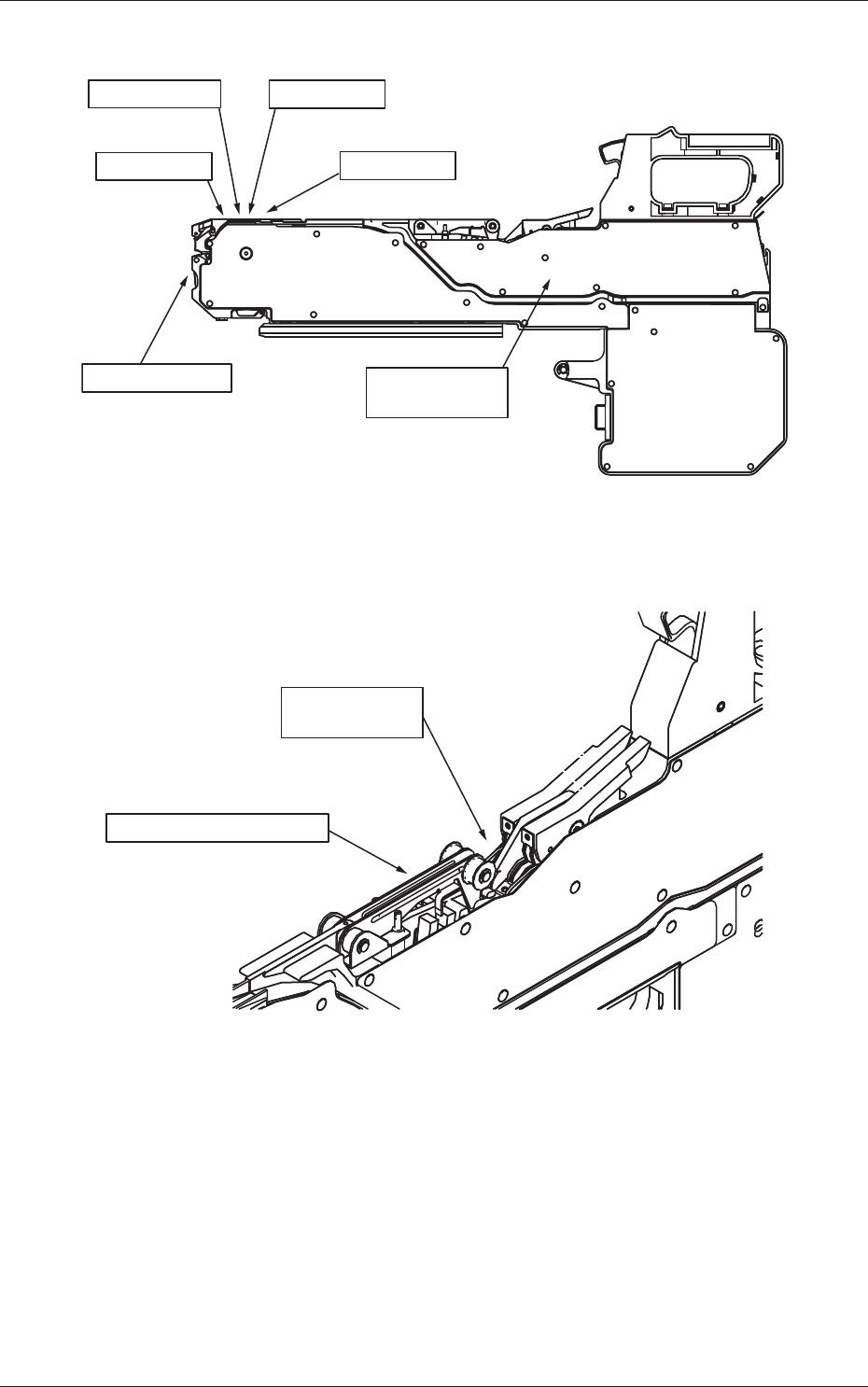
5 - 7 0710-001 Fig.4E5 Fig.4E6 2.2 不同现象下的故障处理 链轮齿 吸取位置 受污、沾附元件 抑制器 悬浮、变形 向内侧沾附 元件 前扣 变形 定位、位置偏离 剥离部 间隙、变形、受污 封口盖带 上卷齿轮 受污、沾附元件 封口盖带 上卷齿轮 受污、沾附元件 封口盖带的连接 被正确安装

5-6
0710-001
(2) 在特定送料器编号上多次发生吸取不良的情况
OK
OK
OK
NG
NG
Fig.4E4
Note
(a) 带式送料器的检查要点请参照下一页的 Fig.4E5、Fig.4E6。
(b) 在更换带式送料器与元件时,在“送料器补正值 B”里有前
一个元件的数据。
更换机种后,请确认吸取位置,清除“送料器补正值 B”的值。
2.2 不同现象下的故障处理
在特定送料器编号
上发生多次吸取异常
送料器的检查
Note(a)
修正
调整
与元件数据库
的对照
Note(b)
“送料器补正值 (B)”
的确认
运行确认

5-7
0710-001
Fig.4E5
Fig.4E6
2.2 不同现象下的故障处理
链轮齿
吸取位置
受污、沾附元件
抑制器
悬浮、变形
向内侧沾附
元件
前扣
变形
定位、位置偏离
剥离部
间隙、变形、受污
封口盖带
上卷齿轮
受污、沾附元件
封口盖带
上卷齿轮
受污、沾附元件
封口盖带的连接
被正确安装

5-8
0710-001
3. 有关贴装不良的故障处理
3.1 贴装不良的原因与对策
(1) 贴装位置偏离与贴装角度偏离的情况
(1-1) 掌握发生情况
贴装位置偏离或贴装角度偏离可能发生在工序 C 与工序 D ~ E 中。
请参照 Fig.4E1。
分辨方法是,在沾附有两面胶带的线路板上贴装元件进行确认的
方法。
在两面胶带上发生偏离时,就是在工序 C 中发生的。若没有发生
位置偏离时则可能在工序 D 以后发生。
(1-2) 在工序 C 中发生的情况
识别元件后因安装头移动或者贴装角度补正旋转发生偏离时,原
因主要分为两种。
•
真空吸取力低下
•
吸嘴 ( 安装头 ) 移动时的震动或冲击
发生这些异常时,最先受到影响的是如 Fig.4E7 的吸取不稳定的
元件。
在有生产实绩的这种元件上开始出现位置偏离时,请进行关于上
述原因的确认。
就真空吸取力进行吸嘴或者真空线路的确认。
就吸嘴移动时的震动,请在工序 C 的范围内调查适当部位。
Fig. 4E7 易发生贴装位置偏离的元件示例 (1)
Note
元件上面有突起时,吸嘴下面易磨损,有时在元件识别照明教
示中发生异常。
3. 有关贴装不良的故障处理
元件上面为球状或突
起,易滑动电阻器、
线圈、LED 等
因电极膨胀真空漏电
的电容器
电位器等的吸取
不稳定元件