RS-1_RS-1XL-Rev11 - 第115页
- 108 - REF.NO NOTE PART NO D E S C R I P T I O N 品 名 Qty 1 400-73709 CONVEYOR_BELT_150 コンベアベルト150 4 2 402-01092 SENSOR_BR_AWC2 センサBR_AWC2 2 3 401-99998 STEPPING MOTOR ステッピングモータ 1 4 401-99981 TIMING_BELT_AWC タイミングベルトAWC …

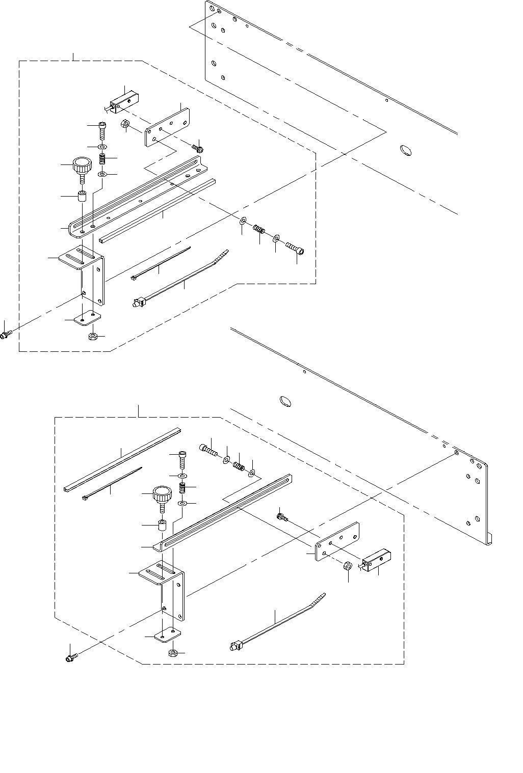
- 107 -
54.PWB CONVEYOR COMPONENTS (14) (TYPE XL)
基板搬送関係(14)(XL 仕様)
13
2
2
3
4
7
10
9
11
12
14
14
15
15
16
16
16
16
16
16
17
18
19
22
1
1
1
1
20
20
22
22
22
8
5
6
20
20
19
19
19
21

- 108 -
REF.NO NOTE PART NO D E S C R I P T I O N
品 名
Qty
1 400-73709 CONVEYOR_BELT_150
コンベアベルト150
4
2 402-01092 SENSOR_BR_AWC2
センサBR_AWC2
2
3 401-99998 STEPPING MOTOR
ステッピングモータ
1
4 401-99981 TIMING_BELT_AWC
タイミングベルトAWC
1
5 GAW-02121000 PULLEY
回転プーリ
1
6 SM-8050812-TP SCREW M5X8
止めねじ M5X0.8 L=8
2
7 401-52119 PULLEY (F) TIMING
タイミング プーリ(F)
1
8 SM-8030612-TP SET SCREW
止めねじ
2
9 401-61237 BU PIN RECEIVE SENS ASM
BUピン受光センサ組
1
10 401-61236 BU PIN EMISSION SENS ASM
BUピン投光センサ組
1
11 401-99980 AWC_MOTOR_BR
AWCモータブラケット
1
12 SL-6051492-TN SCREW M5 L=14
座金付き六角穴ボルト M5 L=14
2
13 SL-6041242-TN BOLT
座金付き六角穴ボルト
4
14 SL-4031291-SC SCREW M3X12
なべ小ねじセムス M3X0.5 L=12
4
15 SL-6030892-TN SCREW M3 L=8
座金付き六角穴ボルト M3 L=8
4
16 E2046-725-000 PWB INNER
PWBインナ
6
17 401-83031 PWB_INNER_SL
PWBインナSL
1
18 401-83034 PWB_INNER_SR
PWBインナSR
1
19 SL-4031091-SC SCREW M3 L=10
座金付きなべ小ねじ M3 L=10
8
20 SL-6031092-TN SCREW
座金付き六角穴ボルト
8
21 401-99982 COLLAR_8_10
カラー8_10
1
22 401-13952 CONVEYOR_BELT_C_M
コンベアベルトC_M
4

- 109 -
55.PWB CONVEYOR COMPONENTS (15) (TYPE XL)
基板搬送関係(15)(XL 仕様)
32
3
17
1
33
33
31
16
15
30
25
26
11
11
7
19
26
26
25
24
23
22
20
21
26
11
11
10
10
22
9
7
8
4
2
27
12
6
28
27
18
13
12
29
14
5