RS-1_RS-1XL-Rev11 - 第87页
- 80 - REF.NO NOTE PART NO D E S C R I P T I O N 品 名 Qty 1 401-86607 UPPER_EDGE_SUPPORT_ ROLLER アッパーエッジサポート ローラ 1 2 401-86608 ROLLER_BASE ローラーベース 1 3 SL-6062592-TN SCREW M6 L=25 座金付き六角穴ボルト M6 L=25 4 4 401-86610 SPACER_R …

- 79 -
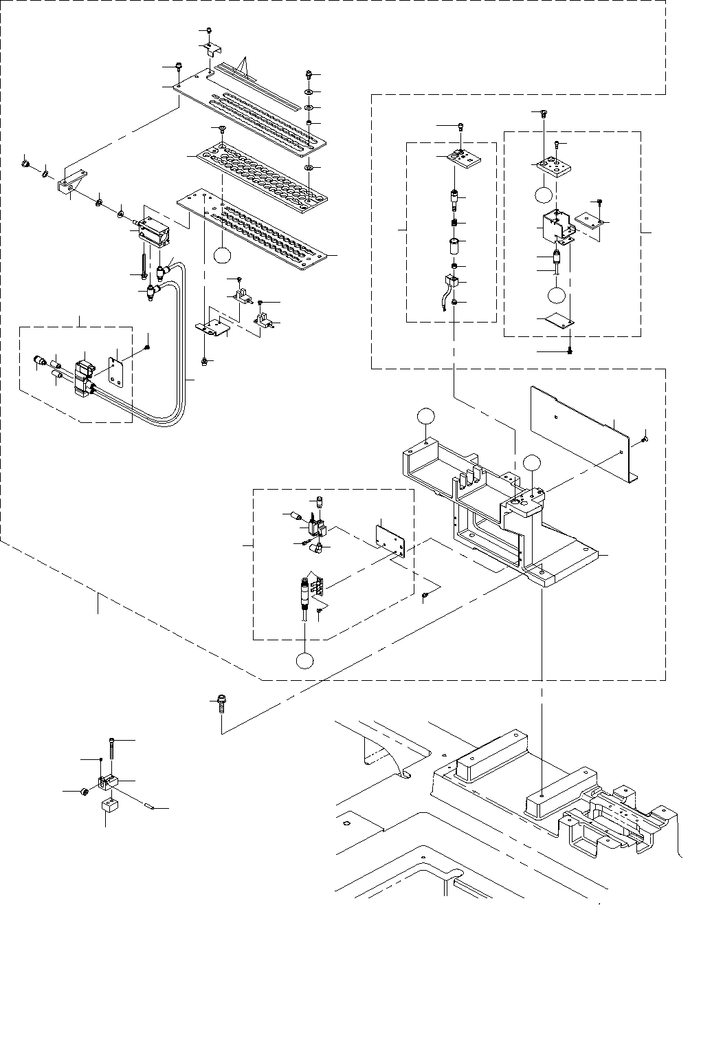
40.ATC & CAL BLOCK COMPONENTS (2) (TYPE XL)
ATC・CAL ブロック関係(2)(XL 仕様)
60
63
51
54
55
A
68
59
66
61
62
65
53
58
57
56
52
70
5
3
41
41
38
37
36
35
47
64
30
31
A
28
13
13
14
12
8
15
11
43
7
10
25
26
27
29
32
24
21
34
33
23
22
22
20
18
17
19
39
40
42
44
45
46
48
49
B
B
10
9
16
50
C
C
67
69
6
71
73
72
1
4
2

- 80 -
REF.NO NOTE PART NO D E S C R I P T I O N
品 名
Qty
1 401-86607 UPPER_EDGE_SUPPORT_ROLLER
アッパーエッジサポートローラ
1
2 401-86608 ROLLER_BASE
ローラーベース
1
3 SL-6062592-TN SCREW M6 L=25
座金付き六角穴ボルト M6 L=25
4
4 401-86610 SPACER_R
スペーサーR
1
5 401-83478 ATC_RS1_ASM
ATC_RS1組
1
6 SL-6030692-TN SCREW M3 L=6
座金付き六角穴ボルト M3 L=6
(2)
7 401-82955 ATC_BASE_RS1
ATCベースRS1
(1)
8 SL-4030891-SC SCREW M3 L=8
座金付きなべ小ねじ M3 L=8
(2)
9 401-82965 SENSOR_BR_RS1
センサブラケットRS1
(1)
10 PC-0105080-00 SPEED CONTROLLER
スピードコントローラ
(2)
11 401-46937 ATC_SV_20VA_ASM
ATC SV 20VA組
(1)
12 PV-1505380-00 5-PORT SOLENOID VALVE
5ポート電磁弁切換弁
(1)
13 PX-0505010-00 SILENCER
消音器
(2)
14 PJ-2100061-00 HALF UNION
ハーフユニオン
(1)
15 401-28203 ATC_SV_BRKT
ATCSVブラケット
(1)
16 SL-6040892-TN SCREW M4 L=8
座金付きなべ小ねじ M4 L=8
(2)
17 401-82959 ATC_BASE_PLATE_RS1
ATCベースプレートRS1
(1)
18 401-82958 SLIDE_BASE_RS1
スライドベースRS1
(1)
19 SM-1051452-TN PLATE SCREW M5 L=14
皿ねじ M5 L=14
(4)
20 401-51721 GUIDE_SPACER
ガイドスペーサ
(2)
21 401-82957 SLIDE_PLATE_RS1
スライドプレートRS1
(1)
22 E7308-700-000 THRUST WASHER
スラストワッシャ
(4)
23 WP-0431005-SP PLAIN WASHER
平座金
(2)
24 401-83481 CAL_VALVE_RS1_ASM
CALバルブRS1組
(1)
25 PV-1305410-00 3-PORT SOLENOID VALVE
3ポート電磁弁切換弁
(1)
26 PX-0505010-00 SILENCER
消音器
(1)
27 PJ-3010405-05 HALF UNION
ハーフユニオン
(1)
28 SM-6031202-TN SCREW M3X12
六角穴ボルト M3X12
(2)
29 401-82962 CAL_VALVE_BR_RS1
CALバルブブラケットRS1
(1)
30 PF-0100030-A0 AIR SUCTION FILTER
エア サクション フィルタ
(1)
31 SM-1030601-SC SCREW M3X6
皿ねじ M3X6
(2)
32 PJ-3040605-02 ELBOW UNION 6XM5
エルボユニオン 6XM5
(1)
33 400-45978 SENSOR DOG
センサドグ
(1)
34 SL-6030692-TN SCREW M3 L=6
座金付き六角穴ボルト M3 L=6
(1)
35 400-01286 ATC SPACER RUBBER
ATCスペーサゴム
(1)
36 B2107-816-000 WASHER
座金
(1)
37 GLA-02335000 CLAMP WASHER
クランプワッシャー
(1)
38 E3528-729-000 ATC JOINT
ATCジョイント
(1)
39 401-29062 PHOTOMICRO SENSOR ASM
フォトマイクロセンサ組
(1)
40 401-29062 PHOTOMICRO SENSOR ASM
フォトマイクロセンサ組
(1)
41 SM-4030501-SC SCREW M3X0.5 L=5
なべ小ねじ M3X0.5 L=5
(4)
42 401-82966 AIR_CYLINDER_6STROKE
エアシリンダ6ストローク
(1)
43 BT-0400251-EA URETHANE TUBE BLUE 4X2.5
ポリウレタン チューブ 青 4X2.5
(1.5)
44 401-82970 ATC_LABEL_RS1
ATCラベルRS1
(1)
45 401-82969 CHIP_BOX_HANGER_RS1
チップボックスハンガーRS1
(1)
46 SM-1040801-SN SCREW M4X0.7 L=8
皿ねじ M4 L=8
(2)
47 SL-6041092-TN SCREW M4 L=10
座金付き六角穴ボルト M4 L=10
(4)
48 401-82960 SLIDER_ANGLE_RS1
スライダアングルRS1
(1)
49 SL-6041042-TN BOLT
座金付き六角穴ボルト
(2)
50 SL-6044092-TN SCREW
座金付き六角穴ボルト
(2)
51 401-83479 CAL_BLOCK_RS1_ASM
CALブロックRS1組
1
52 PJ-3010405-05 HALF UNION
ハーフユニオン
(1)
53 400-07376 CALBLOCK PCB ASM
CALブロック基板組
(1)
54 401-82961 CAL_PLATE_RS1
CALプレートRS1
(1)
55 BT-0400251-EB URETHANE HOSE, BLACK
ウレタンホース 黒
(0.3)
56 L202E-521-000 CAL SIDE COVER
CALサイドカバー
(1)
57 SM-6030602-TN SCREW M3X6
六角穴ボルト M3X6
(2)
58 L202E-621-000 CAL DIFFUSER
CALディフューザ
(1)
59 SL-4030691-SC SCREW M3 L=6
座金付きなべ小ねじ M3 L=6
(2)
60 401-83480 NOZZLE_CAL_PIECE_ASM
ノズルCALピース組
1
61 401-82964 CAL_POST_HOUSING_RS1
CALハウジングRS1
(1)
62 NM-6050001-SC NUT M5X0.8 TYPE1
六角ナット M5X0.8 1種
(1)
63 401-29080 AIR(N) SENSOR CABLE ASM
エア(N) センサケーブル組
(1)
64 PJ-0205000-02 PLUG
プラグ
(1)
65 401-82963 CAL_POST_RS1
CALポストRS1
(1)
66 L203E-121-000 NOZZLE CAL PIECE OUTER SP
ノズルCALピーススプリング
(1)
67 401-82976 CAL_SUB_PLATE_RS1_CD
CALサブプレートRS1_CD
(1)
68 SL-4030891-SC SCREW M3 L=8
座金付きなべ小ねじ M3 L=8
2
69 SM-6040802-TN SCREW M4X0.7 L=8
六角穴ボルト M4X0.7 L=8
2
70 SM-1051452-TN PLATE SCREW M5 L=14
皿ねじ M5 L=14
2
71 401-93605 PARALLEL_PIN_D4X16
平行ピン 4X16
1
72 SM-8030302-TP SCREW M3X0.5 L=3
止めねじ M3X0.5 L=3
2
73 SM-6043552-TN SCREW M4 L=35
六角穴付きボルト
2

- 81 -
41.PWB CONVEYOR COMPONENTS (1)
基板搬送関係(1)
1
40
12
38
39
86
12
D
C
B
A
13
13
42
41
C
17
11
32
5
6
7
9
7
24
D
B
21
20
33
11
2
2
2
11
2
11
10
8
8
8
8
9
4
3
43
45
50
49
52
49
47
47
51
50
53
49
54
49
47
48
47
51
49
49
46
52
48
23
25
28
28
31
31
31
31
29
34
35
30
30
30
20
33
21
36
36
22
22
27
26
18
37
A
19
68
49
50
51
49
50
51
52
52
53
49
49
49
47
48
47
54
46
47
48
47
49
57
58
67
65
62
64
63
59
14
63
62
64
62
63
64
63
62
64
63
62
70
63
62
70
63
62
64
44
60
61
60
59
61
66
67
66
65
67
66
65
67
65
66
67
65
66
67
66
65
67
66
65
67
66
65
56
14
81
80
74
73
75
78
77
76
74
73
75
74
73
75
74
73
75
73
74
75
74
73
75
74
73
75
74
73
75
84
82
85
72
85
82
72
79
78
77
76
78
77
76
78
77
76
78
77
76
78
76
77
78
77
76
78
77
76
83
44
5
5
7
1
27
22
36
27
22
36
27
63
62
64
69
15
15
16