RS-1_RS-1XL-Rev11 - 第99页
- 92 - REF.NO NOTE PART NO D E S C R I P T I O N 品 名 Qty 1 401-83552 STOPPER_ASM ストッパ組 1 2 HX-0031400-00 SPIRAL TABE スパイラル チューブ (0.3) 3 401-83036 STOPPER_FRAME_650 ストッパフレーム650 (1) 4 WP-0431005-SP PLAIN WASHER 平座金 (1) 5 S…

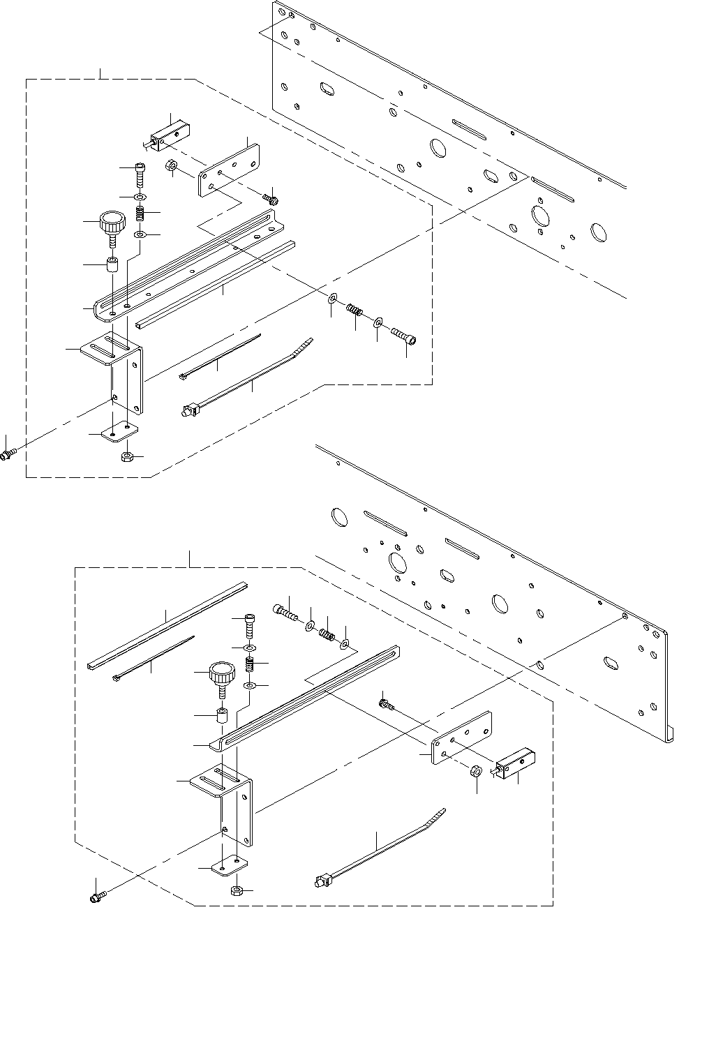
- 91 -
46.PWB CONVEYOR COMPONENTS (6)
基板搬送関係(6)
14
27
26
11
8
7
6
1
19
20
20
21
22
24
16
17
28
18
9
10
13
13
3
2
12
4
25
24
23
5
15

- 92 -
REF.NO NOTE PART NO D E S C R I P T I O N
品 名
Qty
1 401-83552 STOPPER_ASM
ストッパ組
1
2 HX-0031400-00 SPIRAL TABE
スパイラル チューブ
(0.3)
3 401-83036 STOPPER_FRAME_650
ストッパフレーム650
(1)
4 WP-0431005-SP PLAIN WASHER
平座金
(1)
5 SL-4030891-SC SCREW M3 L=8
座金付きなべ小ねじ M3 L=8
(1)
6 400-00910 STOPPER PIN
ストッパピン
(1)
7 RE-0200000-K0 E-RING 2
E形止め輪 2
(1)
8 WP-0320501-SC WASHER M3
平座金 3.2X7X0.5
(1)
9 400-00911 STOPER CONNECT
ストッパコネクタ
(1)
10 PA-1002008-A0 AIR CYLINDER
エアシリンダ
(1)
11 SM-6031402-TN SCREW M3X0.5 L=14
六角穴ボルト M3X0.5 L=14
(2)
12 SM-1030601-SC SCREW M3X6
皿ねじ M3X6
(4)
13 PJ-3040405-11 ELBOW UNION
エルボユニオン
(2)
14 SL-6041292-TN SCREW M4 L=12
座金付き六角穴ボルト M4 L=12
(1)
15 L163E-521-000 HOLD PLATE
ホールド プレート
(1)
16 401-83035 STOPPER
ストッパ
(1)
17 401-83066 STOPPER_CHIP_650
ストッパチップ650
(1)
18 SM-0030401-SC SCREW M3 L=4
トラスねじ M3 L=4
(1)
19 SM-1031201-SC SCREW M3X0.5 L=12
皿小ねじ M3X0.5 L=12
(1)
20 E2039-721-000 WASHER A
スラストワッシャA
(2)
21 E2038-721-000 STOPPER COLLAR
ストッパカラー
(1)
22 WP-0330516-SC WASHER 3.3X8X0.5
平座金 3.3X8X0.5
(1)
23 HX-0034400-00 HARNESS PARTS
束線パーツ
(1)
24 NM-6030003-SC NUT M3
六角ナット M3
(2)
25 401-56968 STOPPER SENSOR ASM
ストッパセンサ組
(1)
26 PC-0124010-00 SPEED CONTROLLER
スピードコントローラ
(2)
27 BT-0400251-EA URETHANE TUBE BLUE 4X2.5
ポリウレタン チューブ 青 4X2.5
(0.5)
28 401-83070 BU_PIN_SENSOR_DOG
BUピンセンサドグ
(1)

- 93 -
47.PWB CONVEYOR COMPONENTS (7)
基板搬送関係(7)
32
3
17
1
33
33
31
16
15
30
25
26
11
11
7
19
26
26
25
24
23
22
20
21
26
11
11
10
10
22
9
7
8
4
2
27
12
6
28
27
18
13
12
29
14
5