P-0201-001.pdf - 第75页
0108-002 5-6 ㇱຠ⇟ภ ㇱ ຠ ฬ ⠨ PART No . P ART NAME REMARKS CT-3290TL-12,16,20,24 10 630 071 0748 ASSY,BRA CKET (TG-3260) 1 11 630 054 4800 BRA CKET 1 671TV-01B-001 12 630 070 7601 BRA CKE T(G RIP) 1 671TV-01B-002 12 -1 630…

0108-002
32mm ࠹ࡊࡈࠖ࠳ 32mm TAPE FEEDER
㧔ࠛࡦࡏࠬ࠹ࡊ↪㧕 (for Embossed Tape)
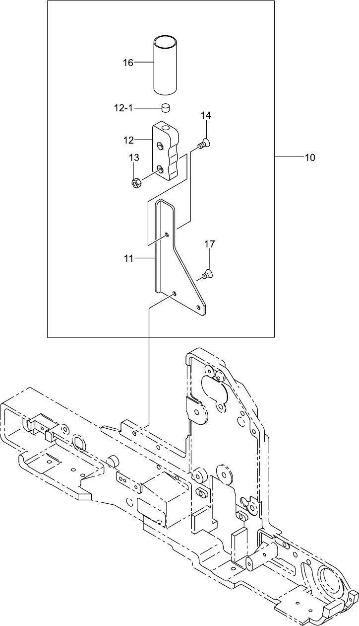
Fig. 5-6 TAG Assy TAG Assy
TG-3260 TG3260

0108-002
5-6
ㇱຠ⇟ภ ㇱ ຠ ฬ ⠨
PART No. PART NAME REMARKS
CT-3290TL-12,16,20,24
10 630 071 0748 ASSY,BRACKET(TG-3260) 1
11 630 054 4800 BRACKET 1 671TV-01B-001
12 630 070 7601 BRACKET(GRIP) 1 671TV-01B-002
12 -1 630 085 1526 UNIT,I/O 1 671TV-01H-001
13 411 054 8506 NUT HEX 4 1 M4 F
14 411 113 4708 SCR FLT 4X10 1 M4X10 FLT
16 630 041 6220 TUBE,WIRING 1 671TV-01H-002
17 411 140 7208 SCR FLT 4X6 2 M4X6 FLT
ᵈᗧ
NOTE
ᢙ㊂
Q'ty
⇟
ภ
Key No.
(BLACK)
BLACK

0003-001
32mm ࠹ࡊࡈࠖ࠳ 32mm TAPE FEEDER
㧔☼⌕࠹ࡊ↪㧕 (for Adhesive Tape)
Fig. 6-1 ࠞ࠶࠻ࡏ࠺ࠖㇱ Cassette Body Section