P-0201-001.pdf - 第17页
0209-001 ㇱຠ⇟ภ ㇱ ຠ ฬ ⠨ PART No . PART NAME REMARKS CT-0890S,L CT-0891S,L CT-0892S,L CT-0893S,L CT-0895S,L CT-0896S,L CT-0897S,L CT-0898S,L CT-0890TS,TL CT-0891TS,TL CT-0892TS,TL CT-0893TS,TL CT-0895TS,TL CT-0896TS,TL CT…

0209-003
1-2
ㇱຠ⇟ภ ㇱ ຠ ฬ ⠨
PART No. PART NAME REMARKS
CT-0890S,L
CT-0891S,L
CT-0892S,L
CT-0893S,L
CT-0895S,L
CT-0896S,L
CT-0897S,L
CT-0898S,L
CT-0890TS,TL
CT-0891TS,TL
CT-0892TS,TL
CT-0893TS,TL
CT-0895TS,TL
CT-0896TS,TL
CT-0897TS,TL
CT-0898TS,TL
83 630 111 6709 SPRING,TENSION 1 1 1 1 1 1 749D--02B-099
83 -1 411 152 8101 SCR TRS 3X6 1 1 1 1111111 1111 749B--01H-003
84 630 055 2164 PIN,GUIDE 111 1111111 1111 749B--01B-091
84-1 411 141 4008 WASHER V 4X9X0.8 111 1111111 1111 FW4
84 -2 411 141 2905 WASHER SPR 4 1 1 1 1111111 1111 SW4
84 -3 411 141 0307 NUT HEX 4 1 1 1 1111111 1111 M4
87 411 140 7208 SCR FLT 4X6 1111111111111111 M4X6 FLT
90 630 065 1676 COLLAR 1111111111111111 749B--01B-105
91 630 059 1262 LEVER(RATCHET ARM) 1111111111111111 749B--01B-047
92 630 039 5358 ROLLER 1111111111111111 749B--01B-060
93 630 039 5365 PIN,LOCATE 1111111111111111 749B--01B-061
94 411 141 2806 WASHER SPR 3 1111111111111111 SW3
95 411 140 9905 NUT HEX 3 1111111111111111 M3
96 630 065 7630 PIN,LOCATE 1111111111111111 749B--01B-049
100 411 141 3902 WASHER V 3X7X0.5 1111111111111111 FW3
101 630 055 3208 LEVER(RATCHET CLICK) 2222222222222222 749B--01B-016
102 630 054 3650 SPRING,TORSION 2222222222222222 749B--01B-054
103 630 067 9960 PIN,LOCATE 2222222222222222 749B--01B-053
106 411 152 8101 SCR TRS 3X6 1111111111111111 749B--01H-003
107 630 039 5310 SPRING,TENSION 1 1 1 1111111 1111 749B--01B-055
107 630 099 7453 SPRING,TENSION 1 1 749E--01B-055
108 630 064 0090 SPRING,TENSION 1 1 1 1111111 1111 749B--01B-056
108 630 043 3364 SPRING,TENSION 1 1 749E--01B-056
111 630 064 9659 DISK(REEL DRIVE) 1111111111111111 749B--01B-042
111 -1 630 065 7647 SPACER 1111111111111111 749B--01B-104
111 -2 630 010 5094 BEARING,RADIAL 2222222222222222 749B--01H-012
112 630 064 9673 PIN,LOCATE 1111111111111111 749B--01B-050
114 630 098 3319 ASSY,DISK 1 1 1 1111111 1111
114 630 098 5313 ASSY,DISK 1 1
114 -1 630 071 1714 DISK(REEL SOCKET ASSY) 1 1 1 1111111 1111
ᢙ㊂
Q'ty
ᵈᗧ
NOTE
⇟
ภ
Key No.

0209-001
ㇱຠ⇟ภ ㇱ ຠ ฬ ⠨
PART No. PART NAME REMARKS
CT-0890S,L
CT-0891S,L
CT-0892S,L
CT-0893S,L
CT-0895S,L
CT-0896S,L
CT-0897S,L
CT-0898S,L
CT-0890TS,TL
CT-0891TS,TL
CT-0892TS,TL
CT-0893TS,TL
CT-0895TS,TL
CT-0896TS,TL
CT-0897TS,TL
CT-0898TS,TL
114 -1 630 050 6891 DISK(REEL SOCKET ASSY) 1 1
114 -2 630 066 3693 SPRING,FLAT 1111111111111111 749B--01B-068
114 -3 630 037 3042 MACHINE SCREW 2222222222222222 749B--01H-002
ᢙ㊂
Q'ty
ᵈᗧ
NOTE
⇟
ภ
Key No.
1-2

0108-002
8mm ࠹ࡊࡈࠖ࠳ 8mm TAPE FEEDER
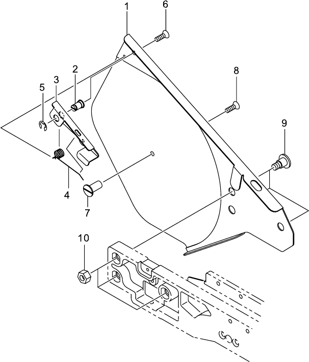
Fig. 1-3 ዊ࡞ࡎ࡞࠳ Small Reel Holder
RL-0861S RL-0861S